TOP
|
特許
|
意匠
|
商標
特許ウォッチ
Twitter
他の特許を見る
公開番号
2025151807
公報種別
公開特許公報(A)
公開日
2025-10-09
出願番号
2024053397
出願日
2024-03-28
発明の名称
ねじ締め機
出願人
日東精工株式会社
代理人
主分類
B23P
19/06 20060101AFI20251002BHJP(工作機械;他に分類されない金属加工)
要約
【課題】ねじ締め工具がねじと嵌合しやすいねじ締め機を提供する。
【解決手段】
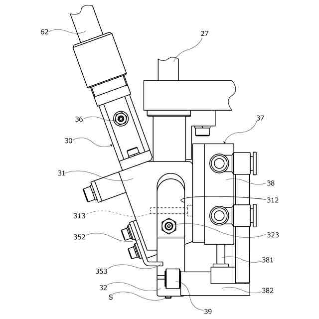
回転駆動源26の駆動を受けて回転するとともに、前後に往復移動可能なねじ締め工具28と、前記ねじ締め工具28の移動経路上に供給されたねじSを先端で保持可能な保持孔321が形成されるとともに開閉可能に分割形成された一対のチャック爪32,32を備えるチャックユニット30と、前記チャック爪32,32を強制的に閉状態にする閉鎖機構37とを有し、前記閉鎖機構37は、チャック爪32,32の両側面に配置され、前後に往復移動可能な当接部材39、39を有し、この当接部材39,39は、前進位置ではチャック爪32,32の両側面に当接しない一方、後退位置ではチャック爪32,32の両側面に当接し、チャック爪32,32を強制的に閉状態とするように構成されていることを特徴とするねじ締め機10による。
【選択図】図2
特許請求の範囲
【請求項1】
回転駆動源の駆動を受けて回転するとともに、前後に往復移動可能なねじ締め工具と、
前記ねじ締め工具の移動経路上に供給されたねじを先端で保持可能な保持孔が形成されるとともに開閉可能に分割形成された一対のチャック爪を備えるチャックユニットと、
前記チャック爪を強制的に閉状態にする閉鎖機構とを有するねじ締め機において、
前記チャックユニットは、チャック爪の側面がテーパー状に形成された先細りの外形を成し、
前記閉鎖機構は、チャック爪の両側面に配置され、前後に往復移動可能な当接部材を有し、この当接部材は、前進位置ではチャック爪の両側面に当接することなくチャック爪の開状態を許容する一方、後退位置ではチャック爪の両側面に当接することでチャック爪を強制的に閉状態とするように構成されていることを特徴とするねじ締め機。
続きを表示(約 120 文字)
【請求項2】
前記当接部材がカムフォロアであることを特徴とする請求項1に記載のねじ締め機。
【請求項3】
前記当接部材は、チャック爪の厚さ方向の中央に当接するよう配置されていることを特徴とする請求項1に記載のねじ締め機。
発明の詳細な説明
【技術分野】
【0001】
本発明は、ねじをワークに締め付けるねじ締め機に関する。
続きを表示(約 2,600 文字)
【背景技術】
【0002】
従来、特許文献1に示すようにモータの駆動を受けて回転するねじ締め工具と、このねじ締め工具の移動経路上に外部の供給装置から圧送されたねじを保持するチャックユニットとを備えたねじ締め機が知られている。このねじ締め機のチャックユニットは、前記ねじ締め工具の軸線上に配置される一対のチャック爪と、このチャック爪を揺動自在に支持する支持溝を有するチャック本体と、前記支持溝の溝壁およびチャック爪を貫通し、前記チャック爪を軸支する取付けねじと、前記チャック爪にねじを供給する供給パイプとを有しており、前記チャック爪には、対となるチャック爪との対向面に前記供給パイプと連続可能な保持孔が分割形成されている。これら構造により、供給装置から供給されたねじは、前記供給パイプを通り、チャック爪の保持孔に供給される。その後、前記ねじ締め工具が回転しながら前進することにより、ねじ締め工具が保持孔内に待機するねじの頭部に嵌合する。このようにねじ締め工具とねじとが嵌合することでねじをワークに締め付けることが可能であった。しかしながら、上記ねじ締め機は、チャックユニット内部でねじとねじ締め工具とを嵌合させる際、ねじの頭部表面とねじ締め工具の先端面との間で生じる摩擦によって、ねじがねじ締め工具に供回りしてしまい、ねじ締め工具とねじとが嵌合できないことがあった。
【0003】
そのため、特許文献2には、前記チャック爪の下面(供給パイプと逆側の面)に楔形状の突起が形成されており、このチャック爪の突起に噛み合う凹部が形成された押圧部と、この押圧部を前後に移動させるエアシリンダとを備えられたねじ締め機について開示されている。このチャックユニットは、押圧部がシリンダの駆動を受けて前進すると、前記チャック爪の突起に嵌合し、チャック爪を閉じさせるため、チャック爪がねじの軸部を挟持する。この結果、ねじは、供回りすることなく、ねじ締め工具と嵌合可能であった。
【先行技術文献】
【特許文献】
【0004】
実用新案第2544183号公報
実開平05-029639号公報
【発明の概要】
【発明が解決しようとする課題】
【0005】
しかしながら、従来のねじ締め機において、前記支持溝は、チャック爪を揺動させるため、チャック爪の厚さより長い溝幅を有しており、支持溝とチャック爪との間には、隙間があった。このように、支持溝とチャック爪との間に隙間がある状態で特許文献2に開示されたねじ締め機のようにチャック爪の下面に設けられた突起を押圧すると、当該押圧力によってチャック爪が支持溝内でずれたり、チャック爪の揺動面に対して直交方向に傾斜したりする。このようにチャック爪が支持溝内でずれる場合、チャック爪を軸支する取付けねじからもっとも遠いガイド孔付近でのずれが大きくなる。このため、ガイド孔に保持されたねじが傾斜し、ねじ締め工具と嵌合できない等、新たな問題を引き起こすことがあった。
【0006】
そのため、本発明は、ねじとねじ締め工具の嵌合不良を防止できるねじ締め機の提供を目的とする。
【課題を解決するための手段】
【0007】
この目的を達成するために本発明は、回転駆動源の駆動を受けて回転するとともに、前後に往復移動可能なねじ締め工具と、前記ねじ締め工具の移動経路上に供給されたねじを先端で保持可能な保持孔が形成されるとともに開閉可能に分割形成された一対のチャック爪を備えるチャックユニットと、前記チャック爪を強制的に閉状態にする閉鎖機構とを有するねじ締め機において、前記チャックユニットは、チャック爪の側面がテーパー状に形成された先細りの外形を成し、前記閉鎖機構は、チャック爪の両側面に配置され、前後に往復移動可能な当接部材を有し、この当接部材は、前進位置ではチャック爪の両側面に当接することなくチャック爪の開状態を許容する一方、後退位置ではチャック爪の両側面に当接することでチャック爪を強制的に閉状態とするように構成されていることを特徴とする。
なお、前記当接部材がカムフォロアであることが好ましい。
また、前記当接部材は、チャック爪の厚さ方向の中央に当接するよう配置されていることが好ましい。
【発明の効果】
【0008】
上記発明によれば、当接部材がチャック爪の外側側面に当接することでチャック爪を強制的に閉状態とする。このため、チャック爪が支持溝内でずれることがなく、ねじ締め工具とねじとの嵌合不良が防止される等の利点がある。
なお、前記当接部材がカムフォロアであるため、チャック爪と当接部材との接触時に生じる摩擦が減少するため、当接部材を所望の位置まで移動させることが容易になる。
また、当接部材がチャック爪の厚さ方向中央に当接するため、チャック爪がより位置ずれしにくくなる。
【図面の簡単な説明】
【0009】
本発明に係るねじ締め機の構造を示す側面図である。
本発明に係るねじ締め機の要部構造を示す要部拡大側面図である。
本発明に係るねじ締め機の要部構造を示す要部拡大断面図である。
図3のA-A断面正面図である。
図3の状態から次の状態に移行のした状態を示す要部拡大断面図である。
図5のB-B線断面正面図である。
図5の状態から次の状態に移行のした状態を示す要部拡大断面図である。
図7のC-C線断面正面図である。
【発明を実施するための形態】
【0010】
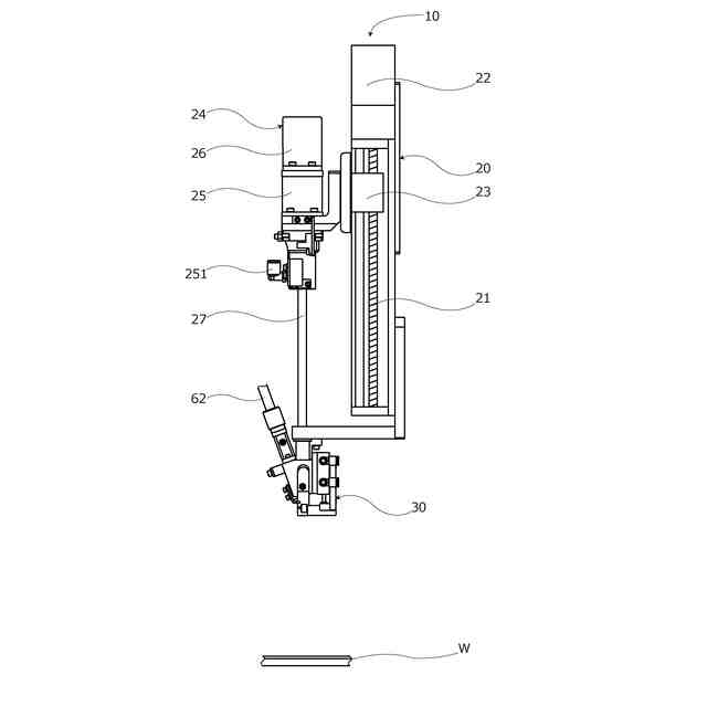
以下、本発明の実施の形態を図1ないし図8に基づき説明する。図1において10は、ワークWにねじSを締結するねじ締め機である。このねじ締め機10は、移動手段20と、この移動手段20の駆動を受けて移動するドライバユニット24、外部の供給装置から供給されたねじSをドライバユニット24の移動経路上に保持するチャックユニット30を有しており、前記移動手段20およびドライバユニット24は、制御部(図示せず)によって駆動を制御されている。
(【0011】以降は省略されています)
この特許をJ-PlatPat(特許庁公式サイト)で参照する
関連特許
日東精工株式会社
ねじ締め機
24日前
日東精工株式会社
ねじ締め機
1か月前
日東精工株式会社
ねじ締め機
2か月前
日東精工株式会社
ねじ締め装置
1か月前
日東精工株式会社
地盤の液状化判定方法
1か月前
日東精工株式会社
磁気式検査装置及びその良品判定方法
23日前
日東精工株式会社
位置決め装置およびこれを備えた作業機
1か月前
個人
タップ
5か月前
個人
フライス盤
1か月前
個人
加工機
5か月前
麗豊実業股フン有限公司
ラクトバチルス・パラカセイNB23菌株及びそれを筋肉量の増加や抗メタボリック症候群に用いる用途
5か月前
日東精工株式会社
ねじ締め機
1か月前
日東精工株式会社
ねじ締め機
5か月前
株式会社不二越
ドリル
5か月前
日東精工株式会社
ねじ締め機
24日前
日東精工株式会社
ねじ締め機
2か月前
株式会社北川鉄工所
回転装置
4か月前
株式会社ダイヘン
溶接電源装置
3か月前
日東精工株式会社
ねじ締め装置
4か月前
株式会社ダイヘン
溶接電源装置
3か月前
株式会社ダイヘン
溶接電源装置
2か月前
日東精工株式会社
ねじ締め装置
1か月前
個人
切削油供給装置
2か月前
株式会社FUJI
工作機械
3か月前
株式会社FUJI
工作機械
1か月前
株式会社FUJI
工作機械
23日前
株式会社FUJI
工作機械
4か月前
キヤノン電子株式会社
加工システム
2か月前
中国電力株式会社
養生シート
17日前
株式会社アンド
半田付け方法
1か月前
株式会社アンド
半田付け方法
5か月前
株式会社アンド
半田付け方法
5か月前
個人
型枠製造装置のフレーム
1か月前
株式会社富田製作所
支持構造
3日前
大見工業株式会社
ドリル
3か月前
村田機械株式会社
レーザ加工機
5か月前
続きを見る
他の特許を見る