TOP
|
特許
|
意匠
|
商標
特許ウォッチ
Twitter
他の特許を見る
公開番号
2025165214
公報種別
公開特許公報(A)
公開日
2025-11-04
出願番号
2024069185
出願日
2024-04-22
発明の名称
配膳治具
出願人
ダイニチ工業株式会社
代理人
主分類
B23P
19/00 20060101AFI20251027BHJP(工作機械;他に分類されない金属加工)
要約
【課題】複数の曲げや凹凸を有するような形状の部品であっても識別を確実に行える配膳治具を提供すること。
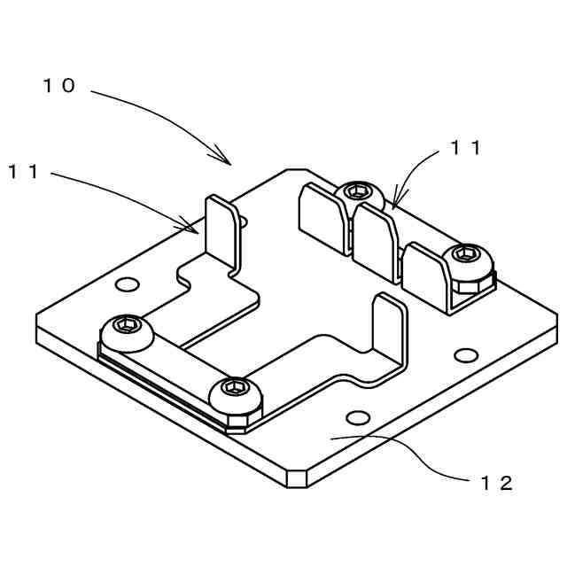
【解決手段】形状が異なる複数の部品から特定部品1を識別する識別部11と、識別部11が上面に設けられる基台12と、を有する配膳治具10であって、識別部11は特定部品1以外の部品と干渉する位置に設けられる複数の凸部7を有し、これらの凸部7は互いに間隔をあけて配置されている。これにより、特定部品1を複数の凸部7と合わせるだけで配膳治具10に取り付けることができるので、特定部品1が複数の曲げや凹凸を有するような形状であっても寸法公差に関係なく確実に識別できる。
【選択図】図1
特許請求の範囲
【請求項1】
形状が異なる複数の部品から特定部品を識別する識別部と、
前記識別部が上面に設けられる基台と、を有する配膳治具であって、
前記識別部は、前記特定部品以外の部品と干渉する位置に設けられる複数の凸部を有し、
前記凸部は、互いに間隔をあけて配置される配膳治具。
続きを表示(約 830 文字)
【請求項2】
前記凸部は、少なくとも1つが前記基台に対して着脱自在である請求項1記載の配膳治具。
【請求項3】
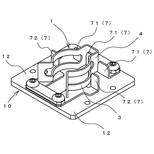
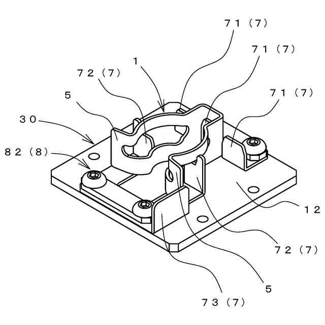
前記部品は配管を接続するクイックファスナであって、前記配管の外周を挟持する一対の挟持部と、前記挟持部の一端同士を接続する連結部を有し、
前記凸部は、前記連結部の位置に設けられる第一凸部を含んでいる請求項2記載の配膳治具。
【請求項4】
前記部品は配管を接続するクイックファスナであって、前記配管の外周を挟持する一対の挟持部と、前記挟持部の一端同士を接続する連結部を有し、
前記凸部は、前記挟持部の位置に設けられる第二凸部を含んでいる請求項2記載の配膳治具。
【請求項5】
前記部品は配管を接続するクイックファスナであって、前記配管の外周を挟持する一対の挟持部と、前記挟持部の一端同士を接続する連結部を有し、
前記凸部は、
前記連結部の位置に設けられる第一凸部と、
前記挟持部の位置に設けられる第二凸部と、を含んでいる
請求項2記載の配膳治具。
【請求項6】
前記クイックファスナは、前記挟持部の他端から延びる脚部を有し、
前記凸部は、前記脚部の位置に設けられる第三凸部を含んでいる請求項5記載の配膳治具。
【請求項7】
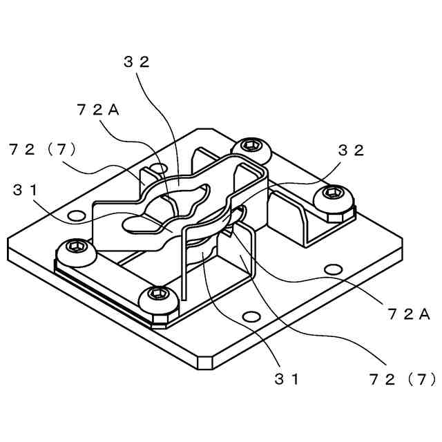
前記識別部は、前記第一凸部を有する第一識別パーツと前記第二凸部を有する第二識別パーツを有し、
前記第一識別パーツと第二識別パーツには、同形状の取付部が設けられており、
前記基台は正方形で、周縁に前記取付部を取り付け可能な被取付部を複数有し、
前記被取付部は、前記基台の各辺の同じ位置に設けられている請求項5記載の配膳治具。
【請求項8】
請求項1から7のいずれかに記載の配膳治具を複数備え、
前記配膳治具同士は連結自在である配膳ユニット。
発明の詳細な説明
【技術分野】
【0001】
本発明は、組立に使用される部品を組立作業者へ供給する際に用いられる配膳治具に関するものである。
続きを表示(約 1,300 文字)
【背景技術】
【0002】
製品の組立では多くの部品が使用され、その部品の中には形状が似ていて見分けるのが難しいものがある。生産現場では、組立時に形状が似た部品を取り違えないように、組立作業者へ必要な部品(特定部品)を供給する配膳作業が行われることがある。
【0003】
例えば特許文献1では、配膳作業に配膳トレー(配膳治具)を用いており、配膳トレーには部品の種類に対応した形状の収容部が設けられている。収容部は部品が収容される凹部であり、配膳作業者は収容部に部品を収めて組立作業者に供給する。
【先行技術文献】
【特許文献】
【0004】
WO2017/149621号公報
【発明の概要】
【発明が解決しようとする課題】
【0005】
ところで、一般に部品には寸法公差が定められており、同じ部品であっても1つ1つの形状は若干異なる。そのため、複数の曲げや凹凸を有するような形状の部品では、部品全体を凹部に収めにくく、特定部品であるにもかかわらず凹部に嵌らないことがある。また、寸法公差を考慮して凹部を広めに設けると、誤った部品が配膳されてしまう可能性がある。よって、このような形状の部品であっても確実に識別できるようにするために、配膳治具の構造には改善の余地がある。
【0006】
本発明は、上記課題を解決するためのもので、複数の曲げや凹凸を有するような形状の部品であっても特定部品の識別を確実に行える配膳治具を提供することを目的とする。
【課題を解決するための手段】
【0007】
本発明は、
形状が異なる複数の部品から特定部品を識別する識別部と、
前記識別部が上面に設けられる基台と、を有する配膳治具であって、
前記識別部は、前記特定部品以外の部品と干渉する位置に設けられる複数の凸部を有し、
前記凸部は、互いに間隔をあけて配置される配膳治具である。
【発明の効果】
【0008】
上述のように構成することにより、複数の曲げや凹凸を有するような形状の部品であっても特定部品の識別を確実に行うことができる。
【図面の簡単な説明】
【0009】
第1実施形態の配膳治具の斜視図である。
クイックファスナの斜視図である。
第1実施形態の配膳治具に特定部品を取り付けた状態の斜視図である。
比較例として示す配膳治具に特定部品を取り付けた状態の斜視図である。
第1実施形態の配膳治具の変形例を示す図である。
第1実施形態の配膳治具の分解図である。
第1実施形態の配膳ユニットの斜視図である。
第2実施形態の配膳治具に特定部品を取り付けた状態の斜視図である。
【発明を実施するための形態】
【0010】
好適と考える本発明の実施形態を、本発明の作用を示して簡単に説明する。
(【0011】以降は省略されています)
この特許をJ-PlatPat(特許庁公式サイト)で参照する
関連特許
ダイニチ工業株式会社
配膳治具
25日前
個人
タップ
6か月前
個人
フライス盤
2か月前
個人
加工機
6か月前
麗豊実業股フン有限公司
ラクトバチルス・パラカセイNB23菌株及びそれを筋肉量の増加や抗メタボリック症候群に用いる用途
6か月前
日東精工株式会社
ねじ締め機
3か月前
日東精工株式会社
ねじ締め機
2か月前
日東精工株式会社
ねじ締め機
1か月前
株式会社北川鉄工所
回転装置
5か月前
日東精工株式会社
ねじ締め機
6か月前
株式会社不二越
ドリル
6か月前
日東精工株式会社
ねじ締め装置
2か月前
株式会社ダイヘン
溶接電源装置
4か月前
株式会社ダイヘン
溶接電源装置
4か月前
株式会社ダイヘン
溶接電源装置
3か月前
日東精工株式会社
ねじ締め装置
5か月前
キヤノン電子株式会社
加工装置
22日前
ダイニチ工業株式会社
配膳治具
25日前
日東精工株式会社
ねじ整列トレー
17日前
株式会社FUJI
工作機械
1か月前
株式会社FUJI
工作機械
5か月前
個人
切削油供給装置
3か月前
株式会社FUJI
工作機械
1か月前
株式会社FUJI
工作機械
4か月前
株式会社アンド
半田付け方法
6か月前
エフ・ピー・ツール株式会社
リーマ
7か月前
株式会社アンド
半田付け方法
2か月前
株式会社アンド
半田付け方法
6か月前
キヤノン電子株式会社
加工システム
3か月前
睦月電機株式会社
金属表面処理方法
22日前
日進工具株式会社
エンドミル
7か月前
株式会社富田製作所
支持構造
1か月前
中国電力株式会社
養生シート
1か月前
個人
型枠製造装置のフレーム
2か月前
株式会社ダイヘン
多層盛り溶接方法
7か月前
村田機械株式会社
レーザ加工機
6か月前
続きを見る
他の特許を見る