TOP
|
特許
|
意匠
|
商標
特許ウォッチ
Twitter
他の特許を見る
10個以上の画像は省略されています。
公開番号
2025130154
公報種別
公開特許公報(A)
公開日
2025-09-08
出願番号
2024027135
出願日
2024-02-27
発明の名称
半田付け方法
出願人
株式会社アンド
代理人
個人
主分類
B23K
3/02 20060101AFI20250901BHJP(工作機械;他に分類されない金属加工)
要約
【課題】熱容量の大きな多層化したプリント配線基板であっても当該プリント配線基板表面の接続電極を鏝先で効率的に加熱することができ円滑な半田付けが可能な方法を提供する。
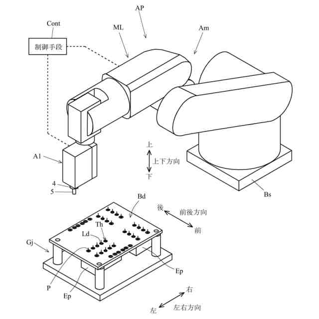
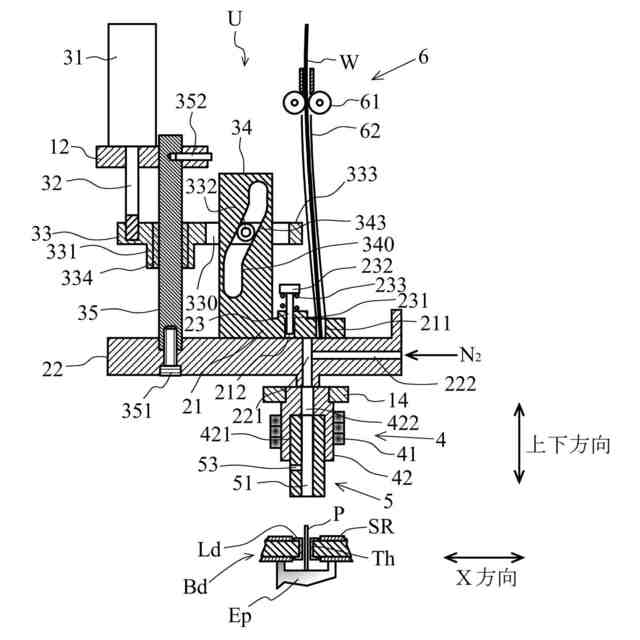
【解決手段】接続電極LdにフラックスFLを塗布する第1工程と、プリント配線基板Bdに電子部品Epを配置する第2工程と、略筒形状で軸方向に貫通した半田孔51を有し加熱可能な鏝先5をプリント配線基板Bdに対して相対的に移動させて、プリント配線基板Bdに配置された電子部品Epの接続端子PとフラックスFLが塗布された接続電極Ldとの半田付け予定部分が、半田孔51内に位置する半田付け位置にする第3工程と、第3工程後に半田片を半田孔51内へ供給する第4工程と、半田孔51内に供給された半田片を加熱溶融させる第5工程と、第5工程の後に、鏝先5を前記半田付け位置からプリント配線基板Bdから離間した位置に相対的に移動させる第6工程とを有する。
【選択図】図1
特許請求の範囲
【請求項1】
プリント配線基板に形成された接続電極と、前記プリント配線基板に配置された電子部品の接続端子とを半田付けする方法であって、
前記接続電極にフラックスを塗布する第1工程と、
前記プリント配線基板に前記電子部品を配置する第2工程と、
略筒形状で軸方向に貫通した半田孔を有し加熱可能な鏝先を、前記プリント配線基板に対して相対的に移動させて、前記プリント配線基板に配置された前記電子部品の前記接続端子とフラックスが塗布された前記接続電極との半田付け予定部分が、前記半田孔内または前記半田孔の軸方向下方に位置する半田付け位置にする第3工程と、
第3工程後に半田片を前記半田孔内へ供給する第4工程と、
前記半田孔内に供給された前記半田片を加熱溶融させる第5工程と、
第5工程の後に、前記鏝先を前記半田付け位置から前記プリント配線基板から離間した位置に相対的に移動させる第6工程と
を有することを特徴とする半田付け方法。
続きを表示(約 170 文字)
【請求項2】
前記接続電極へのフラックスの塗布は、フラックスを液滴化し吹き付けることによって行う請求項1記載の半田付け方法。
【請求項3】
前記プリント配線基板が多層基板である請求項1または2記載の半田付け方法。
【請求項4】
前記半田片がハロゲンフリーである請求項1または2記載の半田付け方法。
発明の詳細な説明
【技術分野】
【0001】
本発明は半田付け方法に関し、より詳細には、プリント配線基板に形成された接続電極と、電子部品の接続端子とを半田付けする方法に関するものである。
続きを表示(約 1,500 文字)
【背景技術】
【0002】
近年、各種機器のほとんどには電子部品を実装したプリント配線基板が搭載されている。このプリント配線基板の作製過程において、各種の電子部品をプリント配線基板の配線パターンに接合する処理等のため半田付け作業がなされる。また半田付け作業を機械的に実現させるため半田付け装置が各種提案され既に使用されているものもある。
【0003】
例えば半田付け装置の一つとして、糸半田を所定長さで切断した半田片を、円筒状の鏝先の軸方向に貫通した半田孔内に供給し、半田孔内で半田片を加熱溶融させて溶融半田を下方へ供給して半田付けを行うものが提案されている(例えば特許文献1など)。このような装置では、プリント配線基板又は接続電極に鏝先が接触することで接続電極が直接又は間接的に加熱される。
【先行技術文献】
【特許文献】
【0004】
国際公開第2008/023461号
【発明の概要】
【発明が解決しようとする課題】
【0005】
近年、プリント配線基板への電子部品の実装密度が高くなり、プリント配線基板の多層化が進んでいる。プリント配線基板が多層化するとプリント配線基板の熱容量が大きくなるため、鏝先から受ける熱によって接続電極が半田の溶融温度に達するまで時間がかかる。接続電極が十分に加熱されないと半田付け不良が発生するおそれがある。
【0006】
本発明はこのような従来の問題に鑑みてなされたものであり、その目的は、熱容量の大きな多層化したプリント配線基板であっても当該プリント配線基板表面の接続電極を鏝先で効率的に加熱することができ円滑な半田付けが可能な方法を提供することにある。
【課題を解決するための手段】
【0007】
前記目的を達成するため本発明者が鋭意検討を重ね、フラックスの熱伝導率が高いことに着目し、鏝先と接続電極との間にフラックスを介在させることで鏝先から接続電極への熱伝導が従来よりも円滑となるとの着想を得て本発明をなすに至った。すなわち、本発明の半田付け方法の一実施態様に係る半田付け方法は、プリント配線基板に形成された接続電極と、前記プリント配線基板に配置された電子部品の接続端子とを半田付けする方法であって、前記接続電極にフラックスを塗布する第1工程と、前記プリント配線基板に前記電子部品を配置する第2工程と、略筒形状で軸方向に貫通した半田孔を有し加熱可能な鏝先を、前記プリント配線基板に対して相対的に移動させて、前記プリント配線基板に配置された前記電子部品の前記接続端子とフラックスが塗布された前記接続電極との半田付け予定部分が、前記半田孔内または前記半田孔の軸方向下方に位置する半田付け位置にする第3工程と、第3工程後に半田片を前記半田孔内へ供給する第4工程と、前記半田孔内に供給された前記半田片を加熱溶融させる第5工程と、第5工程の後に、前記鏝先を前記半田付け位置から前記プリント配線基板から離間した位置に相対的に移動させる第6工程とを有することを特徴とする。
【0008】
前記構成の半田付け方法において、前記接続電極へのフラックスの塗布は、フラックスを液滴化し吹き付けることによって行ってもよい。
【0009】
前記構成の半田付け方法において、前記プリント配線基板が多層基板であってもよい。
【0010】
また前記構成の半田付け方法において、半田片がハロゲンフリーであってもよい。
【発明の効果】
(【0011】以降は省略されています)
この特許をJ-PlatPat(特許庁公式サイト)で参照する
関連特許
株式会社アンドパッド
情報処理方法、情報処理プログラム及び情報処理装置
1か月前
株式会社アンドパッド
情報処理方法、情報処理プログラム、及び情報処理装置
21日前
株式会社アンドパッド
表示方法、表示プログラム及び情報処理装置
20日前
個人
タップ
6か月前
個人
フライス盤
2か月前
個人
加工機
6か月前
麗豊実業股フン有限公司
ラクトバチルス・パラカセイNB23菌株及びそれを筋肉量の増加や抗メタボリック症候群に用いる用途
6か月前
日東精工株式会社
ねじ締め機
1か月前
日東精工株式会社
ねじ締め機
2か月前
日東精工株式会社
ねじ締め機
2か月前
株式会社不二越
ドリル
7か月前
株式会社不二越
ドリル
6か月前
株式会社北川鉄工所
回転装置
5か月前
日東精工株式会社
ねじ締め機
5か月前
日東精工株式会社
ねじ締め機
7か月前
ダイニチ工業株式会社
配膳治具
13日前
株式会社ダイヘン
溶接電源装置
3か月前
キヤノン電子株式会社
加工装置
10日前
株式会社ダイヘン
溶接電源装置
3か月前
株式会社ダイヘン
溶接電源装置
3か月前
日東精工株式会社
ねじ締め装置
1か月前
日東精工株式会社
ねじ締め装置
4か月前
日東精工株式会社
多軸ねじ締め機
7か月前
個人
切削油供給装置
2か月前
株式会社FUJI
工作機械
4か月前
株式会社FUJI
工作機械
1か月前
株式会社FUJI
工作機械
4か月前
日東精工株式会社
ねじ整列トレー
5日前
株式会社FUJI
工作機械
1か月前
株式会社アンド
半田付け方法
6か月前
株式会社アンド
半田付け方法
6か月前
個人
型枠製造装置のフレーム
1か月前
キヤノン電子株式会社
加工システム
3か月前
日進工具株式会社
エンドミル
6か月前
エフ・ピー・ツール株式会社
リーマ
6か月前
中国電力株式会社
養生シート
1か月前
続きを見る
他の特許を見る