TOP
|
特許
|
意匠
|
商標
特許ウォッチ
Twitter
他の特許を見る
公開番号
2025136339
公報種別
公開特許公報(A)
公開日
2025-09-19
出願番号
2024034839
出願日
2024-03-07
発明の名称
ブローチ盤
出願人
株式会社不二越
代理人
個人
,
個人
主分類
B23D
37/10 20060101AFI20250911BHJP(工作機械;他に分類されない金属加工)
要約
【課題】ワークへのクーラントの付着、および加工機内へのクーラントの飛散を抑制することができ、清掃作業を容易としつつクーラントに要するコストの削減を図ることを可能とする。
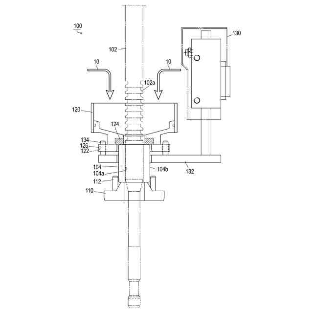
【解決手段】本発明にかかるブローチ盤100の構成は、外周に多数の切刃102aを有するブローチカッター102によってワーク104の内面104aを切削するブローチ盤100において、ワーク104を載置しブローチカッター102が挿入される基準金110と、基準金110上に載置されたワーク104上に載置されてクーラント10を貯留する漏斗120と、漏斗120をワーク104に対して昇降させるリフト装置130と、を備え、漏斗120は、上方が開口していて、ワーク104と同軸に配置され、ブローチカッター102が、ワーク104と漏斗120と基準金110とを同時に貫通し、ワーク内面の加工を行うことを特徴とする。
【選択図】図1
特許請求の範囲
【請求項1】
外周に多数の切刃を有するブローチカッターの直線運動によってワークの内面を切削するブローチ盤において、
前記ワークを載置し前記ブローチカッターが挿入される基準金と、
前記基準金上に載置された前記ワーク上に載置されてクーラントを貯留する漏斗と、
前記漏斗を前記ワークに対して昇降させるリフト装置と、
を備え、
前記漏斗は、上方が開口していて、前記ワークと同軸に配置され、
前記ブローチカッターが、前記ワークと前記漏斗と前記基準金とを同時に貫通し、前記ワーク内面の加工を行うことを特徴とするブローチ盤。
続きを表示(約 260 文字)
【請求項2】
前記漏斗の下部には、前記ワークの上面に当接して隙間を封止する柔軟部材が備えられていることを特徴とする請求項1に記載のブローチ盤。
【請求項3】
前記リフト装置は、
前記漏斗に対して下方から支持するアームと、
前記アームに設けられ上方に突出するピンと、
を有し、
前記漏斗のベース板は、前記ピンを遊嵌するボス穴を有し、
前記アームが下降することによって前記漏斗が前記ワーク上に残置されることを特徴とする請求項1または2に記載のブローチ盤。
発明の詳細な説明
【技術分野】
【0001】
本発明は、ブローチカッターの直線運動によって被加工物(ワーク)の内面を切削するブローチ盤に関する。
続きを表示(約 1,500 文字)
【背景技術】
【0002】
ブローチ盤は、ブローチ(ブローチカッター)と呼ばれる工具を使ってワークの内面や外面を削る工作機械である。ブローチカッターは、長手の棒状の工具で、外周に多数の切刃が並んだ構造になっている。特に、ブローチカッターは、直線運動するときにすべての切刃がワークに触れるよう、先端側の切刃(荒刃)から末端側の切刃(仕上刃)に向かって次第に寸法が大きく(高く)なっている。
【0003】
このようなブローチカッターを使用するブローチ盤は、ブローチカッターを直線方向に一度駆動するだけで工作物の荒削りから仕上げ削りまでを完了させることができ、今日の大量生産の現場において大いに活用されている。
【0004】
例えば特許文献1には、「一部に下孔を形成した被加工物を支持台上に、この下孔の中心軸を上下方向に配置した状態で設置した後、この支持台に対して昇降可能に設置したブローチを下降させ、このブローチを上記下孔に挿通した状態で、このブローチの一部外周面に形成した刃によりこの下孔の内周面を軸方向に切削するブローチ加工方法」が開示されている。
【0005】
特許文献1では、「上記ブローチが上昇した状態で、上記支持台の上方でこのブローチの下側に受部材を進入させ、このブローチに付着して下方に落下する異物が、上記支持台の上面及びこの支持台の上面に載置された上記被加工物に付着する事を防止する事」を特徴としている。特許文献1によれば、「被加工物に形成した下孔にブローチ加工を施す際に、ブローチに付着した異物が下方に落下乃至は滴下して上記被加工物に付着する事を防止できる」としている。
【先行技術文献】
【特許文献】
【0006】
特開2007-196324号公報
【発明の概要】
【発明が解決しようとする課題】
【0007】
ブローチ盤を用いてワークを切削する際には、切削箇所に大量のクーラントを供給する。クーラントとして切削液が用いられる場合、クーラントが加工機外に持ち出されると、その清掃作業が著しく手間であるとともに、クーラントのロスが多くなってコスト増大の一因となる。またワークに付着したクーラントを除去するためには、洗浄機での洗浄やエアブローを行っているが、洗浄機はコストが高く、エアブローを用いる場合は油残りが多くなってしまう。このような問題は特許文献1の技術では解決できず、新たな技術の開発が求められていた。
【0008】
本発明は、このような課題に鑑み、ワークへのクーラントの付着、および加工機内へのクーラントの飛散を抑制することができ、清掃作業を容易としつつクーラントに要するコストの削減を図ることが可能なブローチ盤を提供することを目的としている。
【課題を解決するための手段】
【0009】
上記課題を解決するために、本発明にかかるブローチ盤の代表的な構成は、外周に多数の切刃を有するブローチカッターの直線運動によってワークの内面を切削するブローチ盤において、ワークを載置しブローチカッターが挿入される基準金と、基準金上に載置されたワーク上に載置されてクーラントを貯留する漏斗と、漏斗をワークに対して昇降させるリフト装置と、を備え、漏斗は、上方が開口していて、ワークと同軸に配置され、ブローチカッターが、ワークと漏斗と基準金とを同時に貫通し、ワーク内面の加工を行うことを特徴とする。
【0010】
上記漏斗の下部には、ワークの上面に当接して隙間を封止する柔軟部材が備えられているとよい。
(【0011】以降は省略されています)
特許ウォッチbot のツイートを見る
この特許をJ-PlatPat(特許庁公式サイト)で参照する
関連特許
株式会社不二越
ロボット
1か月前
株式会社不二越
硬質材料
2か月前
株式会社不二越
エンドミル
23日前
株式会社不二越
流路切換弁
2日前
株式会社不二越
ブローチ盤
2か月前
株式会社不二越
歯車加工装置
18日前
株式会社不二越
歯車加工装置
18日前
株式会社不二越
歯車加工装置
18日前
株式会社不二越
X線測定装置
23日前
株式会社不二越
アクチュエータ
2か月前
株式会社不二越
熱処理システム
2か月前
株式会社不二越
X線測定システム
1か月前
株式会社不二越
ロボットシステム
2か月前
株式会社不二越
エッジ仕上げ装置
2か月前
株式会社不二越
ノンリーク三方弁
2か月前
株式会社不二越
X線測定システム
1か月前
株式会社不二越
ロボットシステム
2か月前
株式会社不二越
回転駆動システム
4日前
株式会社不二越
噛み込み検知装置
1か月前
株式会社不二越
垂直多関節ロボット
10日前
株式会社不二越
複合アクチュエータ
2か月前
株式会社不二越
垂直多関節ロボット
2か月前
株式会社不二越
斜板式ピストンポンプ
1か月前
株式会社不二越
移動ロボットシステム
2か月前
株式会社不二越
固定構造および固定治具
1か月前
株式会社不二越
ロボットに用いる伝送路
1か月前
株式会社不二越
可変容量制御ピストンポンプ
2か月前
株式会社不二越
X線回折測定装置及びプログラム
2か月前
株式会社不二越
ダイヤモンド膜の密着性能評価方法
4日前
株式会社不二越
超硬合金およびこれを用いた切削工具
1か月前
株式会社不二越
センサシステム及びロボットシステム
1か月前
株式会社不二越
歯車加工用合金鋼およびそれを用いた歯車
2か月前
株式会社不二越
歯切工具用部品およびそれを用いた歯切工具
2日前
株式会社不二越
直動軸受用合金鋼およびそれを用いた直動軸受
1か月前
株式会社不二越
冷間金型用合金鋼およびそれを用いた冷間金型
1か月前
個人
タップ
6か月前
続きを見る
他の特許を見る