TOP
|
特許
|
意匠
|
商標
特許ウォッチ
Twitter
他の特許を見る
公開番号
2025141627
公報種別
公開特許公報(A)
公開日
2025-09-29
出願番号
2024041645
出願日
2024-03-15
発明の名称
ノンリーク三方弁
出願人
株式会社不二越
代理人
個人
,
個人
主分類
F16K
11/07 20060101AFI20250919BHJP(機械要素または単位;機械または装置の効果的機能を生じ維持するための一般的手段)
要約
【課題】高精度での加工が可能であり、且つ切替弁の切替時の作動流体のリークを好適に防ぐことが可能なノンリーク三方弁を提供することを目的としている。
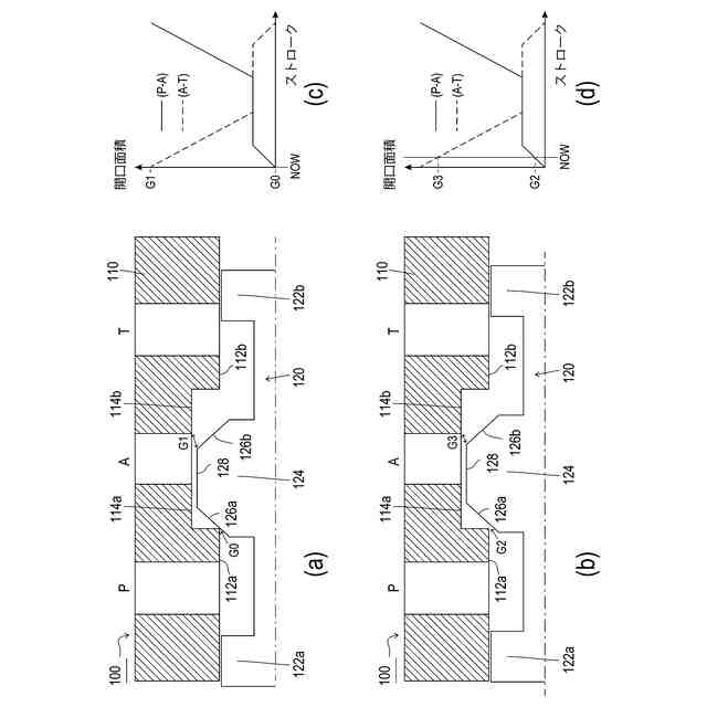
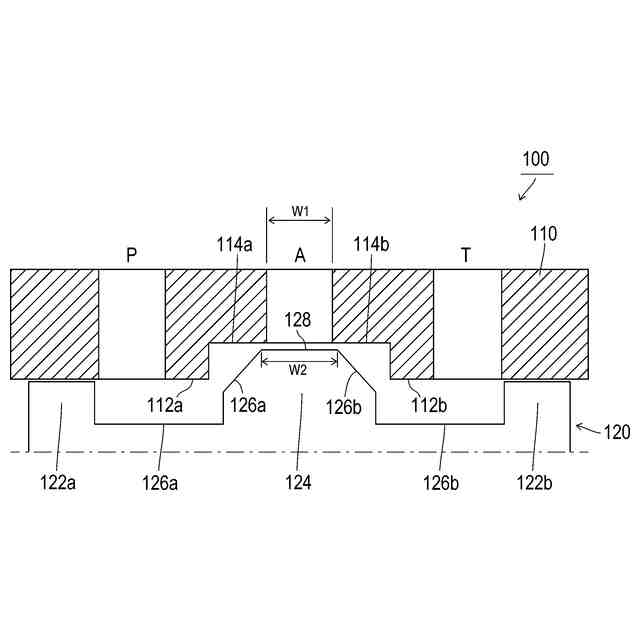
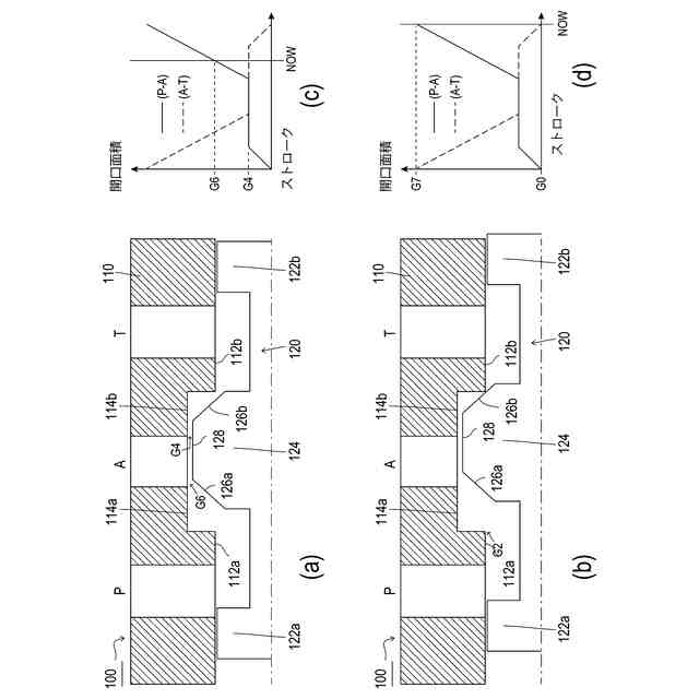
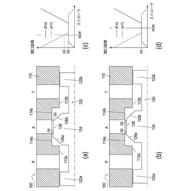
【解決手段】本発明にかかるノンリーク三方弁の代表的な構成は、スリーブ110と、スリーブに設けられたPポート、Aポート、Tポートと、スリーブの中を摺動して、Pポート、Aポート、Tポートの連通を切り替えるシャフト120と、を備え、シャフト120はAポートの連通先をPポートまたはTポートに切り替えるポペット部124とを有し、ポペット部124は、両端の円錐面126a、126bと、円錐面の間に配置される円柱面128とを有し、スリーブ110は、Aポートの両側にポペット部と接触する弁座112a、112bと、弁座とAポートの間に配置されポペット部の円柱面と対向して絞りを形成する絞り面114a、114bを有することを特徴とする。
【選択図】図1
特許請求の範囲
【請求項1】
スリーブと、
前記スリーブに設けられたPポート、Aポート、Tポートと、
前記スリーブの中を摺動して、前記Pポート、前記Aポート、前記Tポートの連通を切り替えるシャフトと、
を備え、
前記シャフトは前記Aポートの連通先を前記Pポートまたは前記Tポートに切り替えるポペット部を有し、
前記ポペット部は、両端の円錐面と、該円錐面の間に配置される円柱面とを有し、
前記スリーブは、前記Aポートの両側に前記ポペット部と接触する弁座と、該弁座とAポートの間に配置され該ポペット部の円柱面と対向して絞りを形成する絞り面を有することを特徴とするノンリーク三方弁。
続きを表示(約 210 文字)
【請求項2】
前記円柱面の幅は、前記Aポートの幅よりも長いことを特徴とする請求項1に記載のノンリーク三方弁。
【請求項3】
前記シャフトは、前記Pポートおよび前記Tポートより外側に、作動流体の漏れを防止する一対のスプール部を有し、
前記円柱面と前記絞り面の間のクリアランスは、前記スプール部と前記スリーブの間のクリアランスよりも大きいことを特徴とする請求項1に記載のノンリーク三方弁。
発明の詳細な説明
【技術分野】
【0001】
本発明は、ノンリーク三方弁に関する。
続きを表示(約 1,500 文字)
【背景技術】
【0002】
産業設備において作動流体の供給を制御する装置として切替弁が用いられている。その中でも、Pポート、Aポート、Tポートなどの3つのポートを切り替える切換弁は三方弁と称されている。
【0003】
切替弁としては、例えば特許文献1には、「弁室内に互いに対向して設けられた1対の弁座と、両弁座間で弁室に連通する共通ポートと、両弁座の外側で弁室に連通する対をなす選択ポートと、電磁アクチュエータにより両弁座に選択的に当接させる弁子とを有する吸着型酸素濃縮器用電磁弁」が開示されている。
【0004】
特に特許文献1の吸着型酸素濃縮器用電磁弁では、「上記弁子の両側部に、各弁座に受け止められるポペット弁座と、このポペット弁座の外端面から突出し、弁座内の弁孔に挿抜されるスプール部とを設け」ている。そして、「両スプール部は、弁子を両弁座間の中央に位置させた時にそれぞれ弁孔に所定の重なり寸法にわたって封止状に突入するように形成し、上記弁子が両弁座間の中央から任意の一方の弁座側に所定量以上変位した時にその他方の弁座を開弁するように形成されること」を特徴としている。
【先行技術文献】
【特許文献】
【0005】
実用新案登録公報第2594442号
【発明の概要】
【発明が解決しようとする課題】
【0006】
特許文献1では、スプール部とポペット弁座が連続的につながっており、ポペット弁座の内径側にスプール部がある。このため、研削砥石などでポペット弁座(傾斜面)を研磨するときにスプール部(円筒面)に加工ツールが干渉してしまう形状であり、精度良く加工することが困難である。したがって特許文献1の吸着型酸素濃縮器用電磁弁は、製造性が低く、コストの増大を招くことが懸念される。また特許文献1の構成では、ポペット弁座の近傍にスプール部の摺動面がある。このため、弁座が叩かれて内径に変形した場合、スプール部のクリアランスがなくなり、接触してスティックしてしまう可能性がある。
【0007】
本発明は、このような課題に鑑み、高精度での加工が可能であり、且つ切替弁の切替時の作動流体のリークを好適に防ぐことが可能なノンリーク三方弁を提供することを目的としている。
【課題を解決するための手段】
【0008】
上記課題を解決するために、本発明にかかるノンリーク三方弁の代表的な構成は、スリーブ(外筒)と、スリーブに設けられたPポート(ポンプポート)、Aポート(出力ポート)、Tポート(タンクポート)と、スリーブの中を摺動して、Pポート、Aポート、Tポートの連通を切り替えるシャフトと、を備え、シャフトはAポートの連通先をPポートまたはTポートに切り替えるポペット部とを有し、ポペット部は、両端の円錐面と、円錐面の間に配置される円柱面とを有し、スリーブは、Aポートの両側にポペット部と接触する弁座と、弁座とAポートの間に配置されポペット部の円柱面と対向して絞りを形成する絞り面(内周面)を有することを特徴とする。
【0009】
円柱面の幅は、Aポートの幅よりも長いことが好ましい。
【0010】
シャフトは、PポートおよびTポートより外側に、作動流体の漏れを防止する一対のスプール部を有し、円柱面と絞り面の間のクリアランスは、スプール部とスリーブの間のクリアランスよりも大きくてもよい。
【発明の効果】
(【0011】以降は省略されています)
この特許をJ-PlatPat(特許庁公式サイト)で参照する
関連特許
株式会社不二越
硬質材料
1か月前
株式会社不二越
ロボット
21日前
株式会社不二越
ブローチ盤
1か月前
株式会社不二越
アクチュエータ
1か月前
株式会社不二越
熱処理システム
1か月前
株式会社不二越
ロボットシステム
1か月前
株式会社不二越
ロボットシステム
1か月前
株式会社不二越
X線測定システム
7日前
株式会社不二越
X線測定システム
8日前
株式会社不二越
ノンリーク三方弁
24日前
株式会社不二越
エッジ仕上げ装置
1か月前
株式会社不二越
複合アクチュエータ
24日前
株式会社不二越
垂直多関節ロボット
1か月前
株式会社不二越
斜板式ピストンポンプ
15日前
株式会社不二越
移動ロボットシステム
24日前
株式会社不二越
ロボットに用いる伝送路
6日前
株式会社不二越
可変容量制御ピストンポンプ
24日前
株式会社不二越
X線回折測定装置及びプログラム
24日前
株式会社不二越
センサシステム及びロボットシステム
6日前
株式会社不二越
歯車加工用合金鋼およびそれを用いた歯車
1か月前
個人
留め具
9日前
個人
鍋虫ねじ
1か月前
個人
回転伝達機構
2か月前
個人
紛体用仕切弁
1か月前
個人
ホース保持具
6か月前
個人
トーションバー
6か月前
個人
差動歯車用歯形
3か月前
個人
給排気装置
16日前
個人
ジョイント
1か月前
個人
ボルトナットセット
7か月前
株式会社不二工機
電磁弁
3か月前
株式会社不二工機
電磁弁
5か月前
個人
地震の揺れ回避装置
3か月前
個人
ナット
1か月前
個人
吐出量監視装置
1か月前
カヤバ株式会社
ダンパ
4か月前
続きを見る
他の特許を見る