TOP
|
特許
|
意匠
|
商標
特許ウォッチ
Twitter
他の特許を見る
公開番号
2025159422
公報種別
公開特許公報(A)
公開日
2025-10-21
出願番号
2024061944
出願日
2024-04-08
発明の名称
免震装置
出願人
株式会社ノナガセ
代理人
個人
主分類
F16F
15/04 20060101AFI20251014BHJP(機械要素または単位;機械または装置の効果的機能を生じ維持するための一般的手段)
要約
【課題】長周期長時間地震動のような繰返し加振を受けたとしても発熱による免震性能の低下が抑制され、免震装置のコスト及び免震構造体の建築費用の上昇を抑える。
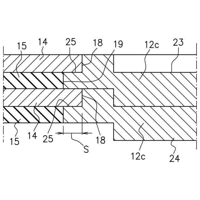
【解決手段】それぞれ穴18、19を有する複数のゴム層15と金属層14とが交互に積層され、加硫成型によって形成される積層ゴム体12と、積層ゴム体12の内部にゴム層15及び金属層14の各穴18、19を介して積層方向に配される塑性変形自在な柱状部材12とを備える。例えば、ゴム層15の穴19の内周にシールリング30を配することにより、未加硫ゴムの流れが阻止され、金属層14の穴18の内周面と柱状部材12の外周面とが、両者間に加硫成型に伴う薄皮被膜ゴムが存することなく、直接接触している。
【選択図】図5
特許請求の範囲
【請求項1】
それぞれ穴を有する複数のゴム層と金属層とが交互に積層され、加硫成型によって形成される積層ゴム体と、この積層ゴム体の内部に前記ゴム層及び前記金属層の各穴を介して積層方向に配される塑性変形自在な柱状部材とを備えた免震装置であって、
前記金属層の前記穴の内周面と前記柱状部材の外周面とが、両者間に加硫成型に伴う薄皮被膜ゴムが存することなく、直接接触していることを特徴とする免震装置。
続きを表示(約 380 文字)
【請求項2】
前記柱状部材はその軸方向に分割されて積層され、外周に環状の切欠き段部が形成された複数の分割体からなり、前記金属層は前記穴を介して前記分割体の前記切欠き段部に、前記ゴム層は前記穴を介して前記分割体の前記切欠き段部以外の外周部分にそれぞれ嵌合されていることを特徴とする請求項1記載の免震装置。
【請求項3】
前記ゴム層の前記穴の内周に、加硫成型時に前記金属層の前記穴の内周への未加硫ゴムの流れを阻止するためのシールリングが設けられていることを特徴とする請求項1記載の免震装置。
【請求項4】
前記シールリングは、加硫ゴム、樹脂及び金属のいずれかからなることを特徴とする請求項3記載の免震装置。
【請求項5】
前記シールリングは、高熱伝導部材からなることを特徴とする請求項3記載の免震装置。
発明の詳細な説明
【技術分野】
【0001】
この発明は、免震装置に関する。
続きを表示(約 1,600 文字)
【背景技術】
【0002】
免震装置として積層ゴム体に鉛プラグ(以下、柱状鉛ともいう)を封入した、鉛プラグ入り免震装置が知られている。この鉛プラグ入り免震装置において、鉛プラグは地震時には積層ゴム体のせん断変形に伴って弾塑性変形することにより、振動エネルギーを吸収する部材として機能する。しかしながら、昨今、長周期長時間地震動を対象とした各種免震装置の繰返し加振実験が行われた結果、エネルギー吸収部材の発熱による抵抗力(エネルギー吸収能力)の低下が指摘され問題視されてきている。
【0003】
特に、エネルギー吸収能力の低下は地震時における免震構造物の水平移動量の増大を招き、免震構造物周辺に設けられた擁壁との間により大きなクリアランスを確保しなければならないという問題を生じさせている。また、免震構造物の水平移動量の増大は、免震装置の鉛直支持荷重面積の減少を招き、座屈を引き起こすおそれもある。その結果、免震構造設計者は安全性を確保するために、長周期長時間地震動を考慮すべき地域に用いる免震装置の設計においては、安全率を大きくとる、すなわち免震性能の低下を織り込んだ免震設計を行っているのが実情である。
【0004】
このように、免震性能の低下を織り込んだ免震設計を行う結果、通常の免震設計と比較して安全性の高い免震装置にならざるを得ず、一般的に免震装置の大型化をもたらすことになる。また、オイルダンパー、摩擦ダンパー、履歴型ダンパーなどの減衰装置を付加的に配置し、応答変形量を抑制することもあり、免震構造物のコストアップを余儀なくされている。
【0005】
上記のような状況から、如何にして鉛プラグ等のエネルギー吸収部材の発熱を抑えるか、あるいは如何にして発生した熱をエネルギー吸収部材から外方へ移動させるかが重要な課題になってきている。
【0006】
特許文献1には、積層ゴム体が繰返し変形した際に生じる発熱を、速やかに積層ゴム体から放熱し、免震性能の力学的な低下を防止することを目的とした免震装置が開示されている。特許文献2、3には長周期地震動を受けた時でも、鉛プラグ又は錫プラグの温度上昇を極力低下させることができ、長周期地震動でも免震機能を有効に発揮することができる免震支持装置が開示されている。
【0007】
しかしながら、上記先行技術はいずれも、免震装置の製造過程において、鉛プラグ等のエネルギー吸収部材の外周面と鋼板等の金属層との間に形成される薄皮被膜ゴム層(詳細は、後述する)に着目して課題解決を図ったものではない。
【先行技術文献】
【特許文献】
【0008】
特開2011-141002
特開2016-142343
特開2016-176577
【発明の概要】
【発明が解決しようとする課題】
【0009】
この発明は上記のような技術的背景に基づいてなされたものであって、次の目的を達成するものである。
この発明は、上記のような、免震性能の低下を織り込んだ設計によって生じる免震装置の大型化を回避し、長周期長時間地震動のような繰返し加振を受けたとしても発熱による免震性能の低下が抑制され、免震装置のコスト及び免震構造体の建築費用の上昇を抑え、広く免震建築物が建設されて多くの人々の生命・財産を守ることを目的としている。
【課題を解決するための手段】
【0010】
一般的な鉛プラグ入り積層ゴム体の製造方法は、予め所定の形状に仕上げられた鋼板(金属層)と、未加硫ゴム板(ゴム層)とを交互に積層する「積層・モールド組み込み工程」と、「加硫成型工程」と、「鉛プラグ挿入工程」とからなる。
(【0011】以降は省略されています)
この特許をJ-PlatPat(特許庁公式サイト)で参照する
関連特許
個人
留め具
1か月前
個人
給排気装置
1か月前
個人
ジョイント
2か月前
個人
ナット
14日前
兼工業株式会社
バルブ
15日前
カヤバ株式会社
緩衝器
1か月前
株式会社不二工機
電動弁
1か月前
アズビル株式会社
回転弁
1か月前
株式会社奥村組
制振機構
1か月前
株式会社ノーリツ
分配弁
1か月前
株式会社ニフコ
クリップ
1か月前
株式会社三五
ドライブシャフト
28日前
株式会社奥村組
制振機構
1か月前
アイホン株式会社
電気機器
1か月前
個人
誘導電流活用式差動制限装置
1か月前
アマテイ株式会社
釘
21日前
株式会社ノナガセ
免震装置
29日前
個人
無段変速可能なフリーホイール
1か月前
Astemo株式会社
電磁弁
1か月前
カシオ計算機株式会社
支持台
1か月前
カヤバ株式会社
シリンダ装置
13日前
Astemo株式会社
緩衝器
20日前
住友理工株式会社
カバー
1か月前
Astemo株式会社
緩衝装置
1か月前
アズビル株式会社
無線式開度計
1か月前
株式会社荒井製作所
ガスケット
2か月前
株式会社荒井製作所
ガスケット
2か月前
株式会社パイオラックス
保持具
13日前
株式会社パイオラックス
保持具
13日前
株式会社パイオラックス
保持具
13日前
NTN株式会社
焼結軸受
1か月前
NTN株式会社
焼成軸受
27日前
レック株式会社
係止器具
21日前
カヤバ株式会社
チェックバルブ
1か月前
株式会社フジキン
バルブ
12日前
個人
難燃性熱橋ボルトキャップ
1か月前
続きを見る
他の特許を見る