TOP
|
特許
|
意匠
|
商標
特許ウォッチ
Twitter
他の特許を見る
公開番号
2025035091
公報種別
公開特許公報(A)
公開日
2025-03-13
出願番号
2023141886
出願日
2023-09-01
発明の名称
緩衝器
出願人
カヤバ株式会社
代理人
個人
主分類
F16F
9/58 20060101AFI20250306BHJP(機械要素または単位;機械または装置の効果的機能を生じ維持するための一般的手段)
要約
【課題】液圧ロック機能を発揮できるとともに製造が容易で製造コストを低減できる緩衝器を提供する。
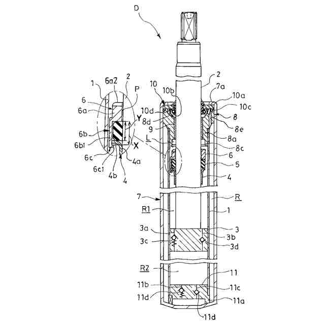
【解決手段】本発明の緩衝器Dは、シリンダ1と、シリンダ1内に軸方向へ移動可能に挿入されるピストンロッド2と、ピストンロッド2に連結されるとともにシリンダ1内に移動可能に挿入されてシリンダ1内を伸側室R1と圧側室R2とに区画するピストン3と、シリンダ1に対して軸方向に不動であってピストン3に軸方向で対向するロック室Lを形成するケース8cと、ピストンロッド2の伸側室R1に面する外周に装着されるサポート4と、ピストンロッド2の伸側室R1に面する外周に配置されてサポート4によってピストン側への移動が規制されるクッション5と、ピストンロッド2の外周であってクッション5の反ピストン側に軸方向へ移動可能に設けられてロック室L内に侵入可能なロックピース6とを備える。
【選択図】図2
特許請求の範囲
【請求項1】
シリンダと、
前記シリンダ内に軸方向へ移動可能に挿入されるピストンロッドと、
前記ピストンロッドに連結されるとともに前記シリンダ内に移動可能に挿入されて前記シリンダ内を液体が充満する伸側室と圧側室とに区画するピストンと、
前記シリンダに対して軸方向に不動であって前記ピストン側に向かって開口するロック室を形成するケースと、
前記ピストンロッドの伸側室に面する外周に装着されるサポートと、
前記ピストンロッドの伸側室に面する外周に配置されて前記サポートによってピストン側への移動が規制されるクッションと、
前記ピストンロッドの外周であって前記クッションの反ピストン側に配置され軸方向へ移動可能に設けられて前記ロック室内に侵入可能なロックピースとを備えた
ことを特徴とする緩衝器。
続きを表示(約 530 文字)
【請求項2】
前記ロックピースは、
環状であって前記ピストンロッドの外周に配置されて前記ピストンロッドとの間に環状の絞り通路を形成するとともに前記ロック室に侵入可能なピース本体を有する
ことを特徴とする請求項1に記載の緩衝器。
【請求項3】
前記ロックピースは、
前記サポートに摺接する摺接部を有する
ことを特徴とする請求項1に記載の緩衝器。
【請求項4】
前記ロックピースは、前記ロック室に侵入可能であって前記ケース側を向く面に凹凸面を具備するピース本体を有する
ことを特徴とする請求項1に記載の緩衝器。
【請求項5】
前記ロックピースが前記クッションに対して軸方向で離間すると、前記ロックピースと前記クッションとの間に前記絞り通路に連通される隙間が形成され、
前記摺接部は、前記ピース本体に対して周方向で間隔を空けて延びる複数の腕からなる
ことを特徴とする請求項2に記載の緩衝器。
【請求項6】
前記ロックピースは、
前記摺接部に前記サポートからの抜けを阻止する規制部を有する
ことを特徴とする請求項3に記載の緩衝器。
発明の詳細な説明
【技術分野】
【0001】
本発明は、緩衝器に関する。
続きを表示(約 1,500 文字)
【背景技術】
【0002】
従来、車両に利用される緩衝器にあっては、たとえば、シリンダと、シリンダ内に移動可能に挿入されるピストンロッドと、ピストンロッドの先端に連結されるとともにシリンダ内に移動可能に挿入されてシリンダ内を伸側室と圧側室とに区画するピストンとを備えている。
【0003】
このように構成された従来の緩衝器では、ピストンロッドの外周にピストン側端が支持されるリバウンドスプリングを装着して、当該リバウンドスプリングの自由端を最伸長時にピストンロッドを支持するロッドガイドに当接させてリバウンドスプリングを圧縮し、リバウンドスプリングの弾発力で最伸長時の衝撃を緩和している。
【0004】
近年、軽自動車や小型車の乗心地を向上させるため、良路走行時の緩衝器の減衰力を低くする傾向にある一方で、電動化や外観デザイン性の向上のためばね下重量は重たくなってきているため、緩衝器が最伸長する際の衝撃の緩和について弾性反発を生じない油圧を用いたオイルロックの利用が要望されるようになってきた。
【0005】
このような要望に応えるため、シリンダの端部にテーパ状の拡径部を設けるとともに、ピストンロッドの外周にC形状の弾性リングを保持するセグメントとセグメントをピストン側へ向けて付勢するばねを設けて、セグメントが拡径部に到達してそれ以上緩衝器が伸長するとテーパ面よって弾性リングが徐々に縮径して、弾性リングとセグメントとで仕切られる上方の空間をオイルロック室として機能させる緩衝器が開発されるに至っている(たとえば、特許文献1参照)。
【0006】
このように構成された緩衝器では、良路走行時にはセグメントが拡径部に到達しないようになっていて、良路走行時には低い減衰力を発揮して車両における乗心地を損なうことがないが、最伸長時には油圧利用のオイルロック機能を発揮して高い減衰力を発生させて衝撃を緩和できる。
【先行技術文献】
【特許文献】
【0007】
特表2016-534290号公報
【発明の概要】
【発明が解決しようとする課題】
【0008】
従来の緩衝器は、伸長側のストロークエンドでの衝撃の緩和について前記要望に十分に応えることができるが、シリンダを拡径させる加工が必要で、さらに、オイルロック機能を発揮するために多くの部品をピストンロッドの外周に設置する必要があるので、加工コストが嵩むとともに部品点数が増加するため、製造コストと製造の難易度が高くなるという問題がある。
【0009】
そこで、本発明は、液圧ロック機能を発揮できるとともに製造が容易で製造コストを低減できる緩衝器の提供を目的とする。
【課題を解決するための手段】
【0010】
上記の目的を達成するため、本発明の緩衝器は、シリンダと、シリンダ内に軸方向へ移動可能に挿入されるピストンロッドと、ピストンロッドに連結されるとともにシリンダ内に移動可能に挿入されてシリンダ内を液体が充満する伸側室と圧側室とに区画するピストンと、シリンダに対して軸方向に不動であってピストン側に開口するロック室を形成するケースと、ピストンロッドの伸側室に面する外周に装着されるサポートと、ピストンロッドの伸側室に面する外周に配置されてサポートによってピストン側への移動が規制されるクッションと、ピストンロッドの外周であってクッションの反ピストン側に配置され軸方向へ移動可能に設けられてロック室内に侵入可能なロックピースとを備えている。
(【0011】以降は省略されています)
この特許をJ-PlatPat(特許庁公式サイト)で参照する
関連特許
カヤバ株式会社
緩衝器
2日前
カヤバ株式会社
防水構造
1か月前
カヤバ株式会社
電動ポンプ
23日前
カヤバ株式会社
ギヤポンプ
1か月前
カヤバ株式会社
ギヤポンプ
1か月前
カヤバ株式会社
ギヤポンプ
1か月前
カヤバ株式会社
シリンダ装置
24日前
カヤバ株式会社
減衰力制御システム
2日前
カヤバ株式会社
ミキサドラムの積載量測定装置
10日前
カヤバ株式会社
減衰力制御装置および減衰力制御システム
2日前
カヤバ株式会社
減衰力制御装置および減衰力制御システム
2日前
カヤバ株式会社
ダンパ減衰力特性生成装置、ダンパ提示装置、及びプログラム
1か月前
カヤバ株式会社
減衰力制御装置、減衰力制御システムおよびセンサ部の補正方法
2日前
個人
留め具
1か月前
個人
鍋虫ねじ
3か月前
個人
紛体用仕切弁
3か月前
個人
回転伝達機構
3か月前
個人
ホース保持具
7か月前
個人
差動歯車用歯形
5か月前
個人
トーションバー
8か月前
個人
ジョイント
2か月前
個人
給排気装置
1か月前
株式会社不二工機
電磁弁
6か月前
個人
地震の揺れ回避装置
4か月前
個人
ナット
2か月前
個人
ナット
25日前
株式会社不二工機
電磁弁
5か月前
個人
ボルトナットセット
8か月前
個人
ゲート弁バルブ
10日前
個人
吐出量監視装置
2か月前
兼工業株式会社
バルブ
26日前
カヤバ株式会社
緩衝器
8か月前
柿沼金属精機株式会社
分岐管
3か月前
カヤバ株式会社
緩衝器
1か月前
カヤバ株式会社
ダンパ
5か月前
カヤバ株式会社
緩衝器
4か月前
続きを見る
他の特許を見る