TOP
|
特許
|
意匠
|
商標
特許ウォッチ
Twitter
他の特許を見る
公開番号
2025116341
公報種別
公開特許公報(A)
公開日
2025-08-08
出願番号
2024010701
出願日
2024-01-29
発明の名称
電動ポンプ
出願人
カヤバ株式会社
代理人
個人
主分類
F04B
17/04 20060101AFI20250801BHJP(液体用容積形機械;液体または圧縮性流体用ポンプ)
要約
【課題】駆動回路およびモータの発熱を低減できエネルギ損失を低減できる電動ポンプの提供である。
【解決手段】上記目的を達成するために、本発明の電動ポンプ1は、少なくとも1つ以上のポンプ21,22と、複数の系統の巻線33A,33Bを有してポンプ21,22を駆動するモータ3と、互いに異なる系統の巻線33A,33Bへ電力を供給する複数の駆動回路4,5とを備える。
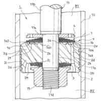
【選択図】図1
特許請求の範囲
【請求項1】
少なくとも1つ以上のポンプと、
複数の系統の巻線を有して前記ポンプを駆動するモータと、
互いに異なる系統の巻線へ電力を供給する複数の駆動回路とを備えた
ことを特徴とする電動ポンプ。
続きを表示(約 140 文字)
【請求項2】
前記駆動回路は、前記モータを正常に駆動可能な状態では、各系統の巻線へ均等に電力を供給する
ことを特徴とする請求項1に記載の電動ポンプ。
【請求項3】
前記駆動回路は、前記系統毎に設けられる
ことを特徴とする請求項1に記載の電動ポンプ。
発明の詳細な説明
【技術分野】
【0001】
本発明は、電動ポンプに関する。
続きを表示(約 1,100 文字)
【背景技術】
【0002】
温室効果ガスの排出量の削減等を目的してアイドリングストップを行う車両では、エンジンの停止している際にもトランスミッション等へ油圧を供給するために、車両に電動ポンプが搭載される他、広範な機器に電動ポンプが使用されている。
【0003】
このような電動ポンプは、たとえば、ポンプと、ポンプを駆動するモータと、モータの巻線へ電力を供給する駆動回路とを備えて構成されているが、モータを駆動する際に駆動回路およびモータが発熱するため、電流指令を制限して過出力を抑制して発熱を低減させる試みが見られる(たとえば、特許文献1参照)。
【先行技術文献】
【特許文献】
【0004】
特開2014-034932号公報
【発明の概要】
【発明が解決しようとする課題】
【0005】
しなしながら、従来の電動ポンプでは、駆動回路の制御によって駆動回路およびモータの発熱を低減できるのであるが、高い出力が必要な場面では発熱を十分に低減できない場合がある。
【0006】
そこで、本発明は、駆動回路およびモータの発熱量とエネルギ損失を低減できる電動ポンプの提供を目的としている。
【課題を解決するための手段】
【0007】
上記目的を達成するために、本発明の電動ポンプは、少なくとも1つ以上のポンプと、複数の系統の巻線を有してポンプを駆動するモータと、互いに異なる系統の巻線へ電力を供給する複数の駆動回路とを備えている。
【0008】
このように構成された電動ポンプでは、複数の系統の巻線を有するモータを互いに異なる系統の巻線に電力供給する複数の駆動回路によって駆動するため、同じ回転数或いは同じトルクでモータを駆動する場合、1つの駆動回路のみによってモータを駆動する従来の電動ポンプと比較すると、各駆動回路に流れる電流を小さくできる。
【0009】
さらに、電動ポンプにおける駆動回路は、モータを正常に駆動可能な状態では、各系統の巻線へ均等に電力を供給してもよい。このように構成された電動ポンプによれば、各駆動回路に流れる最大電流が等しくなるため、駆動回路およびモータの発熱量が最も小さくなり、エネルギ損失を最も低減できる。
【0010】
またさらに、電動ポンプにおける駆動回路はモータの巻線の系統数と同じだけ設けられてもよい。このように構成された電動ポンプによれば、各駆動回路に均等に電力を供給してもリップルを低減しつつモータを駆動できモータの駆動に最適となるとともに、発熱量とエネルギ損失とを効率よく低減できる。
【発明の効果】
(【0011】以降は省略されています)
この特許をJ-PlatPat(特許庁公式サイト)で参照する
関連特許
カヤバ株式会社
防水構造
15日前
個人
海流製造装置。
1か月前
株式会社スギノマシン
圧縮機
16日前
株式会社ツインバード
送風装置
1か月前
ダイニチ工業株式会社
空調装置
4か月前
株式会社ツインバード
送風装置
1か月前
日機装株式会社
遠心ポンプ
8日前
カヤバ株式会社
電動ポンプ
2か月前
株式会社不二越
蓄圧装置
2か月前
ビッグボーン株式会社
送風装置
1か月前
株式会社ニクニ
液封式ポンプ装置
4か月前
個人
携帯型扇風機用の送風ノズル
4か月前
株式会社ノーリツ
ロータリ圧縮機
1か月前
株式会社酉島製作所
ポンプ
3か月前
サンデン株式会社
スクロール圧縮機
22日前
小倉クラッチ株式会社
ルーツブロア
2か月前
株式会社不二越
ベーンポンプ
2か月前
樫山工業株式会社
真空ポンプ
17日前
株式会社坂製作所
スクロール圧縮機
3か月前
株式会社ノーリツ
ロータリー圧縮機
3か月前
サンデン株式会社
スクロール圧縮機
22日前
サンデン株式会社
スクロール圧縮機
22日前
エドワーズ株式会社
真空ポンプ
1か月前
株式会社コスメック
ピストン型ポンプ
4か月前
株式会社島津製作所
真空ポンプ
1か月前
株式会社アイシン
ポンプケース
29日前
個人
連結式螺旋翼体及び流体移送装置
4か月前
株式会社豊田自動織機
流体機械
1か月前
株式会社島津製作所
真空ポンプ
2か月前
株式会社チロル
送風機、送風機付衣服
2か月前
株式会社豊田自動織機
電動圧縮機
1か月前
NTN株式会社
電動オイルポンプ
23日前
已久工業股ふん有限公司
空気圧縮機構造
2か月前
株式会社豊田自動織機
電動圧縮機
2か月前
株式会社豊田自動織機
電動圧縮機
2か月前
株式会社豊田自動織機
電動圧縮機
1か月前
続きを見る
他の特許を見る