TOP
|
特許
|
意匠
|
商標
特許ウォッチ
Twitter
他の特許を見る
公開番号
2025152558
公報種別
公開特許公報(A)
公開日
2025-10-10
出願番号
2024054503
出願日
2024-03-28
発明の名称
ミキサ車
出願人
カヤバ株式会社
代理人
弁理士法人後藤特許事務所
主分類
B60P
3/16 20060101AFI20251002BHJP(車両一般)
要約
【課題】メンテナンス作業性を向上させる。
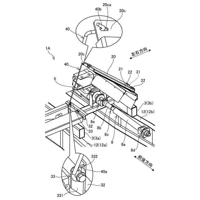
【解決手段】ミキサ車1Aは、車両上に回転可能に搭載されたミキサドラム2を備えるミキサ車1Aであって、エンジン10と、エンジン10によって駆動され作動油を吐出する油圧ポンプ5、及び油圧ポンプ5から供給される作動油によって作動しミキサドラム2を回転駆動する油圧モータ6を有する駆動装置4と、エンジン10からの動力を駆動装置4に伝達するドライブシャフト8と、車両左右方向において、ドライブシャフト8の両側に配置された車体フレーム12と、車体フレーム12の一方から他方にドライブシャフト8を跨いで架け渡されるとともに、片持ち状に回転可能に支持されるフロントステップ20と、フロントステップ20の裏側に連結され、ドライブシャフト8を覆うカバー21と、フロントステップ20を所定開度に開かれた状態で保持するステー40と、を備える。
【選択図】図3
特許請求の範囲
【請求項1】
車両上に回転可能に搭載されたミキサドラムを備えるミキサ車であって、
前記ミキサドラムの駆動源と、
前記駆動源によって駆動され作動流体を吐出する流体圧ポンプ、及び前記流体圧ポンプから供給される作動流体によって作動し前記ミキサドラムを回転駆動する流体圧モータを有する駆動装置と、
前記駆動源からの動力を前記駆動装置に伝達するドライブシャフトと、
車両左右方向において、前記ドライブシャフトの両側に配置された車体フレームと、
前記車体フレームの一方から他方に前記ドライブシャフトを跨いで架け渡されるとともに、片持ち状に回転可能に支持される足場と、
前記足場の裏側に連結され、前記ドライブシャフトを覆うカバーと、
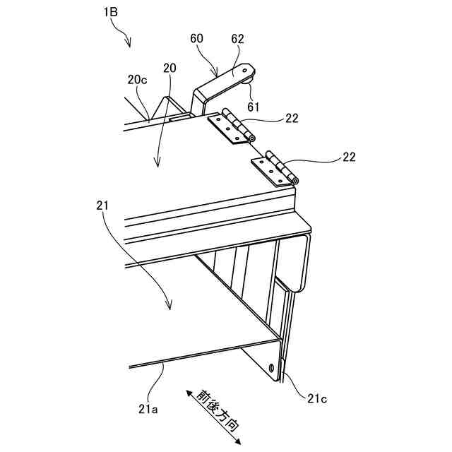
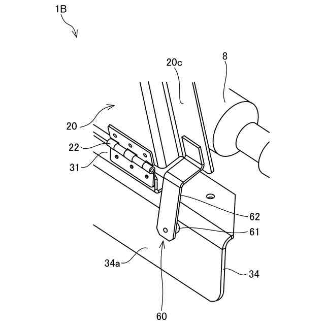
前記足場を所定開度に開かれた状態で保持する保持機構と、を備えることを特徴とするミキサ車。
続きを表示(約 480 文字)
【請求項2】
請求項1に記載のミキサ車であって、
前記保持機構は、一端側に設けられ前記車体フレーム上に設けられた架台上部材に回転可能に支持される回転支持部と、他端側に設けられ前記所定開度に開かれた状態の前記足場に係止されて前記足場を裏側から支えるフック部と、を有するステーである、
ことを特徴とするミキサ車。
【請求項3】
請求項1又は2に記載のミキサ車であって、
前記足場を閉じられた状態でロックするロック機構をさらに備える、
ことを特徴とするミキサ車。
【請求項4】
請求項2に記載のミキサ車であって、
前記フック部は、前記足場が閉じられた状態で、ステー固定部に固定され、
前記ステー固定部は、前記足場の縁部に設けられるベースと、
前記ベースに切欠き状に形成され前記フック部が係止されるフック係止部と、
前記ベースに設けられ、前記フック部が前記フック係止部に係止された状態で前記ステーを吸着するマグネットと、を有する、
ことを特徴とするミキサ車。
発明の詳細な説明
【技術分野】
【0001】
本発明はミキサ車に関する。
続きを表示(約 1,300 文字)
【背景技術】
【0002】
特許文献1には、エンジンの動力取出軸に連結された油圧ポンプから油圧モータに作動油を供給し、油圧モータによりミキサドラムを回転駆動するミキサ車が開示されている。
【先行技術文献】
【特許文献】
【0003】
特開2020-66292号公報
【発明の概要】
【発明が解決しようとする課題】
【0004】
エンジンの動力取出軸とミキサドラムの駆動装置とは、ドライブシャフトを介して接続できる。この場合、ドライブシャフトの上方に足場を架け渡せば、足場に乗った状態で駆動装置のメンテナンス作業やミキサドラムの洗浄作業を行えるので、作業性を高めることができる。また、ドライブシャフトをカバーで覆えば、巻き込みに対する安全性も確保できる。
【0005】
しかしながら、ドライブシャフトには、潤滑や摩耗抑制のためのグリスアップ等のメンテナンス作業が必要になる。一方、カバーはボルト等で固定されているため、メンテナンス作業の際にはボルト等を取り除いてからカバーを取り外さなければならなくなり、作業性が悪い。
【0006】
本発明はこのような課題に鑑みてなされたもので、メンテナンス作業性を向上させることを目的とする。
【課題を解決するための手段】
【0007】
本発明は、車両上に回転可能に搭載されたミキサドラムを備えるミキサ車であって、ミキサドラムの駆動源と、駆動源によって駆動され作動流体を吐出する流体圧ポンプ、及び流体圧ポンプから供給される作動流体によって作動しミキサドラムを回転駆動する流体圧モータを有する駆動装置と、駆動源からの動力を駆動装置に伝達するドライブシャフトと、車両左右方向において、ドライブシャフトの両側に配置された車体フレームと、車体フレームの一方から他方にドライブシャフトを跨いで架け渡されるとともに、片持ち状に回転可能に支持される足場と、足場の裏側に連結され、ドライブシャフトを覆うカバーと、足場を所定開度に開かれた状態で保持する保持機構と、を備えることを特徴とする。
【0008】
この発明によれば、カバーごと足場を開閉するので、ドライブシャフトへのアクセスが容易になる。また、所定開度に開かれた状態で足場を保持するので、メンテナンススペースを確保できる。
【0009】
また、本発明は、保持機構は、一端側に設けられ車体フレーム上に設けられた架台上部材に回転可能に支持される回転支持部と、他端側に設けられ所定開度に開かれた状態の足場に係止されて足場を裏側から支えるフック部と、を有するステーである、ことを特徴とする。
【0010】
この発明によれば、ステーのフック部を足場に係止するだけで、足場を開かれた状態で保持できる。また、ステーは足場を裏側から支える、つまりドライブシャフト側に倒れ掛かった状態で支えるので、足場を大きく開くスペースがなくても、メンテナンススペースを確保できる。
(【0011】以降は省略されています)
この特許をJ-PlatPat(特許庁公式サイト)で参照する
関連特許
カヤバ株式会社
緩衝器
10日前
カヤバ株式会社
緩衝器
10日前
カヤバ株式会社
減圧弁
17日前
カヤバ株式会社
防水構造
8日前
カヤバ株式会社
ミキサ車
8日前
カヤバ株式会社
ミキサ車
8日前
カヤバ株式会社
ミキサ車
8日前
カヤバ株式会社
電動ポンプ
15日前
カヤバ株式会社
展開デッキ
8日前
カヤバ株式会社
ギヤポンプ
8日前
カヤバ株式会社
ギヤポンプ
8日前
カヤバ株式会社
ギヤポンプ
8日前
カヤバ株式会社
苗木植付装置
8日前
カヤバ株式会社
苗木抜出装置
8日前
カヤバ株式会社
苗木植付装置
8日前
カヤバ株式会社
苗木植付装置
8日前
カヤバ株式会社
高所作業装置
15日前
カヤバ株式会社
苗木植付装置
8日前
カヤバ株式会社
苗木植付装置
8日前
カヤバ株式会社
回転機の製造方法
15日前
カヤバ株式会社
筒型リニアモータ
10日前
カヤバ株式会社
筒部材及び緩衝器
10日前
カヤバ株式会社
筒部材及び緩衝器
10日前
カヤバ株式会社
筒部材及び緩衝器
10日前
カヤバ株式会社
ポンプの取付構造
11日前
カヤバ株式会社
バルブおよび緩衝器
19日前
カヤバ株式会社
バルブおよび緩衝器
19日前
カヤバ株式会社
ブッシュ及び液圧回転機
15日前
カヤバ株式会社
ステアバイワイヤユニット
15日前
カヤバ株式会社
ミキサ車及び状態検出装置
9日前
カヤバ株式会社
ミキサドラムのシール構造
8日前
カヤバ株式会社
ソレノイドバルブおよび緩衝器
10日前
カヤバ株式会社
ソレノイドバルブおよび緩衝器
10日前
カヤバ株式会社
モータ制御装置、及びプログラム
16日前
カヤバ株式会社
ダンパ減衰力特性生成装置、ダンパ提示装置、及びプログラム
8日前
個人
タイヤレバー
2か月前
続きを見る
他の特許を見る