TOP
|
特許
|
意匠
|
商標
特許ウォッチ
Twitter
他の特許を見る
公開番号
2025125741
公報種別
公開特許公報(A)
公開日
2025-08-28
出願番号
2024021866
出願日
2024-02-16
発明の名称
車室演出装置
出願人
日本精機株式会社
代理人
主分類
B60K
35/22 20240101AFI20250821BHJP(車両一般)
要約
【課題】車室内のデザインの統一性を保ちつつ、斬新な演出が可能な車室演出装置を提供する。
【解決手段】車室演出装置は、車両のダッシュボードの少なくとも一部を構成するカバーパネル2と、カバーパネル2を背面側から照明する光源5aと、を備える。カバーパネル2は、光透過性を有するシート基材40と、シート基材40の背面側に位置し、光透過性を有し、シート基材40を加飾するための加飾層42と、ステッチ表現層43と、を備える。ステッチ表現層43は、加飾層42の背面側に位置する遮光部43s、及び、遮光部43sが形成されていない部分であって縫い目を模した形状のステッチ部43bを有する。ステッチ部43bは、所定方向に並んで複数設けられ、光源5aが発した光によってライン状の縫い目のように視認される。
【選択図】図3
特許請求の範囲
【請求項1】
車両のダッシュボードの少なくとも一部を構成するカバーパネルと、
前記カバーパネルを背面側から照明する光源と、を備え、
前記カバーパネルは、
光透過性を有するシート基材と、
前記シート基材の背面側に位置し、光透過性を有し、前記シート基材を加飾するための加飾層と、
前記加飾層の背面側に位置する遮光部、及び、前記遮光部が形成されていない部分であって縫い目を模した形状のステッチ部を有するステッチ表現層と、を備え、
前記ステッチ部は、所定方向に並んで複数設けられ、前記光源が発した光によってライン状の縫い目のように視認される、
車室演出装置。
続きを表示(約 240 文字)
【請求項2】
前記シート基材の前面側に位置し、前記ステッチ部を覆う位置に設けられ、光透過性を有する凸部をさらに備え、
前記光源から発せられた光は、前記ステッチ部を通過して前記凸部を照明し、
前記凸部は、前記ステッチ部に対応して前記所定方向に並んで複数設けられる、
請求項1に記載の車室演出装置。
【請求項3】
前記光源は、前記所定方向に並んで複数設けられ、各々が個別に発光制御可能である、
請求項1又は2に記載の車室演出装置。
発明の詳細な説明
【技術分野】
【0001】
本開示は、車室演出装置に関する。
続きを表示(約 1,100 文字)
【背景技術】
【0002】
特許文献1には、車両(自動車)のダッシュボードに配置された表示パネルと、ダッシュボードに配置されたライン照明と、運転席側のドアの内張に配置されたライン照明と、助手席側のドアの内張に配置されたライン照明と、を備える車両用表示装置が記載されている。当該装置は、表示パネルのライン表示部とライン照明とに関連を持たせることで、車室空間を演出する。
【先行技術文献】
【特許文献】
【0003】
特開2022-176616号公報
【発明の概要】
【発明が解決しようとする課題】
【0004】
特許文献1に記載の装置では、ライン照明の専用部材とダッシュボードとの質感の違いにより、車室内のデザインの統一性が損なわれる虞がある。
【0005】
本開示は、上記実情に鑑みてなされたものであり、車室内のデザインの統一性を保ちつつ、斬新な演出が可能な車室演出装置を提供することを目的とする。
【課題を解決するための手段】
【0006】
上記目的を達成するため、本開示に係る車室演出装置は、
車両のダッシュボードの少なくとも一部を構成するカバーパネルと、
前記カバーパネルを背面側から照明する光源と、を備え、
前記カバーパネルは、
光透過性を有するシート基材と、
前記シート基材の背面側に位置し、光透過性を有し、前記シート基材を加飾するための加飾層と、
前記加飾層の背面側に位置する遮光部、及び、前記遮光部が形成されていない部分であって縫い目を模した形状のステッチ部を有するステッチ表現層と、を備え、
前記ステッチ部は、所定方向に並んで複数設けられ、前記光源が発した光によってライン状の縫い目のように視認される。
【発明の効果】
【0007】
本開示によれば、車室内のデザインの統一性を保ちつつ、斬新な演出が可能である。
【図面の簡単な説明】
【0008】
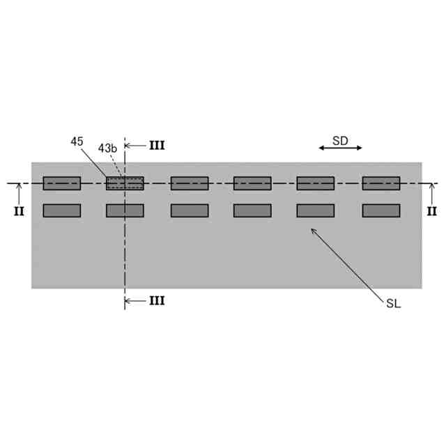
本開示の一実施形態に係る車室演出装置の正面図。
図1のI部の拡大図。
図2に示すII-II線での概略断面図。
図2に示すIII-III線での概略断面図。
【発明を実施するための形態】
【0009】
本開示の一実施形態について図面を参照して説明する。
【0010】
本実施形態に係る車室演出装置10は、図1に示すように、車室内のダッシュボード11(インストルメントパネルを含む)に搭載され、車室空間を演出する。
(【0011】以降は省略されています)
この特許をJ-PlatPat(特許庁公式サイト)で参照する
関連特許
日本精機株式会社
照明装置
22日前
日本精機株式会社
検出装置
21日前
日本精機株式会社
表示装置
22日前
日本精機株式会社
位置検出装置
1か月前
日本精機株式会社
車載表示装置
28日前
日本精機株式会社
位置検出装置
1か月前
日本精機株式会社
画像投映装置
1か月前
日本精機株式会社
運転支援装置
20日前
日本精機株式会社
車載表示装置
1か月前
日本精機株式会社
車載表示装置
1か月前
日本精機株式会社
車両用投射装置
1か月前
日本精機株式会社
車両用表示装置
1か月前
日本精機株式会社
サージ保護回路
1か月前
日本精機株式会社
車両用投射装置
1か月前
日本精機株式会社
車両用報知装置
1か月前
日本精機株式会社
車両用表示装置
28日前
日本精機株式会社
ミラーユニット
28日前
日本精機株式会社
スペックル低減装置
1か月前
日本精機株式会社
鞍乗型車両用表示装置
19日前
日本精機株式会社
表示装置及びその製造方法
22日前
日本精機株式会社
スクリーン反射型表示装置
20日前
日本精機株式会社
ヘッドアップディスプレイ
22日前
日本精機株式会社
ヘッドアップディスプレイ
19日前
日本精機株式会社
ヘッドアップディスプレイ装置
20日前
日本精機株式会社
ヘッドアップディスプレイ装置
1か月前
日本精機株式会社
ヘッドアップディスプレイ装置
19日前
日本精機株式会社
表示制御装置、表示装置、及び表示制御方法
19日前
日本精機株式会社
ヘッドアップディスプレイ装置及び表示制御装置
19日前
日本精機株式会社
嚥下異常検出システム、嚥下異常検出装置および嚥下異常検出用プログラム
19日前
日本精機株式会社
ヘッドアップディスプレイ装置
1か月前
日本精機株式会社
音圧制御装置、及びサウンダーの音圧制御システム、並びにサウンダーの音圧制御方法
1か月前
日本精機株式会社
ヘッドアップディスプレイ装置、ヘッドアップディスプレイ装置の制御方法、および表示制御プログラム
1か月前
日本精機株式会社
表示制御装置、ヘッドアップディスプレイ装置、表示装置の制御方法、プログラム、および車両用表示システム
1か月前
日本精機株式会社
表示制御装置、ヘッドアップディスプレイ装置、表示制御方法、表示制御プログラム、および車両用表示システム
20日前
日本精機株式会社
車両用表示制御装置、ヘッドアップディスプレイ装置、表示制御方法、表示制御プログラム、および車両用表示システム
20日前
個人
タイヤレバー
3か月前
続きを見る
他の特許を見る