TOP
|
特許
|
意匠
|
商標
特許ウォッチ
Twitter
他の特許を見る
公開番号
2025167426
公報種別
公開特許公報(A)
公開日
2025-11-07
出願番号
2024072004
出願日
2024-04-26
発明の名称
ヘッドアップディスプレイ装置及び表示制御装置
出願人
日本精機株式会社
代理人
主分類
B60K
35/233 20240101AFI20251030BHJP(車両一般)
要約
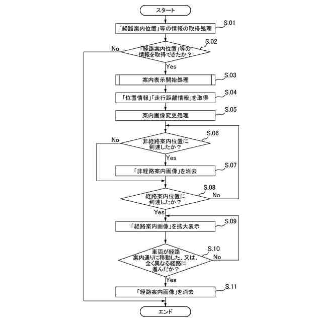
【課題】非経路案内画像に基づく現実世界の位置と経路案内画像に基づく現実世界の位置との違いを、各画像の表示状態から容易に把握させること。
【解決手段】ヘッドアップディスプレイ装置は、車両前方の風景に対して案内画像を重畳表示させる画像表示手段と、案内画像を調整して、視認者によって視認される案内画像の表示位置を、近遠方向に変化させる制御手段とを有する。制御手段は、経路案内位置より所定距離手前に位置する報知開始位置を、車両1が通過した場合に、非経路案内位置に非経路案内画像を重畳表示させる。その後に、制御手段は、経路案内画像を、非経路案内画像よりも手前側で視認されるように調整して、画像表示手段により表示させる。そして、制御手段は、経路案内画像を調整することにより、経路案内画像を、非経路案内画像の表示位置の手前側から奥側へと変化させるように表示させる。
【選択図】図7
特許請求の範囲
【請求項1】
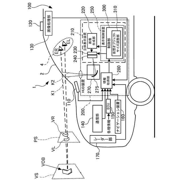
被投影部に対して案内画像を投影することにより、車両前方の風景に対して前記案内画像を重畳表示させる画像表示手段と、
該画像表示手段により投影される前記案内画像を調整することにより、前記車両に搭乗する視認者によって視認される前記案内画像の表示位置を、近遠方向に変化させる制御手段と
を有し、
前記制御手段は、前記視認者に対して経路案内を行う経路案内位置より所定距離手前に位置する報知開始位置を、前記車両が通過した場合に、
前記報知開始位置と前記経路案内位置との間に位置して前記経路案内を行うべきでない非経路案内位置において、前記視認者に視認させる非経路案内画像を、前記画像表示手段により前記非経路案内位置に重畳表示させた後に、
前記経路案内位置において前記経路案内を行うための経路案内画像を、前記視認者により前記非経路案内画像の表示位置よりも手前側で視認されるように調整して、前記画像表示手段により表示させ、
前記非経路案内画像の表示位置よりも手前側で視認されるように表示された前記経路案内画像を調整することにより、前記画像表示手段により表示された前記経路案内画像を、前記非経路案内画像の表示位置の手前側から奥側へと変化させるように表示させること
を特徴とするヘッドアップディスプレイ装置。
続きを表示(約 1,100 文字)
【請求項2】
前記制御手段は、前記非経路案内画像の表示位置の奥側へと変化された前記経路案内画像を調整し、前記画像表示手段により前記経路案内画像を前記経路案内位置に重畳表示させること
を特徴とする請求項1に記載のヘッドアップディスプレイ装置。
【請求項3】
前記制御手段は、前記車両が前記非経路案内位置を通過した場合に、前記非経路案内位置に重畳表示されていた前記非経路案内画像を消去させること
を特徴とする請求項1又は請求項2に記載のヘッドアップディスプレイ装置。
【請求項4】
前記制御手段は、前記報知開始位置と前記経路案内位置との間に位置する前記非経路案内位置が複数箇所存在する場合において、前記画像表示手段により、それぞれの前記非経路案内位置に対応するようにして非経路案内画像を重畳表示させると共に、全ての前記非経路案内画像を同時に重畳表示させること
を特徴とする請求項1又は請求項2に記載のヘッドアップディスプレイ装置。
【請求項5】
前記報知開始位置と前記経路案内位置との間に位置する前記非経路案内位置が複数箇所存在する場合に、
前記制御手段は、
複数の前記非経路案内位置のうち、前記報知開始位置から一番近い前記非経路案内位置に重畳表示された前記非経路案内画像の表示位置よりも、前記経路案内画像が手前側に視認されるように、前記経路案内画像を調整して前記画像表示手段により表示させた後に、
前記非経路案内画像の表示位置よりも手前側で視認されるように表示された前記経路案内画像を調整することにより、前記画像表示手段により表示された前記経路案内画像が、一番近い前記非経路案内位置に重畳表示された前記非経路案内画像の表示位置の手前側から、前記報知開始位置から一番遠い前記非経路案内位置に重畳表示された前記非経路案内画像の表示位置よりも奥側へ移動したものと、前記視認者に視認されるように、前記経路案内画像の表示位置を変化させて表示させること
を特徴とする請求項4に記載のヘッドアップディスプレイ装置。
【請求項6】
被投影部に対して案内画像を投影することにより、車両前方の風景に対して前記案内画像を重畳表示させるヘッドアップディスプレイ装置を制御する表示制御装置であって、
経路案内を行う経路案内位置を示す情報と、前記経路案内位置よりも近く、前記経路案内を行わない非経路案内位置を示す情報と、を取得し、
前記非経路案内位置に対応する位置に非経路案内画像を表示させ、
前記非経路案内画像を表示した後、前記非経路案内画像の手前側から奥側に移動したように経路案内画像を表示させる制御部を備えること
を特徴とする表示制御装置。
発明の詳細な説明
【技術分野】
【0001】
本開示は、ヘッドアップディスプレイ装置及び表示制御装置に関する。
続きを表示(約 2,100 文字)
【背景技術】
【0002】
車両のインストルメントパネルの上部に設けられた投影用スクリーンに対して、車両の走行経路を案内するための経路案内画像(矢印アイコン等)を表示させることにより、右左折すべき道路を運転者に対して直感的に知らせることが可能なヘッドアップディスプレイ(Head Up Display)装置(以下、HUD装置と称する)が知られている。近年では、運転者により視認される車両前方の景色と重畳するようにして、走行経路を案内するための経路案内画像や店舗アイコン等のPOI(Point of Interest)画像を車両前方のウインドシールド(被投影部,フロントウィンドウ)に投影することにより、現実世界の周囲の景色(実景)に、仮想の視覚情報(経路案内画像等)を重ね合わせるAR(Augmented Reality、拡張現実)ナビゲーション装置用のHUD装置が提案されている(例えば、特許文献1参照)。
【先行技術文献】
【特許文献】
【0003】
特開2005-69800号公報
【発明の概要】
【発明が解決しようとする課題】
【0004】
しかしながら、ARナビゲーション装置用のHUD装置を用いて、実景に重畳させるようにして右左折用の経路案内画像等を投影させた場合、運転者は、現実にどの位置で曲がるべきかを、投影された経路案内画像等に基づいて把握することが容易ではないという問題があった。
【0005】
このため、曲がるべきでない交差点等において、非経路案内を示す画像(非経路案内画像)を表示させることにより、曲がるべき交差点等を把握し易くしたHUD装置も開発されている。しかしながら、このようなHUD装置を用いても、曲がるべきでない非経路案内画像が重畳表示された現実世界(実景)の位置(実空間位置)と、曲がるべき経路案内画像が重畳表示された現実世界(実景)の位置との距離差を、各画像の表示状態から判断することは容易ではなく、却って走行経路を事前に把握することが難しいという問題があった。
【0006】
本開示は、上記課題に鑑みて成されたものであり、非経路案内画像に基づく現実世界の位置と経路案内画像に基づく現実世界の位置との違いを、各画像の表示状態から容易に把握することができ、走行経路を事前に把握しやすいヘッドアップディスプレイ装置を提供することを課題とする。
【課題を解決するための手段】
【0007】
上述した課題を解決するために、本開示の第1実施形態におけるヘッドアップディスプレイ装置は、被投影部に対して案内画像を投影することにより、車両前方の風景に対して前記案内画像を重畳表示させる画像表示手段と、該画像表示手段により投影される前記案内画像を調整することにより、前記車両に搭乗する視認者によって視認される前記案内画像の表示位置を、近遠方向に変化させる制御手段とを有し、前記制御手段は、前記視認者に対して経路案内を行う経路案内位置より所定距離手前に位置する報知開始位置を、前記車両が通過した場合に、前記報知開始位置と前記経路案内位置との間に位置して前記経路案内を行うべきでない非経路案内位置において、前記視認者に視認させる非経路案内画像を、前記画像表示手段により前記非経路案内位置に重畳表示させた後に、前記経路案内位置において前記経路案内を行うための経路案内画像を、前記視認者により前記非経路案内画像の表示位置よりも手前側で視認されるように調整して、前記画像表示手段により表示させ、前記非経路案内画像の表示位置よりも手前側で視認されるように表示された前記経路案内画像を調整することにより、前記画像表示手段により表示された前記経路案内画像を、前記非経路案内画像の表示位置の手前側から奥側へと変化させるように表示させることを特徴とする。
【0008】
また、第1実施形態に従属し得る第2実施形態におけるヘッドアップディスプレイ装置において、前記制御手段は、前記非経路案内画像の表示位置の奥側へと変化された前記経路案内画像を調整し、前記画像表示手段により前記経路案内画像を前記経路案内位置に重畳表示させるものであってもよい。
【0009】
さらに、第1実施形態または第2実施形態に従属し得る第3実施形態におけるヘッドアップディスプレイ装置において、前記制御手段は、前記車両が前記非経路案内位置を通過した場合に、前記非経路案内位置に重畳表示されていた前記非経路案内画像を消去させるものであってもよい。
【0010】
また、第1実施形態乃至第3実施形態のいずれかに従属し得る第4実施形態におけるヘッドアップディスプレイ装置において、前記制御手段は、前記報知開始位置と前記経路案内位置との間に位置する前記非経路案内位置が複数箇所存在する場合において、前記画像表示手段により、それぞれの前記非経路案内位置に対応するようにして非経路案内画像を重畳表示させると共に、全ての前記非経路案内画像を同時に重畳表示させるものであってもよい。
(【0011】以降は省略されています)
この特許をJ-PlatPat(特許庁公式サイト)で参照する
関連特許
個人
前輪キャスター
3か月前
個人
上部一体型自動車
1か月前
個人
空間形成装置
1か月前
個人
ルーフ付きトライク
3か月前
個人
タイヤ脱落防止構造
3か月前
日本精機株式会社
照明装置
25日前
個人
マスタシリンダ
2か月前
日本精機株式会社
表示装置
3か月前
個人
常設収納型サンバイザー
1か月前
日本精機株式会社
車載表示装置
1か月前
日本精機株式会社
車載表示装置
1か月前
株式会社ニフコ
収納装置
2か月前
日本精機株式会社
画像投映装置
1か月前
株式会社豊田自動織機
産業車両
3か月前
株式会社ニフコ
照明装置
3か月前
日本精機株式会社
車室演出装置
3か月前
個人
回転窓ワイパー装置
1か月前
日本精機株式会社
車載表示装置
1か月前
株式会社豊田自動織機
産業車両
25日前
日本精機株式会社
車載表示装置
2か月前
日本精機株式会社
車両用投射装置
1か月前
個人
音による速度計とプログラム
1か月前
日本精機株式会社
車両用投影装置
2か月前
日本精機株式会社
車両用表示装置
3か月前
日本精機株式会社
車両用報知装置
1か月前
株式会社SUBARU
車両
1か月前
井関農機株式会社
作業車両
2か月前
日本精機株式会社
車両用表示装置
1か月前
日本化薬株式会社
ガス発生器
23日前
日本化薬株式会社
ガス発生器
3日前
日産自動車株式会社
伝動部材
1か月前
個人
段差通過を容易にする車輪構造
3か月前
日本化薬株式会社
ガス発生器
2か月前
ダイハツ工業株式会社
変速機
3か月前
日本化薬株式会社
ガス発生器
1か月前
スズキ株式会社
運転支援装置
3か月前
続きを見る
他の特許を見る