TOP
|
特許
|
意匠
|
商標
特許ウォッチ
Twitter
他の特許を見る
公開番号
2025166283
公報種別
公開特許公報(A)
公開日
2025-11-06
出願番号
2024070176
出願日
2024-04-24
発明の名称
ヘッドアップディスプレイ装置
出願人
日本精機株式会社
代理人
主分類
G02B
27/01 20060101AFI20251029BHJP(光学)
要約
【課題】最小限の部品点数で異なる2つの表示像を視認させるヘッドアップディスプレイ装置を提供する。
【解決手段】第1像及び第2像に関して共通となる1つの光源11と、光源11の光の偏光を第1偏光と第2偏光とに切り替える偏光切替素子124と、偏光切替素子124からの光線を第1光路又は第2光路に沿って出射する分岐部126と、第1光路上の第1表示素子71と、第2光路上の第2表示素子72とを備え、光源11の光で表示像を表示する表示部12と、表示像をウィンドシールドWSに向けて反射させる反射部13と、偏光切替素子124を制御する制御部15とを有し、制御部15は、第1表示素子71からウィンドシールドWSまでの第1光路長と、第2表示素子72からウィンドシールドWSまでの第2光路長との偏差に基づき、第1偏光を第1像として、第2偏光を第2像として視認させる。
【選択図】図1
特許請求の範囲
【請求項1】
射出口を有し、前記射出口から表示光を透光部材に向けて射出することで前記表示光が表す表示像の第1像及び第2像を視認させるヘッドアップディスプレイ装置であって、
前記第1像及び前記第2像に関して共通となる1つの光源と、前記1つの光源からの光路に沿って当該光源よりも前記射出口側に設けられ、射出する光の偏光を互いに異なる第1偏光と第2偏光とに切り替えて出力可能な切替出力部と、前記切替出力部からの光路に沿って当該切替出力部よりも前記射出口側に設けられ、入射光が前記第1偏光の場合は対応する第1光線を第1光路に沿って出射し入射光が前記第2偏光の場合は対応する第2光線を前記第1光路とは別角度となる第2光路に沿って出射する分岐部と、前記第1光路に沿って前記分岐部よりも前記射出口側に設けられた第1表示素子と、前記第2光路に沿って前記分岐部よりも前記射出口側に設けられた第2表示素子と、を備え、前記1つの光源が出射した光を透過させると共に前記表示像を表示する表示部と、
前記表示部に表示された前記表示像を表す光を前記透光部材に向けて反射させる反射部と、
前記切替出力部を制御する制御部と、
を有し、
前記制御部は、
前記第1光路に沿って前記第1表示素子から前記反射部を経て前記透光部材までの第1光路長と、前記第2光路に沿って前記第2表示素子から前記反射部を経て前記透光部材までの第2光路長との偏差に基づき、前記切替出力部に前記第1偏光の光を射出させることで前記第1像を視認させ、前記切替出力部に前記第2偏光の光を射出させることで前記第2像を視認させる
ことを特徴とするヘッドアップディスプレイ装置。
続きを表示(約 1,900 文字)
【請求項2】
前記反射部は、複数のミラーを備えており、
前記複数のミラーは、
前記第1光路に沿って前記第1表示素子よりも前記射出口側においてN個(Nは2以上の整数)の前記ミラーが位置し、前記第2光路に沿って前記第2表示素子よりも前記射出口側においてM個(前記Mは前記Nより小さい又は同数である正の整数)の前記ミラーが位置するように配置されている
ことを特徴とする請求項1記載のヘッドアップディスプレイ装置。
【請求項3】
前記第1光路長及び前記第2光路長が、
前記切替出力部が前記第1偏光の光を射出し前記分岐部が前記第1光線を出射するときは、前記透光部材及び前記反射部を含む結像光学系の第1光学焦点と前記第1表示素子との間の位置関係において、前記第1表示素子が前記第1光路上において前記第1光学焦点よりも前記光源側に位置する第1状態となって前記第1像としての実像が視認され、
前記切替出力部が前記第2偏光の光を射出し前記分岐部が前記第2光線を出射するときは、前記透光部材及び前記反射部を含む結像光学系の第2光学焦点と前記第2表示素子との間の位置関係において、前記第2表示素子が前記第2光路及びその延長線上において前記第2光学焦点よりも前記射出口側に位置する第2状態となって前記第2像としての虚像が視認される、
ように前記表示部及び前記反射部が配置されている
ことを特徴とする請求項1又は請求項2記載のヘッドアップディスプレイ装置。
【請求項4】
前記第1光路長及び前記第2光路長が、
前記切替出力部が前記第1偏光の光を射出し前記分岐部が前記第1光線を出射するときは、前記透光部材及び前記反射部を含む結像光学系の第1光学焦点と前記第1表示素子との間の位置関係において、前記第1表示素子が前記第1光路上において前記第1光学焦点よりも前記光源側に位置する第3状態となって前記第1像としての第1実像が視認され、
前記切替出力部が前記第2偏光の光を射出し前記分岐部が前記第2光線を出射するときは、前記透光部材及び前記反射部を含む結像光学系の第2光学焦点と前記第2表示素子との間の位置関係において、前記第2表示素子が前記第2光路上において前記第2光学焦点よりも前記光源側に位置する第4状態となって前記第2像としての第2実像が前記第1実像よりも前記透光部材側に視認される、
ように前記表示部及び前記反射部が配置されている
ことを特徴とする請求項1又は請求項2記載のヘッドアップディスプレイ装置。
【請求項5】
前記第1光路長及び前記第2光路長が、
前記切替出力部が前記第1偏光の光を射出し前記分岐部が前記第1光線を出射するときは、前記透光部材及び前記反射部を含む結像光学系の第1光学焦点と前記第1表示素子との間の位置関係において、前記第1表示素子が前記第1光路及びその延長線上において前記第1光学焦点よりも前記射出口側に位置する第5状態となって前記第1像としての第1虚像が視認され、
前記切替出力部が前記第2偏光の光を射出し前記分岐部が前記第2光線を出射するときは、前記透光部材及び前記反射部を含む結像光学系の第2光学焦点と前記第2表示素子との間の位置関係において、前記第2表示素子が前記第2光路及びその延長線上において前記第2光学焦点よりも前記射出口側に位置する第6状態となって前記第2像としての第2虚像が前記第1虚像よりも前記透光部材側に視認される、
ように前記表示部及び前記反射部が配置されている
ことを特徴とする請求項1又は請求項2記載のヘッドアップディスプレイ装置。
【請求項6】
前記分岐部は、
前記第1偏光と前記第2偏光とで光の屈折方向が異なるプリズムである
ことを特徴とする請求項1又は請求項2記載のヘッドアップディスプレイ装置。
【請求項7】
前記プリズムは、結晶偏光子を備える
ことを特徴とする請求項6記載のヘッドアップディスプレイ装置。
【請求項8】
前記分岐部は、
前記第1偏光及び前記第2偏光のうち一方の偏光の光を透過し、他方の偏光の光を反射する偏光反射部材である
ことを特徴とする請求項1又は請求項2記載のヘッドアップディスプレイ装置。
【請求項9】
前記1つの光源で生じる熱を放熱する1つの放熱部材を有する
ことを特徴とする請求項1又は請求項2記載のヘッドアップディスプレイ装置。
発明の詳細な説明
【技術分野】
【0001】
本発明は、2つの表示像を切り替えて表示するヘッドアップディスプレイ装置に関するものである。
続きを表示(約 2,400 文字)
【背景技術】
【0002】
従来、例えば特許文献1に記載の空中像投影装置が知られている。この空中像投影装置では、一方の表示装置から発せられた光を車外の位置に虚像として利用者に視認させ、他方の表示装置から発せられた光を車内の位置に実像として利用者に視認させる。
【先行技術文献】
【特許文献】
【0003】
特開2022-129223号公報
【発明の概要】
【発明が解決しようとする課題】
【0004】
しかしながら、上記従来の空中像投影装置では、それぞれの表示像を表示するために2つの表示装置が必要であり、それに伴い、2つのバックライトが必要となる。また、この場合、それぞれのバックライトごとに放熱用のヒートシンクが必要となるため、部品点数の増加とコスト増になるという問題があった。
【0005】
そこで、本発明は、上記問題点に鑑みてなされたものであり、最小限の部品点数で異なる2つの表示像を視認させるヘッドアップディスプレイ装置を提供することを目的とする。
【課題を解決するための手段】
【0006】
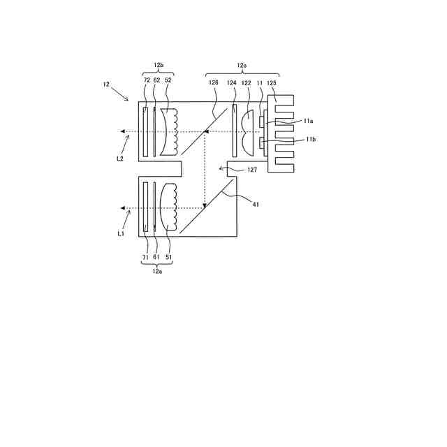
本発明は、射出口17を有し、前記射出口17から表示光Lを透光部材WSに向けて射出することで前記表示光Lが表す表示像の第1像RI,VI,RI1,VI1及び第2像VI,RI,RI2,VI2を視認させるヘッドアップディスプレイ装置1であって、前記第1像RI,VI,RI1,VI1及び前記第2像VI,RI,RI2,VI2に関して共通となる1つの光源11と、前記1つの光源11からの光路に沿って当該光源11よりも前記射出口17側に設けられ、射出する光の偏光を互いに異なる第1偏光と第2偏光とに切り替えて出力可能な切替出力部124と、前記切替出力部124からの光路に沿って当該切替出力部124よりも前記射出口17側に設けられ、入射光が前記第1偏光の場合は対応する第1光線を第1光路に沿って出射し入射光が前記第2偏光の場合は対応する第2光線を前記第1光路とは別角度となる第2光路に沿って出射する分岐部126と、前記第1光路に沿って前記分岐部126よりも前記射出口17側に設けられた第1表示素子71と、前記第2光路に沿って前記分岐部126よりも前記射出口17側に設けられた第2表示素子72と、を備え、前記1つの光源11が出射した光を透過させると共に前記表示像を表示する表示部12と、前記表示部12に表示された前記表示像を表す光を前記透光部材WSに向けて反射させる反射部13と、前記切替出力部124を制御する制御部15と、を有し、前記制御部15は、前記第1光路に沿って前記第1表示素子71から前記反射部13を経て前記透光部材WSまでの第1光路長と、前記第2光路に沿って前記第2表示素子72から前記反射部13を経て前記透光部材WSまでの第2光路長との偏差に基づき、前記切替出力部124に前記第1偏光の光を射出させることで前記第1像RI,VI,RI1,VI1を視認させ、前記切替出力部124に前記第2偏光の光を射出させることで前記第2像VI,RI,RI2,VI2を視認させることを特徴とする。
【発明の効果】
【0007】
本発明によれば、少ない部品点数で異なる2つの表示像を切り替えて表示するヘッドアップディスプレイ装置を提供することができる。
【図面の簡単な説明】
【0008】
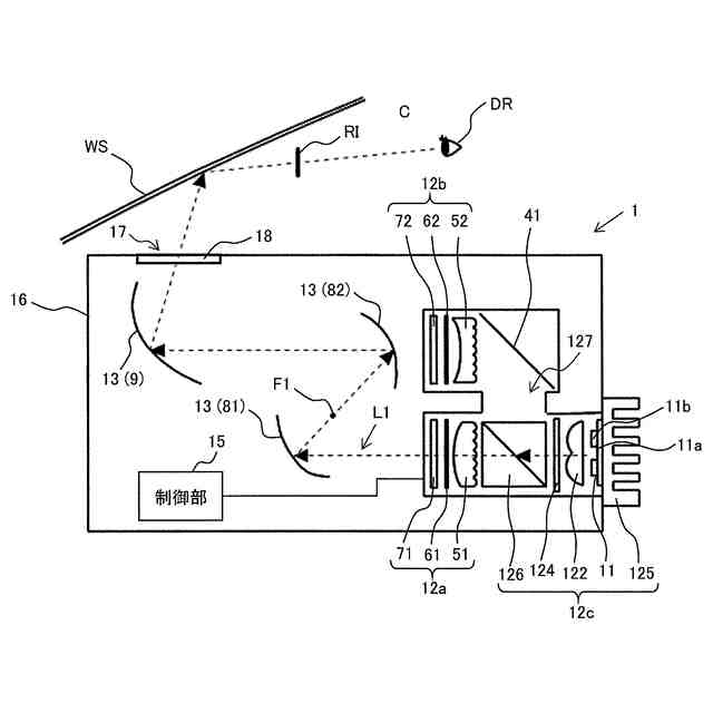
本発明の第1の実施形態に係るヘッドアップディスプレイ装置において実像を生成する場合の構成を示す図。
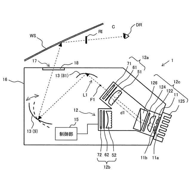
本発明の第1の実施形態に係るヘッドアップディスプレイ装置において虚像を生成する場合の構成を示す図。
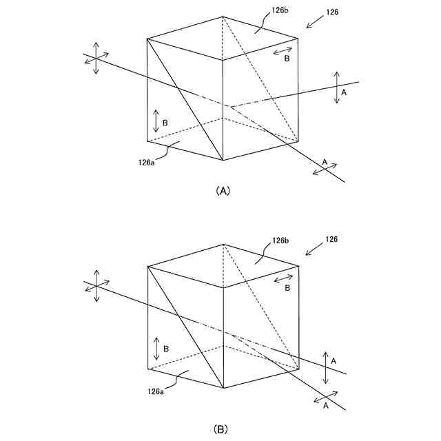
(A)ウォラストンプリズムの構造、(B)ロションプリズムの構造を示す図。
本発明の第2の実施形態に係るヘッドアップディスプレイ装置において実像を生成する場合の構成を示す図。
本発明の第2の実施形態に係るヘッドアップディスプレイ装置において虚像を生成する場合の構成を示す図。
本発明の第2の実施形態に係るヘッドアップディスプレイ装置において表示部の他のレイアウトの一例を示す図。
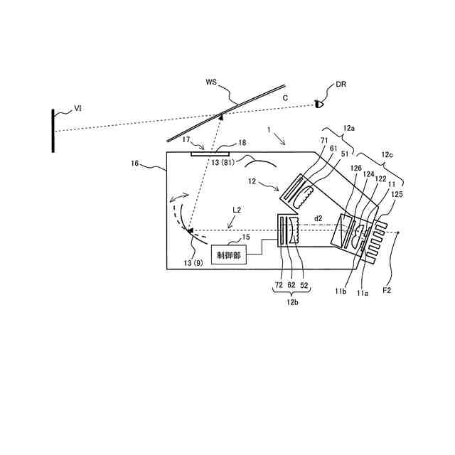
本発明のその他の実施形態に係るヘッドアップディスプレイ装置において、2つの実像を異なる位置に切り替えて表示する場合の構成を示す図。
本発明のその他の実施形態に係るヘッドアップディスプレイ装置において、2つの虚像を異なる位置に切り替えて表示する場合の構成を示す図。
【発明を実施するための形態】
【0009】
(本発明の第1の実施形態)
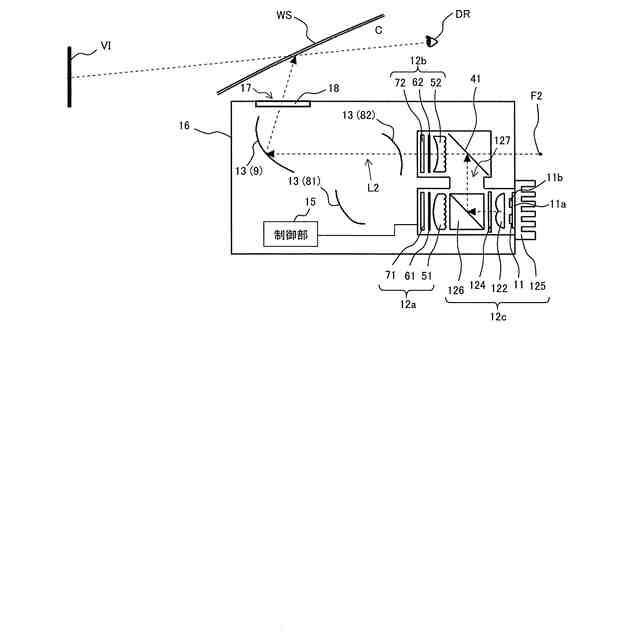
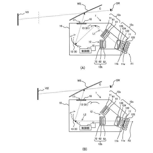
本実施形態に係るヘッドアップディスプレイ装置(以下、HUD装置という)について図1ないし図3を参照して説明する。図1は、本実施形態に係るHUD装置において実像を生成する場合の構成を示す図、図2は、本実施形態に係るHUD装置において虚像を生成する場合の構成を示す図である。
【0010】
図1及び図2において、HUD装置1は、実像RI(第1像)の表示像を表す第1表示光L1(第1光線)を出射すると共に、虚像VI(第2像)の表示像を表す第2表示光L2(第2光線)を出射する表示部12と、当該表示部12から出射された第1表示光L1及び第2表示光L2をウィンドシールドWS(透光部材)に反射する反射部13(凹面鏡9,第1補正鏡81)と、表示部12における表示内容の制御や偏光の切替制御を行う制御部15とを備える。表示部12、反射部13及び制御部15は筐体16に収容され、筐体16には第1表示光L1及び第2表示光L2が射出される開口部17(射出口)が設けられ、当該開口部17には内部を保護するためのカバーガラス18が設置される。
(【0011】以降は省略されています)
この特許をJ-PlatPat(特許庁公式サイト)で参照する
関連特許
日本精機株式会社
表示装置
1か月前
日本精機株式会社
回路基板
今日
日本精機株式会社
検出装置
1か月前
日本精機株式会社
照明装置
1か月前
日本精機株式会社
車載表示装置
1か月前
日本精機株式会社
運転支援装置
1か月前
日本精機株式会社
発光表示装置
12日前
日本精機株式会社
車載表示装置
1か月前
日本精機株式会社
プロジェクタ
4日前
日本精機株式会社
車載表示装置
1か月前
日本精機株式会社
車両用報知装置
1か月前
日本精機株式会社
車両用表示装置
1か月前
日本精機株式会社
車両用表示装置
4日前
日本精機株式会社
ミラーユニット
1か月前
日本精機株式会社
交通保安用投影装置
今日
日本精機株式会社
鞍乗型車両用表示装置
5日前
日本精機株式会社
照明装置及び表示装置
11日前
日本精機株式会社
鞍乗型車両用表示装置
1か月前
日本精機株式会社
車両表示装置用回路基板
4日前
日本精機株式会社
スクリーン反射型表示装置
1か月前
日本精機株式会社
ヘッドアップディスプレイ
1か月前
日本精機株式会社
ヘッドアップディスプレイ
1か月前
日本精機株式会社
表示装置及びその製造方法
1か月前
日本精機株式会社
ヘッドアップディスプレイ装置
1か月前
日本精機株式会社
ヘッドアップディスプレイ装置
1か月前
日本精機株式会社
表示装置及びヘッドアップディスプレイ装置
今日
日本精機株式会社
表示制御装置、表示装置、及び表示制御方法
1か月前
日本精機株式会社
表示制御装置、表示装置、及び表示制御方法
4日前
日本精機株式会社
ヘッドアップディスプレイ装置及び表示制御装置
1か月前
日本精機株式会社
ヘッドアップディスプレイ装置、及び画像回転角度設定方法
4日前
日本精機株式会社
嚥下異常検出システム、嚥下異常検出装置および嚥下異常検出用プログラム
1か月前
日本精機株式会社
表示制御装置、ヘッドアップディスプレイ装置、表示制御方法、表示制御プログラム、及び車両用表示システム
12日前
日本精機株式会社
表示制御装置、ヘッドアップディスプレイ装置、表示装置の制御方法、プログラム、および車両用表示システム
1か月前
日本精機株式会社
表示制御装置、ヘッドアップディスプレイ装置、表示制御方法、表示制御プログラム、および車両用表示システム
1か月前
日本精機株式会社
車両用表示制御装置、ヘッドアップディスプレイ装置、表示制御方法、表示制御プログラム、および車両用表示システム
1か月前
株式会社シグマ
結像光学系
1か月前
続きを見る
他の特許を見る