TOP
|
特許
|
意匠
|
商標
特許ウォッチ
Twitter
他の特許を見る
公開番号
2025141307
公報種別
公開特許公報(A)
公開日
2025-09-29
出願番号
2024041185
出願日
2024-03-15
発明の名称
車両用センサ装置
出願人
日本精機株式会社
代理人
主分類
G09G
3/36 20060101AFI20250919BHJP(教育;暗号方法;表示;広告;シール)
要約
【課題】外光の光量の判定に関する閾値を制御部に記憶させる必要がない車両用センサ装置を提供する。
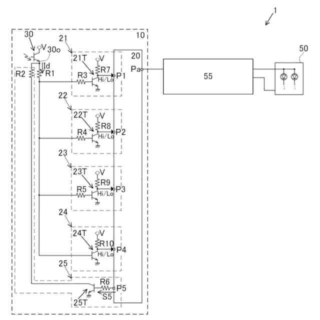
【解決手段】車両用センサ装置10は、外光の光量に応じた検出電流Idを出力端子30oから出力するフォトトランジスタ30と、出力端子30oに接続される制限抵抗R1と、検出電流Idが閾値以上であるか否かによりHiかLo信号を出力する検出回路21と、このHi又はLo信号を入力する汎用入力ポートP1を有し、この入力された信号がHiかLo信号であるかにより検出電流Idが閾値以上であるか否かを判定する制御部20と、を備える。検出回路21は、制限抵抗R1に接続され、閾値に応じた抵抗値を有するベース抵抗R3と、プルアップ抵抗R7と、ベース抵抗R3が接続されるベース端子、プルアップ抵抗R7と汎用入力ポートP1の間に接続されるコレクタ端子、及びグランドに接続されるエミッタ端子を有するトランジスタ21Tと、を備える。
【選択図】図1
特許請求の範囲
【請求項1】
外光の光量に応じた検出電流を出力端子から出力するフォトトランジスタと、
前記出力端子に接続される制限抵抗と、
前記検出電流が第1閾値以上であるか否かによりHi信号かLo信号を出力する光量検出回路と、
前記光量検出回路からの前記Hi信号又は前記Lo信号を入力する第1汎用入力ポートを有し、前記第1汎用入力ポートに入力された信号が前記Hi信号か前記Lo信号であるかにより前記検出電流が前記第1閾値以上であるか否かを判定する制御部と、を備え、
前記光量検出回路は、
前記制限抵抗に接続され、前記第1閾値に応じた抵抗値を有する第1ベース抵抗と、
第1プルアップ抵抗と、
前記第1ベース抵抗が接続されるベース端子、前記第1プルアップ抵抗と前記第1汎用入力ポートの間に接続されるコレクタ端子、及びグランドに接続されるエミッタ端子を有する第1スイッチ素子と、を備える、
車両用センサ装置。
続きを表示(約 1,000 文字)
【請求項2】
複数の前記光量検出回路は、それぞれ異なる前記第1閾値を持つように異なる抵抗値を有する前記第1ベース抵抗を備える、
請求項1に記載の車両用センサ装置。
【請求項3】
前記検出電流が前記第1閾値よりも大きい第2閾値以上であるか否かによりHi信号かLo信号を出力するショート検出回路を更に備え、
前記制御部は、前記ショート検出回路からの前記Hi信号又は前記Lo信号を入力する第2汎用入力ポートを有し、前記第2汎用入力ポートに入力された信号が前記Hi信号か前記Lo信号であるかによりショート故障の有無を判定し、
前記ショート検出回路は、
前記制限抵抗に接続され、前記光量検出回路の前記第1ベース抵抗の抵抗値よりも大きい抵抗値を有する第2ベース抵抗と、
第2プルアップ抵抗と、
前記第2ベース抵抗が接続されるベース端子、前記第2プルアップ抵抗と前記第2汎用入力ポートの間に接続されるコレクタ端子、及びグランドに接続されるエミッタ端子を有する第2スイッチ素子と、を備える、
請求項1に記載の車両用センサ装置。
【請求項4】
前記検出電流が前記第1閾値よりも小さい第3閾値以上であるか否かによりHi信号かLo信号を出力するオープン検出回路を更に備え、
前記制御部は、前記オープン検出回路からの前記Hi信号又は前記Lo信号を入力する第3汎用入力ポートを有し、前記第3汎用入力ポートに入力された信号が前記Hi信号か前記Lo信号であるかによりオープン故障の有無を判定し、
前記オープン検出回路は、
第3プルアップ抵抗と、
前記制限抵抗に接続されるベース端子、前記第3プルアップ抵抗と前記第3汎用入力ポートの間に接続されるコレクタ端子、及びグランドに接続されるエミッタ端子を有する第3スイッチ素子と、を備える、
請求項1に記載の車両用センサ装置。
【請求項5】
前記制限抵抗に流れる前記検出電流を調整可能なゲイン調整回路を更に備える、
請求項1に記載の車両用センサ装置。
【請求項6】
前記ゲイン調整回路は、前記出力端子に前記制限抵抗と並列で接続されるゲイン調整抵抗と、前記ゲイン調整抵抗とグラウンドの間に接続されるゲイン調整用トランジスタと、を有し、
前記制御部は、前記ゲイン調整用トランジスタをオンとオフの間で切り替え制御する、
請求項5に記載の車両用センサ装置。
発明の詳細な説明
【技術分野】
【0001】
本開示は、車両用センサ装置に関する。
続きを表示(約 1,500 文字)
【背景技術】
【0002】
特許文献1に記載の車両用表示装置は、外光の照度に基づいて出力電流を変化させる照度検出手段と、この照度検出手段による電流値変化を複数の電圧値に変換して出力する変換回路と、この変換回路からの電圧値を入力する第1、第2の入力ポートを設け、この電圧値に応じて表示手段を照明するバックライトの出力輝度を調整する制御手段と、を備える。この制御手段は、第1の入力ポート、または第2の入力ポートにおいて、下限(0V)から上限(5V)の間の電圧値のうち所定の切り替え閾値がそれぞれ設定されており、一方の入力ポートが、この切り替え閾値を超えた場合に、他方の入力ポートが入力した電圧値に基づいて照度を算出する(特許文献1の段落0027参照)。
【先行技術文献】
【特許文献】
【0003】
特開2016-6462号公報
【発明の概要】
【発明が解決しようとする課題】
【0004】
上記特許文献1の構成では、制御手段に予め記憶される閾値によって記憶容量が占められる。
本開示は、上記実状を鑑みてなされたものであり、外光の光量の判定に関する閾値を制御部に記憶させる必要がない車両用センサ装置を提供することを目的とする。
【課題を解決するための手段】
【0005】
上記目的を達成するため、本開示に係る車両用センサ装置は、
外光の光量に応じた検出電流を出力端子から出力するフォトトランジスタと、
前記出力端子に接続される制限抵抗と、
前記検出電流が第1閾値以上であるか否かによりHi信号かLo信号を出力する光量検出回路と、
前記光量検出回路からの前記Hi信号又は前記Lo信号を入力する第1汎用入力ポートを有し、前記第1汎用入力ポートに入力された信号が前記Hi信号か前記Lo信号であるかにより前記検出電流が前記第1閾値以上であるか否かを判定する制御部と、を備え、
前記光量検出回路は、
前記制限抵抗に接続され、前記第1閾値に応じた抵抗値を有する第1ベース抵抗と、
第1プルアップ抵抗と、
前記第1ベース抵抗が接続されるベース端子、前記第1プルアップ抵抗と前記第1汎用入力ポートの間に接続されるコレクタ端子、及びグランドに接続されるエミッタ端子を有する第1スイッチ素子と、を備える。
【発明の効果】
【0006】
本開示によれば、外光の光量の判定に関する閾値を制御部に記憶させる必要がない。
【図面の簡単な説明】
【0007】
本開示の一実施形態に係る点灯システムのブロック図である。
本開示の一実施形態に係る検出電流(Id)、各ポート(P1~P4)の入力信号と点灯輝度の状態を示すタイミングチャートである。
【発明を実施するための形態】
【0008】
本開示の一実施形態に係る車両用センサ装置を有する点灯システムについて図面を参照しつつ説明する。この点灯システムは、車両、例えば、自動二輪等の鞍型車両に搭載され、外光の照度に応じた輝度で点灯具を点灯させる。
【0009】
図1に示すように、点灯システム1は、車両用センサ装置10と、バックライト装置50と、バックライト駆動部55と、を備える。
【0010】
車両用センサ装置10は、制御部20と、フォトトランジスタ30と、検出回路21~24と、ゲイン調整抵抗R2を含むゲイン調整回路25と、制限抵抗R1と、を備える。
(【0011】以降は省略されています)
この特許をJ-PlatPat(特許庁公式サイト)で参照する
関連特許
日本精機株式会社
表示装置
12日前
日本精機株式会社
検出装置
11日前
日本精機株式会社
照明装置
12日前
日本精機株式会社
車載表示装置
25日前
日本精機株式会社
車載表示装置
20日前
日本精機株式会社
運転支援装置
10日前
日本精機株式会社
車載表示装置
18日前
日本精機株式会社
車両用報知装置
24日前
日本精機株式会社
車両用表示装置
18日前
日本精機株式会社
ミラーユニット
18日前
日本精機株式会社
スペックル低減装置
1か月前
日本精機株式会社
鞍乗型車両用表示装置
9日前
日本精機株式会社
ヘッドアップディスプレイ
12日前
日本精機株式会社
表示装置及びその製造方法
12日前
日本精機株式会社
ヘッドアップディスプレイ
9日前
日本精機株式会社
スクリーン反射型表示装置
10日前
日本精機株式会社
ヘッドアップディスプレイ装置
10日前
日本精機株式会社
ヘッドアップディスプレイ装置
9日前
日本精機株式会社
ヘッドアップディスプレイ装置
1か月前
日本精機株式会社
表示制御装置、表示装置、及び表示制御方法
9日前
日本精機株式会社
ヘッドアップディスプレイ装置及び表示制御装置
9日前
日本精機株式会社
嚥下異常検出システム、嚥下異常検出装置および嚥下異常検出用プログラム
9日前
日本精機株式会社
ヘッドアップディスプレイ装置
1か月前
日本精機株式会社
音圧制御装置、及びサウンダーの音圧制御システム、並びにサウンダーの音圧制御方法
26日前
日本精機株式会社
ヘッドアップディスプレイ装置、ヘッドアップディスプレイ装置の制御方法、および表示制御プログラム
26日前
日本精機株式会社
表示制御装置、ヘッドアップディスプレイ装置、表示装置の制御方法、プログラム、および車両用表示システム
26日前
日本精機株式会社
表示制御装置、ヘッドアップディスプレイ装置、表示制御方法、表示制御プログラム、および車両用表示システム
10日前
日本精機株式会社
車両用表示制御装置、ヘッドアップディスプレイ装置、表示制御方法、表示制御プログラム、および車両用表示システム
10日前
個人
教育のAI化
9日前
個人
英語教材
25日前
個人
回転式カード学習具
2か月前
日本精機株式会社
表示装置
2か月前
日本精機株式会社
表示装置
1か月前
個人
時刻表示機能つき手帳
3か月前
日本精機株式会社
表示装置
12日前
個人
計算用教具
1か月前
続きを見る
他の特許を見る