TOP
|
特許
|
意匠
|
商標
特許ウォッチ
Twitter
他の特許を見る
10個以上の画像は省略されています。
公開番号
2025143678
公報種別
公開特許公報(A)
公開日
2025-10-02
出願番号
2024043028
出願日
2024-03-19
発明の名称
車両用投射装置
出願人
日本精機株式会社
代理人
主分類
B60Q
1/26 20060101AFI20250925BHJP(車両一般)
要約
【課題】視認性を向上できる車両用投射装置を提供する。
【解決手段】本実施形態の車両用投射装置1は、投射可能エリア42内に投射光を投射し映像41を表示するプロジェクター10と、投射可能エリア42の明るさに関する情報を取得し、明るさが所定値以下となる領域を投射光を投射させる実投射エリア43として決定する制御部20と、を備える。制御部20は、実投射エリア43の寸法に基づいてプロジェクター10に投射させる映像41の寸法を決定する。
【選択図】 図2
特許請求の範囲
【請求項1】
投射可能エリア内に投射光を投射し映像を表示するプロジェクターと、
前記投射可能エリアの明るさに関する情報を取得し、前記明るさが所定値以下となる領域を前記投射光を投射させる実投射エリアとして決定する制御部と、を備える、車両用投射装置。
続きを表示(約 340 文字)
【請求項2】
前記制御部は、前記実投射エリアの寸法に基づいて前記プロジェクターに投射させる前記映像の寸法を決定する、請求項1記載の車両用投射装置。
【請求項3】
前記制御部は、更に前記投射可能エリアの色に関する情報を取得し、前記色に基づいて前記プロジェクターに投射させる前記映像の色を決定する、請求項1記載の車両用投射装置。
【請求項4】
前記制御部は、前記投射可能エリア内に位置する前記投射光の投射の障害となる障害物に関する情報を取得し、前記障害物が位置する領域以外の領域を前記実投射エリアとして決定する、請求項1記載の車両用投射装置。
【請求項5】
前記投射可能エリアは、路面上の領域である、請求項1記載の車両用投射装置。
発明の詳細な説明
【技術分野】
【0001】
本開示は、車両用投射装置に関する。
続きを表示(約 1,100 文字)
【背景技術】
【0002】
従来、車両にプロジェクターを搭載し、必要な情報等を示す映像を路面に投射する技術が知られている。
【先行技術文献】
【特許文献】
【0003】
特開2019-089544号公報
【発明の概要】
【発明が解決しようとする課題】
【0004】
映像を路面に投射することにより、他車両の搭乗者や歩行者に注意喚起等を目的として情報が提供される。しかしながら、周囲の明るさや路面状態に応じて、映像の視認性が低下する虞がある。このため、映像の視認性を向上することで、情報を確実に伝達することが求められている。
【0005】
本開示はこのような事情を考慮してなされたもので、視認性を向上できる車両用投射装置を提供することを目的とする。
【課題を解決するための手段】
【0006】
本開示の車両用投射装置は、上述した課題を解決するために、投射可能エリア内に投射光を投射し映像を表示するプロジェクターと、投射可能エリアの明るさに関する情報を取得し、明るさが所定値以下となる領域を投射光を投射させる実投射エリアとして決定する制御部と、を備える。
【発明の効果】
【0007】
本開示の車両用投射装置においては、視認性を向上できる。
【図面の簡単な説明】
【0008】
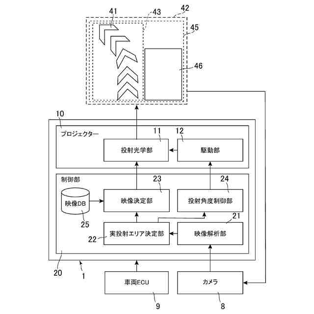
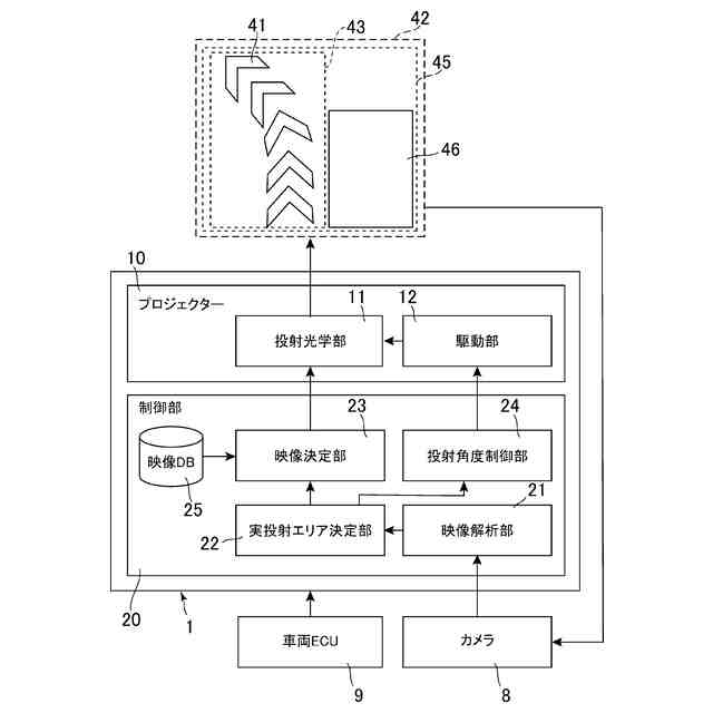
本実施形態における車両用投射装置の投射例を示す説明図。
車両用投射装置の機能構成を示す概略的な機能ブロック図。
表色系の一例であるCIE1931色空間のxy色度図。
車両用投射装置により実行される映像投射処理を説明するフローチャート。
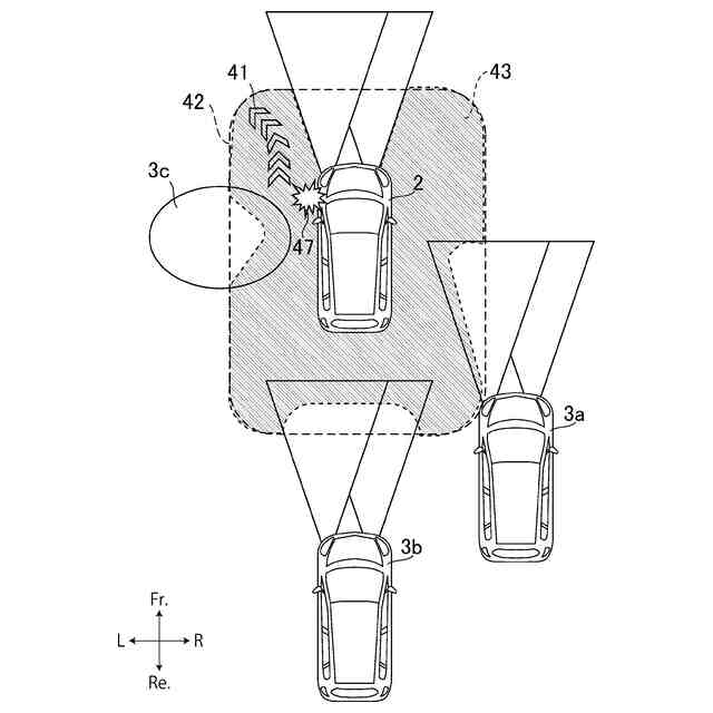
映像投射処理実行中の車両及び映像の表示の様子を示す説明図。
映像投射処理実行中の車両及び映像の表示の様子を示す説明図。
映像投射処理実行中の車両及び映像の表示の様子を示す説明図。
映像投射処理実行中の車両及び映像の表示の様子を示す説明図。
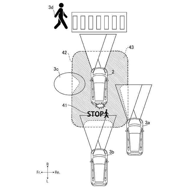
映像投射処理実行中の車両及び映像の表示の様子を示す他の説明図。
映像投射処理実行中の車両及び映像の表示の様子を示す更に他の説明図。
【発明を実施するための形態】
【0009】
本開示の車両用投射装置の実施形態を添付図面に基づいて説明する。本開示の車両用投射装置は、例えば自動車や二輪車、農業機械、建設機械等のあらゆる車両に適用することができる。本実施形態においては、車両用投射装置が自動車に搭載される例を用いて説明する。
【0010】
図1は、本実施形態における車両用投射装置1の投射例を概念的に示す説明図である。
(【0011】以降は省略されています)
この特許をJ-PlatPat(特許庁公式サイト)で参照する
関連特許
日本精機株式会社
表示装置
1か月前
日本精機株式会社
表示装置
15日前
日本精機株式会社
照明装置
15日前
日本精機株式会社
検出装置
14日前
日本精機株式会社
車載表示装置
21日前
日本精機株式会社
車載表示装置
23日前
日本精機株式会社
車載表示装置
28日前
日本精機株式会社
画像投映装置
1か月前
日本精機株式会社
運転支援装置
13日前
日本精機株式会社
位置検出装置
1か月前
日本精機株式会社
位置検出装置
1か月前
日本精機株式会社
位置検出装置
1か月前
日本精機株式会社
車両用投射装置
1か月前
日本精機株式会社
車両用表示装置
1か月前
日本精機株式会社
サージ保護回路
1か月前
日本精機株式会社
車両用投射装置
1か月前
日本精機株式会社
車両用投影装置
2か月前
日本精機株式会社
車両用報知装置
27日前
日本精機株式会社
車両用表示装置
21日前
日本精機株式会社
ミラーユニット
21日前
日本精機株式会社
車両用センサ装置
1か月前
日本精機株式会社
スペックル低減装置
1か月前
日本精機株式会社
車両用投射型表示装置
1か月前
日本精機株式会社
鞍乗型車両用表示装置
12日前
日本精機株式会社
スクリーン反射型表示装置
13日前
日本精機株式会社
表示装置及びその製造方法
15日前
日本精機株式会社
ヘッドアップディスプレイ
15日前
日本精機株式会社
ヘッドアップディスプレイ
12日前
日本精機株式会社
ヘッドアップディスプレイ装置
1か月前
日本精機株式会社
ヘッドアップディスプレイ装置
12日前
日本精機株式会社
ヘッドアップディスプレイ装置
13日前
日本精機株式会社
表示制御装置、表示装置、及び表示制御方法
12日前
日本精機株式会社
ヘッドアップディスプレイ装置及び表示制御装置
12日前
日本精機株式会社
嚥下異常検出システム、嚥下異常検出装置および嚥下異常検出用プログラム
12日前
日本精機株式会社
ヘッドアップディスプレイ装置
1か月前
日本精機株式会社
音圧制御装置、及びサウンダーの音圧制御システム、並びにサウンダーの音圧制御方法
29日前
続きを見る
他の特許を見る