TOP
|
特許
|
意匠
|
商標
特許ウォッチ
Twitter
他の特許を見る
10個以上の画像は省略されています。
公開番号
2025178609
公報種別
公開特許公報(A)
公開日
2025-12-09
出願番号
2024085315
出願日
2024-05-27
発明の名称
交通保安用投影装置
出願人
日本精機株式会社
代理人
主分類
B60Q
1/18 20060101AFI20251202BHJP(車両一般)
要約
【課題】交通路に設置する複数の保安用被照射体に対して、1つの投影部で光の照射を行う交通保安用投影装置を提供する。
【解決手段】道路Rにおいて車両Cの進行方向に応じてそれぞれ配列される複数の被照射体2a,2b,2cを投影対象として設けられる、交通保安用投影装置1であって、光源15を備え、複数の被照射体2a,2b,2cへ光を照射する1つの投影部11と、当該1つの投影部11を制御する制御部12と、を備える。
【選択図】図1
特許請求の範囲
【請求項1】
交通路において通行体の進行方向に応じてそれぞれ配列される複数の保安用被照射体を投影対象として設けられる交通保安用投影装置であって、
光源を備え、前記複数の保安用被照射体へ光を照射する1つの投影部と、
前記1つの投影部を制御する制御部と、を備える
ことを特徴とする交通保安用投影装置。
続きを表示(約 1,100 文字)
【請求項2】
前記制御部は、
前記複数の保安用被照射体に対し、前記光を一括して照射するよう、前記1つの投影部を制御する
ことを特徴とする請求項1記載の交通保安用投影装置。
【請求項3】
前記制御部は、
前記複数の保安用被照射体それぞれに対して予め定められた所定順序に沿って前記光を順次照射するよう、前記1つの投影部を制御する
ことを特徴とする請求項1記載の交通保安用投影装置。
【請求項4】
前記通行体が前記交通路の所定領域内に進入したことを検知する検知部を更に有し、
前記制御部は、
前記検知部が前記通行体の前記所定領域内の進入を検知したことを契機に、前記複数の保安用被照射体への前記照射を開始するように、前記制御部を制御する
ことを特徴とする請求項3記載の交通保安用投影装置。
【請求項5】
前記複数の保安用被照射体は、
保安用の第1所定画像がそれぞれに表記された表記物であり、
前記1つの投影部は、
複数の前記表記物に対し単色の照明光を照射することにより、前記複数の前記表記物の表記内容である前記第1所定画像を照明する
ことを特徴とする請求項2乃至請求項4のいずれか1項記載の交通保安用投影装置。
【請求項6】
前記1つの投影部は、
前記複数の前記表記物のうち、前記照明光の照射方向に沿った最上流側の前記表記物に設けられ、
前記最上流側の前記表記物は、前記1つの投影部の漏れ光により照明される
ことを特徴とする請求項5記載の交通保安用投影装置。
【請求項7】
前記複数の前記表記物それぞれに表記された前記第1所定画像は、互いに共通の画像である
ことを特徴とする請求項5記載の交通保安用投影装置。
【請求項8】
前記複数の前記表記物それぞれに表記された前記第1所定画像は、それら複数の前記第1所定画像を視覚的に合体させて見たときに1つの第1所望画像を構成する画像である
ことを特徴とする請求項5記載の交通保安用投影装置。
【請求項9】
前記第1所定画像は、
図形、文字、図形及び文字、のいずれかの画像である
ことを特徴とする請求項5記載の交通保安用投影装置。
【請求項10】
前記第1所定画像は、
前記交通路としての車道の1車線を進行する前記通行体としての車両に対して、前記1車線に隣接する別の車線へと案内する第1案内画像である
ことを特徴とする請求項5記載の交通保安用投影装置。
(【請求項11】以降は省略されています)
発明の詳細な説明
【技術分野】
【0001】
本発明は、交通路に設置される保安用被照射体を照射する交通保安用投影装置に関する。
続きを表示(約 2,000 文字)
【背景技術】
【0002】
従来、例えば特許文献1に記載の交通標識投影システムが知られている。特許文献1の記載には、道路など設置面に固定される表示用板材を看板とし、表示用板材の背後のスペースに標識投影部、背景投影部、及びシステム制御部を配置し、表示用板材の背面に標識パターン及び背景パターンを投影することが開示されている。
【先行技術文献】
【特許文献】
【0003】
特許第6042839号公報
【発明の概要】
【発明が解決しようとする課題】
【0004】
しかしながら、上記従来の交通標識投影システムでは、看板を複数個所設けたい場合には、個々の看板に投影装置を配設する必要があり、メンテナンス等の作業に手間が掛かると共に、非常に多くのコストが掛かってしまうという問題があった。
【0005】
そこで、本発明は、上記問題点に鑑みてなされたものであり、交通路に設置する複数の保安用被照射体に対して、1つの投影部で光の照射を行う交通保安用投影装置を提供することを目的とする。
【課題を解決するための手段】
【0006】
本発明は、交通路Rにおいて通行体Cの進行方向に応じてそれぞれ配列される複数の保安用被照射体2a,2b,2cを投影対象として設けられる交通保安用投影装置1であって、光源15を備え、前記複数の保安用被照射体2a,2b,2cへ光を照射する1つの投影部11と、前記1つの投影部11を制御する制御部12と、を備えることを特徴とする。
【発明の効果】
【0007】
本発明によれば、メンテナンス等の作業の効率化を図りつつ、低コストで交通路に設置される複数の保安用被照射体を照射することができる。
【図面の簡単な説明】
【0008】
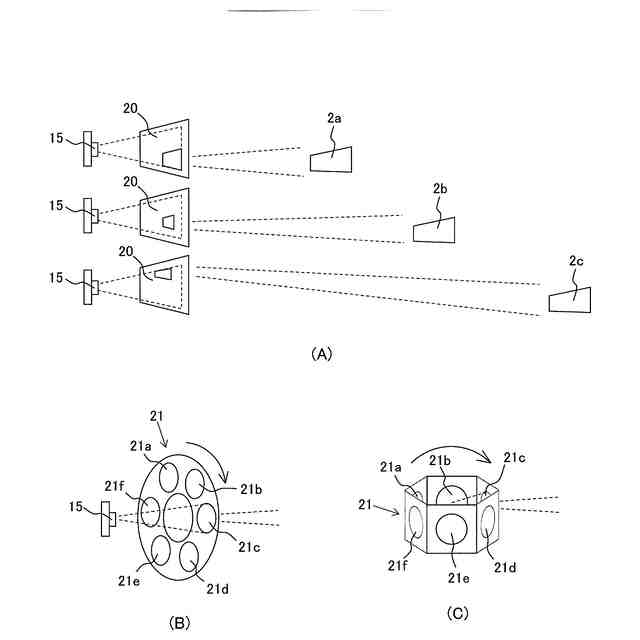
本発明の第1の実施形態に係る交通保安用投影装置を用いた場合のシステム構成を示す概略図。
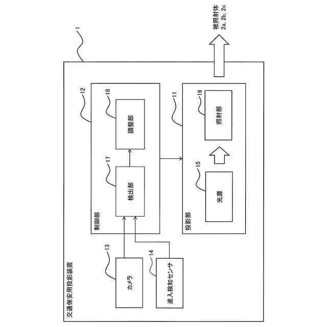
本発明の第1の実施形態に係る交通保安用投影装置の構成を示す機能ブロック図。
本発明の第1の実施形態に係る交通保安用投影装置においてカメラが被照射体を撮像した場合の撮像情報の一例を示す図。
本発明の第1の実施形態に係る交通保安用投影装置において複数の被照射体を同時に一括して照射する場合の照射態様を示す図。
本発明の第1の実施形態に係る交通保安用投影装置において複数の被照射体を順次照射する場合の照射態様を示す図。
本発明の第1の実施形態に係る交通保安用投影装置において調整部が、(A)表示素子を用いた場合、(B)透光部材を用いた場合、(C)他の透光部材を用いた場合の調整手法の例を示す図。
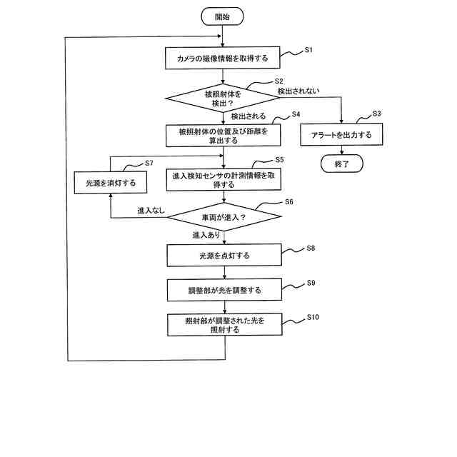
本発明の第1の実施形態に係る交通保安用投影装置の動作を示すフローチャート。
本発明の第1の実施形態に係る交通保安用投影装置において投影部を最上流側の被照射体の位置に設ける場合の構成を示す図。
本発明の第2の実施形態に係る交通保安用投影装置において投影部が投影する前の被照射体の状態を示す図。
本発明の第2の実施形態に係る交通保安用投影装置において投影部が、(A)図形の画像、(B)図形及び文字の画像を投影表示した場合の状態を示す図。
【発明を実施するための形態】
【0009】
(本発明の第1の実施形態)
本実施形態に係る交通保安用投影装置について、図1ないし図8を用いて説明する。図1は、本実施形態に係る交通保安用投影装置を用いた場合のシステム構成を示す概略図である。図1において、交通路である道路R上を通行体である車両Cが通行しており、その進行方向に複数の被照射体2a,2b,2c(保安用被照射体)が設けられている。交通保安用投影装置1は、被照射体2a,2b,2cを照射対象とし、それら複数の被照射体2a,2b,2cに対して単一の交通保安用投影装置1が光を照射する。被照射体2a,2b,2cは、図1に示すような互いに共通の保安用の第1画像(図1の場合は矢印の図柄)(第1所定画像、第1所望画像、第1案内画像)が表記された表記物(図1の場合は矢印板)であり、車両Cの運転者D(図示しない)に対して隣接する車線、すなわち図1においては車両Cの進行方向に向かって右隣の車線に車線変更するように促す機能を有している。交通保安用投影装置1は、被照射体2a,2b,2cに光(例えば、単色の照明光)を照射することで、夜間において車両Cのヘッドライトの光が十分に届かない距離であっても、運転者Dが被照射体2a,2b,2cの表記内容である矢印の図柄を明確に認識できるようにし、安全性を確保することが可能となる。
【0010】
なお、被照射体2a,2b,2cの設置数は3つに限らず任意であり、少なくとも2つ以上設置されるものとする。
(【0011】以降は省略されています)
この特許をJ-PlatPat(特許庁公式サイト)で参照する
関連特許
日本精機株式会社
照明装置
1か月前
日本精機株式会社
回路基板
今日
日本精機株式会社
検出装置
1か月前
日本精機株式会社
表示装置
1か月前
日本精機株式会社
発光表示装置
12日前
日本精機株式会社
車載表示装置
1か月前
日本精機株式会社
車載表示装置
1か月前
日本精機株式会社
運転支援装置
1か月前
日本精機株式会社
車載表示装置
1か月前
日本精機株式会社
プロジェクタ
4日前
日本精機株式会社
ミラーユニット
1か月前
日本精機株式会社
車両用表示装置
4日前
日本精機株式会社
車両用報知装置
1か月前
日本精機株式会社
車両用表示装置
1か月前
日本精機株式会社
交通保安用投影装置
今日
日本精機株式会社
鞍乗型車両用表示装置
5日前
日本精機株式会社
鞍乗型車両用表示装置
1か月前
日本精機株式会社
照明装置及び表示装置
11日前
日本精機株式会社
車両表示装置用回路基板
4日前
日本精機株式会社
ヘッドアップディスプレイ
1か月前
日本精機株式会社
ヘッドアップディスプレイ
1か月前
日本精機株式会社
表示装置及びその製造方法
1か月前
日本精機株式会社
スクリーン反射型表示装置
1か月前
日本精機株式会社
ヘッドアップディスプレイ装置
1か月前
日本精機株式会社
ヘッドアップディスプレイ装置
1か月前
日本精機株式会社
表示装置及びヘッドアップディスプレイ装置
今日
日本精機株式会社
表示制御装置、表示装置、及び表示制御方法
4日前
日本精機株式会社
表示制御装置、表示装置、及び表示制御方法
1か月前
日本精機株式会社
ヘッドアップディスプレイ装置及び表示制御装置
1か月前
日本精機株式会社
ヘッドアップディスプレイ装置、及び画像回転角度設定方法
4日前
日本精機株式会社
嚥下異常検出システム、嚥下異常検出装置および嚥下異常検出用プログラム
1か月前
日本精機株式会社
音圧制御装置、及びサウンダーの音圧制御システム、並びにサウンダーの音圧制御方法
1か月前
日本精機株式会社
ヘッドアップディスプレイ装置、ヘッドアップディスプレイ装置の制御方法、および表示制御プログラム
1か月前
日本精機株式会社
表示制御装置、ヘッドアップディスプレイ装置、表示制御方法、表示制御プログラム、及び車両用表示システム
12日前
日本精機株式会社
表示制御装置、ヘッドアップディスプレイ装置、表示装置の制御方法、プログラム、および車両用表示システム
1か月前
日本精機株式会社
表示制御装置、ヘッドアップディスプレイ装置、表示制御方法、表示制御プログラム、および車両用表示システム
1か月前
続きを見る
他の特許を見る