TOP
|
特許
|
意匠
|
商標
特許ウォッチ
Twitter
他の特許を見る
公開番号
2025179407
公報種別
公開特許公報(A)
公開日
2025-12-10
出願番号
2024086131
出願日
2024-05-28
発明の名称
液面検出装置
出願人
日本精機株式会社
代理人
主分類
G01F
23/38 20060101AFI20251203BHJP(測定;試験)
要約
【課題】回転部とケースの干渉を回避しつつ、回転部の回転可能範囲を設定し易い液面検出装置を提供する。
【解決手段】液面検出装置は、磁石を保持する円環状のホルダ22を有し、軸部41に対して回転可能な回転部20と、ホルダ22が配置されるホルダ配置部42を有するケース40と、フロートの変位に応じて回転部20を回転させるアームと、を備える。ホルダ22は、磁石を掛止するフック221aと、突出部222と、を備える。ホルダ配置部42は、回転部20が回転可能範囲の中で回転してもフック221aとは接触しないフック逃げ面421と、軸線AXを中心とする円周方向において突出部222を挟んで間隔を空けて位置して前記回転可能範囲を規制する一対のストッパーS1と、を備える。
【選択図】図6
特許請求の範囲
【請求項1】
液体に浮き、前記液体の液面の位置に応じて変位するフロートと、
磁石を保持し、軸線を中心に形成された軸部が挿入される円環状のホルダを有し、前記軸部に対して回転可能な回転部と、
前記軸部と、前記軸部が挿入された前記ホルダの後方に位置し、前記ホルダが配置されるホルダ配置部と、を有するケースと、
前記軸部の内部に位置し、前記回転部の回転に伴う磁場の変化を検出する磁気検出素子と、
前記フロートと前記回転部を連結し、前記フロートの変位に応じて前記回転部を回転させるアームと、を備え、
前記ホルダは、
前記ホルダの背面から窪み、前記磁石を収容する窪み部と、
前記ホルダの外周壁の一部を構成し、前記窪み部に収容された前記磁石を掛止するフックと、
前記ホルダの背面よりも後方に向かって突出する突出部と、を備え、
前記ホルダ配置部は、
前記回転部が回転可能範囲の中で回転しても前記フックとは接触しないフック逃げ面と、
前記フック逃げ面よりも後方に位置する部分を含み、前記軸線を中心とする円周方向において前記突出部を挟んで間隔を空けて位置して前記回転可能範囲を規制する一対のストッパーと、を備える、
液面検出装置。
続きを表示(約 470 文字)
【請求項2】
前記ホルダ配置部は、前記ホルダの背面を受けることが可能な受け部をさらに備え、
前記受け部は、前記フック逃げ面よりも前記ホルダの背面の近くに設けられ、且つ、前記回転部が前記回転可能範囲の中で回転しても前記フックに接触しない位置に設けられている、
請求項1に記載の液面検出装置。
【請求項3】
前記ケースは、前記ホルダ配置部の裏側に、前記磁気検出素子と電気的に接続される回路基板を収容する基板収容部を備え、
前記磁気検出素子は、素子本体と、前記素子本体から延びる端子と、を備え、
前記軸部には、
前記基板収容部から凹み、前記素子本体が挿入される挿入穴と、
前記挿入穴と連通し、前記挿入穴よりも小径で、前記素子本体が嵌まり込む嵌合穴と、が形成され、
前記嵌合穴の奥まで前記素子本体が嵌められると、前記素子本体における前記嵌合穴からはみ出した部分が前記挿入穴の中に位置し、前記端子が前記回路基板と当接または近接する、
請求項1又は2に記載の液面検出装置。
発明の詳細な説明
【技術分野】
【0001】
本開示は、液面検出装置に関する。
続きを表示(約 1,500 文字)
【背景技術】
【0002】
例えば、特許文献1に記載の液面検出装置は、液面の変動に伴い動くフロートを備えたフロートアームと、フロートアームを保持し、フレーム(ケース)に対して回転するアームホルダ(回転部)と、を備え、アームホルダの回転に基づき液面の位置を検出する。この装置では、アームホルダ外周部に形成され、フレームに接触可能な突起によって、アームホルダの回転可能範囲が規制される。
【先行技術文献】
【特許文献】
【0003】
特開2010-38550号公報
【発明の概要】
【発明が解決しようとする課題】
【0004】
特許文献1に記載の構造では、回転部及びケースの形状によっては、回転部とケースが干渉してしまい、回転部の回転可能範囲を所望の範囲に設定できない虞がある。
【0005】
本開示は、上記実情に鑑みてなされたものであり、回転部とケースの干渉を回避しつつ、回転部の回転可能範囲を設定し易い液面検出装置を提供することを目的とする。
【課題を解決するための手段】
【0006】
上記目的を達成するため、本開示に係る液面検出装置は、
液体に浮き、前記液体の液面の位置に応じて変位するフロートと、
磁石を保持し、軸線を中心に形成された軸部が挿入される円環状のホルダを有し、前記軸部に対して回転可能な回転部と、
前記軸部と、前記軸部が挿入された前記ホルダの後方に位置し、前記ホルダが配置されるホルダ配置部と、を有するケースと、
前記軸部の内部に位置し、前記回転部の回転に伴う磁場の変化を検出する磁気検出素子と、
前記フロートと前記回転部を連結し、前記フロートの変位に応じて前記回転部を回転させるアームと、を備え、
前記ホルダは、
前記ホルダの背面から窪み、前記磁石を収容する窪み部と、
前記ホルダの外周壁の一部を構成し、前記窪み部に収容された前記磁石を掛止するフックと、
前記ホルダの背面よりも後方に向かって突出する突出部と、を備え、
前記ホルダ配置部は、
前記回転部が回転可能範囲の中で回転しても前記フックとは接触しないフック逃げ面と、
前記フック逃げ面よりも後方に位置する部分を含み、前記軸線を中心とする円周方向において前記突出部を挟んで間隔を空けて位置して前記回転可能範囲を規制する一対のストッパーと、を備える。
【発明の効果】
【0007】
本開示によれば、回転部とケースの干渉を回避しつつ、回転部の回転可能範囲を設定し易い。
【図面の簡単な説明】
【0008】
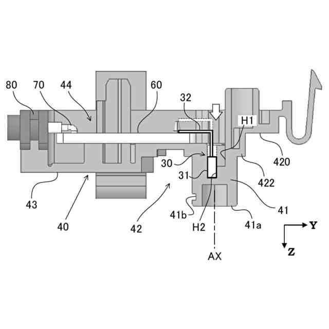
本開示の一実施形態に係る液面検出装置の斜視図。
同上実施形態に係る回転部の背面側斜視図。
同上実施形態に係る液面検出装置の一部を示す背面側斜視図。
同上実施形態に係るケース、回路基板及び磁気検出素子の図3のI-I線での断面図。
同上実施形態に係るケースの斜視図。
同上実施形態に係るケース及び回転部の斜視図。
【発明を実施するための形態】
【0009】
本開示の一実施形態について図面を参照して説明する。
【0010】
図1に示す液面検出装置1は、図示せぬタンク内に収容された液体の液面の位置(液位)を検出する。例えば、液面検出装置1は、車両の燃料タンクに取り付けられ、液体としてガソリンの量に応じた液位を検出する。
(【0011】以降は省略されています)
この特許をJ-PlatPat(特許庁公式サイト)で参照する
関連特許
日本精機株式会社
検出装置
1か月前
日本精機株式会社
表示装置
3か月前
日本精機株式会社
表示装置
3か月前
日本精機株式会社
回路基板
1日前
日本精機株式会社
回路基板
3か月前
日本精機株式会社
照明装置
1か月前
日本精機株式会社
表示装置
2か月前
日本精機株式会社
表示装置
1か月前
日本精機株式会社
車載表示装置
1か月前
日本精機株式会社
車載表示装置
1か月前
日本精機株式会社
液面検出装置
今日
日本精機株式会社
画像投映装置
2か月前
日本精機株式会社
位置検出装置
2か月前
日本精機株式会社
位置検出装置
2か月前
日本精機株式会社
運転支援装置
1か月前
日本精機株式会社
車載表示装置
2か月前
日本精機株式会社
位置検出装置
2か月前
日本精機株式会社
車載表示装置
1か月前
日本精機株式会社
プロジェクタ
5日前
日本精機株式会社
発光表示装置
13日前
日本精機株式会社
車両用表示装置
2か月前
日本精機株式会社
ミラーユニット
1か月前
日本精機株式会社
サージ保護回路
2か月前
日本精機株式会社
車両用投射装置
2か月前
日本精機株式会社
車両用表示装置
今日
日本精機株式会社
車両用表示装置
5日前
日本精機株式会社
車両用報知装置
1か月前
日本精機株式会社
車両用投影装置
2か月前
日本精機株式会社
車両用表示装置
1か月前
日本精機株式会社
車両用投射装置
2か月前
日本精機株式会社
車両用センサ装置
2か月前
日本精機株式会社
投射型表示システム
3か月前
日本精機株式会社
投射型表示システム
3か月前
日本精機株式会社
交通保安用投影装置
1日前
日本精機株式会社
スペックル低減装置
1か月前
日本精機株式会社
車両用投射型表示装置
2か月前
続きを見る
他の特許を見る