TOP
|
特許
|
意匠
|
商標
特許ウォッチ
Twitter
他の特許を見る
公開番号
2025148148
公報種別
公開特許公報(A)
公開日
2025-10-07
出願番号
2024048761
出願日
2024-03-25
発明の名称
車両用表示装置
出願人
日本精機株式会社
代理人
主分類
B60K
37/00 20240101AFI20250930BHJP(車両一般)
要約
【課題】放熱性を向上した車両用表示装置を提供する。
【解決手段】本開示の車両用表示装置1は、車両Cに搭載され、車両Cに関する情報を表示する車両用表示装置1であって、情報を表示する表示器2と、表示器2を制御する制御部33を含む内部回路32と、内部回路32を実装する回路基板3と、回路基板3に実装され、車両Cと電気的に接続されることで、車両Cから電力を受ける第一のコネクタ41と、回路基板3に実装され、車両Cと電気的に接続されることで、車両Cから電力を受ける第二のコネクタ42と、を備える。
【選択図】図2
特許請求の範囲
【請求項1】
車両に搭載され、前記車両に関する情報を表示する車両用表示装置であって、
前記情報を表示する表示器と、
前記表示器を制御する制御部を含む内部回路と、
前記内部回路を実装する回路基板と、
前記回路基板に実装され、前記車両と電気的に接続されることで、前記車両から電力を受ける第一のコネクタと、
前記回路基板に実装され、前記車両と電気的に接続されることで、前記車両から前記電力を受ける第二のコネクタと、
を備える
車両用表示装置。
続きを表示(約 710 文字)
【請求項2】
前記第一のコネクタ及び前記内部回路との間、並びに、前記第二のコネクタ及び前記内部回路との間のそれぞれに並列または直列に接続され、前記電力のノイズを低減するノイズ除去回路を更に備える
請求項1に記載の車両用表示装置。
【請求項3】
前記内部回路とは別に、前記電力を受けて動作する電源直動回路を更に有し、
前記内部回路は、前記第一のコネクタから前記電力を供給され、
前記電源直動回路は、前記第二のコネクタのみから前記電力を供給される
請求項1に記載の車両用表示装置。
【請求項4】
前記電源直動回路は、前記回路基板が為す平面内において、前記第一のコネクタ及び前記第二のコネクタよりも外側に位置する
請求項3に記載の車両用表示装置。
【請求項5】
前記第一のコネクタは、前記車両と電気的に接続される第一の信号線を有し、
前記第二のコネクタは、前記車両と電気的に接続される第二の信号線を有し、
前記第一の信号線は、前記車両の走行情報に関する通信を行い、
前記第二の信号線は、前記車両の車種固有情報に関する通信を行う
請求項1に記載の車両用表示装置。
【請求項6】
前記第一のコネクタ及び前記第二のコネクタは、接触抵抗が同等である
請求項1に記載の車両用表示装置。
【請求項7】
前記第一のコネクタ及び前記第二のコネクタのそれぞれは、複数のピンによって構成され、電力ライン及びグラウンドラインのピンは隣り合わない
請求項1に記載の車両用表示装置。
発明の詳細な説明
【技術分野】
【0001】
本発明は、車両用表示装置に関する。
続きを表示(約 1,300 文字)
【背景技術】
【0002】
特許文献1には、コネクタ(27)が実装された回路基板(20)を備えた車両用表示装置が開示されている。
【先行技術文献】
【特許文献】
【0003】
特開2018-10884号公報
【発明の概要】
【発明が解決しようとする課題】
【0004】
特許文献1に開示される構成であっても、未だ放熱性の改善は引き続き求められていた。
【0005】
本開示の目的とするところは、上述課題に着目し、放熱性を向上した車両用表示装置を提供することにある。
【課題を解決するための手段】
【0006】
上記目的を達成するため、本開示に係る車両用表示装置は、
車両に搭載され、前記車両に関する情報を表示する車両用表示装置であって、
前記情報を表示する表示器と、
前記表示器を制御する制御部を含む内部回路と、
前記内部回路を実装する回路基板と、
前記回路基板に実装され、前記車両と電気的に接続されることで、前記車両から電力を受ける第一のコネクタと、
前記回路基板に実装され、前記車両と電気的に接続されることで、前記車両から電力を受ける第二のコネクタと、
を備える。
【図面の簡単な説明】
【0007】
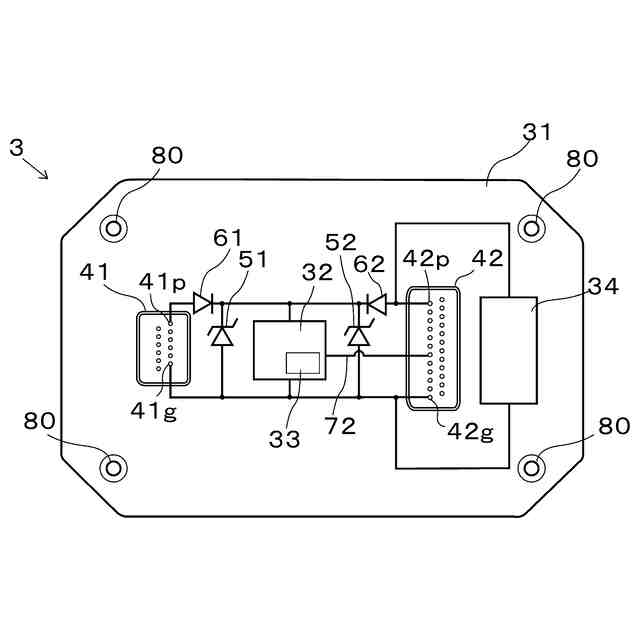
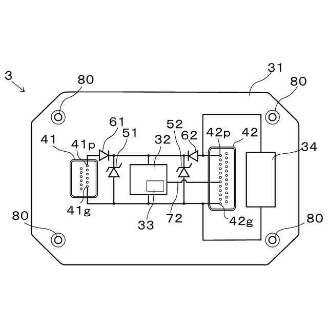
本開示の実施形態における車両用表示装置1の外観を示す図。
回路基板3の外観及び配線を示す図。
回路基板300の外観及び配線を示す図。
【発明を実施するための形態】
【0008】
以下に、本開示の表示装置を車両に搭載された実施形態及び変形例として例にあげ、添付図面を用いて次の順序で説明する。
[第一実施形態]
1-1.構成の説明
1-2.効果例
[変形例]
【0009】
[第一実施形態]
<1-1.構成の説明>
図1に示される通り、車両用表示装置1は、車両Cに搭載される。車両Cは、例えば農作業機や建設機械などの農建機や、四輪車や二輪車などの乗用自動車などを適用できる。車両用表示装置1は、車両Cに搭載される様々な電装部品と電気的に接続され、信号通信を行う。電装部品は、例えば、車両の走行に関わるシステム(パワートレインなど)や、通信装置、車両用表示装置1以外の表示装置(インフォテイメントシステムなど)、電源(バッテリなど)である。車両用表示装置1は、接続される電装部品から入力される信号に応じて、画像等を表示することで様々な情報(車両情報や娯楽情報など)を車両Cの乗員へ報知する。
【0010】
車両用表示装置1は、表示器2と、回路基板3と、これらを収容するケース4を備える。ケース4は、暗色系で剛性を有する合成樹脂(ABSやPPなど)で形成される。ケース4は、表示器2の表示面を車両用表示装置1の外部から視認可能な状態で収容する。ケース4は、回路基板3を外部から視認できない状態で収容する。
(【0011】以降は省略されています)
この特許をJ-PlatPat(特許庁公式サイト)で参照する
関連特許
日本精機株式会社
回路基板
2か月前
日本精機株式会社
表示装置
1か月前
日本精機株式会社
照明装置
6日前
日本精機株式会社
検出装置
5日前
日本精機株式会社
表示装置
6日前
日本精機株式会社
車載表示装置
12日前
日本精機株式会社
車載表示装置
14日前
日本精機株式会社
車載表示装置
1か月前
日本精機株式会社
位置検出装置
1か月前
日本精機株式会社
画像投映装置
1か月前
日本精機株式会社
車載表示装置
19日前
日本精機株式会社
位置検出装置
1か月前
日本精機株式会社
位置検出装置
1か月前
日本精機株式会社
運転支援装置
4日前
日本精機株式会社
サージ保護回路
1か月前
日本精機株式会社
車両用表示装置
1か月前
日本精機株式会社
車両用投射装置
1か月前
日本精機株式会社
車両用報知装置
18日前
日本精機株式会社
車両用投影装置
1か月前
日本精機株式会社
車両用表示装置
12日前
日本精機株式会社
ミラーユニット
12日前
日本精機株式会社
車両用投射装置
1か月前
日本精機株式会社
車両用センサ装置
1か月前
日本精機株式会社
投射型表示システム
2か月前
日本精機株式会社
投射型表示システム
2か月前
日本精機株式会社
スペックル低減装置
27日前
日本精機株式会社
車両用投射型表示装置
1か月前
日本精機株式会社
鞍乗型車両用表示装置
3日前
日本精機株式会社
スクリーン反射型表示装置
4日前
日本精機株式会社
表示装置及びその製造方法
6日前
日本精機株式会社
報知装置及び報知システム
1か月前
日本精機株式会社
ヘッドアップディスプレイ
3日前
日本精機株式会社
ヘッドアップディスプレイ
6日前
日本精機株式会社
ヘッドアップディスプレイ装置
3日前
日本精機株式会社
ヘッドアップディスプレイ装置
1か月前
日本精機株式会社
ヘッドアップディスプレイ装置
4日前
続きを見る
他の特許を見る