TOP
|
特許
|
意匠
|
商標
特許ウォッチ
Twitter
他の特許を見る
公開番号
2025147641
公報種別
公開特許公報(A)
公開日
2025-10-07
出願番号
2024047988
出願日
2024-03-25
発明の名称
画像投映装置
出願人
日本精機株式会社
代理人
主分類
B60Q
1/00 20060101AFI20250930BHJP(車両一般)
要約
【課題】 画像投映装置が保有する光量を無駄にすることなく、投映したコンテンツの視認性が高められる画像投映装置を提供する。
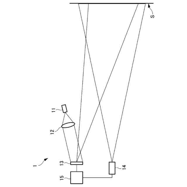
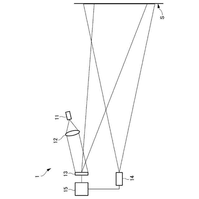
【解決手段】 投映面Sに画像光を投映させる画像投映装置1であって、光を出射する光源11と、光源11からの入射光を変調して画像光を形成する空間位相変調器13と、空間位相変調器13を制御し、位相型計算機生成ホログラムに基づいて画像光を形成させる制御部15と、投映面S又は投映画像を撮影するカメラ14と、を備え、制御部15は、カメラ14の撮影画像に基づいて画像光を補正する補正手段を備え、補正手段は、位相型計算機生成ホログラムにより画像光の光量分布を変更する。
【選択図】 図2
特許請求の範囲
【請求項1】
投映面に画像光を投映させる画像投映装置であって、
光を出射する光源と、
前記光源からの入射光を変調して前記画像光を形成する空間位相変調器と、
前記空間位相変調器を制御し、位相型計算機生成ホログラムに基づいて前記画像光を形成させる制御部と、
前記投映面又は投映画像を撮影するカメラと、を備え、
前記制御部は、前記カメラの撮影画像に基づいて前記画像光を補正する補正手段を備え、
前記補正手段は、前記位相型計算機生成ホログラムにより前記画像光の光量分布を変更する、画像投映装置。
続きを表示(約 490 文字)
【請求項2】
前記補正手段は、前記画像光により前記投映面に所定形状のコンテンツを投映する際、前記投映面に投映された前記コンテンツが均一な輝度となるように、前記コンテンツの描画エリア内で前記画像光の光量分布を変更する、請求項1に記載の画像投映装置。
【請求項3】
前記補正手段は、前記コンテンツの描画エリア内で輝度が高い部分の光量を輝度が低い部分に分配する、請求項2に記載の画像投映装置。
【請求項4】
前記補正手段は、前記画像光により前記投映面に所定形状のコンテンツを投映する際、前記投映面に投映された前記コンテンツの輝度が所定の輝度を下回る可能性があるとき、前記コンテンツの描画エリアが狭くなるように前記画像光の光量分布を変更する、請求項1に記載の画像投映装置。
【請求項5】
前記補正手段は、前記コンテンツの描画サイズを小さくする、請求項4に記載の画像投映装置。
【請求項6】
前記補正手段は、前記コンテンツの描画サイズを変えることなく、前記コンテンツに中抜き部を設ける、請求項4に記載の画像投映装置。
発明の詳細な説明
【技術分野】
【0001】
本開示は、画像投映装置に関する。
続きを表示(約 1,500 文字)
【背景技術】
【0002】
投映面に画像光を投映させる画像投映装置が知られている(例えば、特許文献1、2参照)。また、近年では、車両に搭載され、路面に画像光を投映させるロードプロジェクタも提案されている。
【先行技術文献】
【特許文献】
【0003】
特開2010-212917号公報
特許第5119607号公報
【発明の概要】
【発明が解決しようとする課題】
【0004】
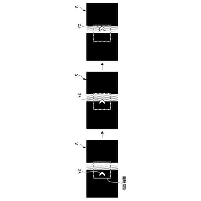
ロードプロジェクタでは、路面に矢印などのコンテンツを投映する際、路面の白線などを跨いでコンテンツを投映すると、反射率の違いから輝度ムラが発生し(図3の(a)参照)、コンテンツの視認性が低下してしまう。
【0005】
そこで、特許文献1、2では、カメラで投映面又は投映画像を撮影し、カメラの撮影画像に基づいて、投映したコンテンツの輝度が均一になるように画像光を補正する手法が提案されている。しかしながら、従来の手法では、輝度が低い側に合わせて輝度が高い側の出射光量を抑えることになるので、画像投映装置が保有する光量を十分に利用できず、投映するコンテンツ全体が暗くなるという課題がある。
【0006】
そこで、本開示は、画像投映装置が保有する光量を無駄にすることなく、投映したコンテンツの視認性が高められる画像投映装置の提供を目的とする。
【課題を解決するための手段】
【0007】
1つの側面では、以下のような解決手段を提供する。
投映面に画像光を投映させる画像投映装置であって、
光を出射する光源と、
前記光源からの入射光を変調して前記画像光を形成する空間位相変調器と、
前記空間位相変調器を制御し、位相型計算機生成ホログラムに基づいて前記画像光を形成させる制御部と、
前記投映面又は投映画像を撮影するカメラと、を備え、
前記制御部は、前記カメラの撮影画像に基づいて前記画像光を補正する補正手段を備え、
前記補正手段は、前記位相型計算機生成ホログラムにより前記画像光の光量分布を変更する。
【発明の効果】
【0008】
本開示によれば、画像投映装置が保有する光量を無駄にすることなく、投映したコンテンツの視認性が高められる。
【図面の簡単な説明】
【0009】
本実施例による画像投映装置が搭載された車両の側面視による概略図である。
画像投映装置の構成を示す概略図である。
路面に投映したコンテンツを示す図であり、(a)は補正前を示す図、(b)は従来技術による補正後を示す図、(c)は第1実施例による補正後を示す図である。
第1実施例による輝度補正処理の処理手順を示すフローチャートである。
路面に投映したコンテンツを示す図であり、第2実施例による補正後を示す図である。
第2実施例による輝度補正処理の処理手順を示すフローチャートである。
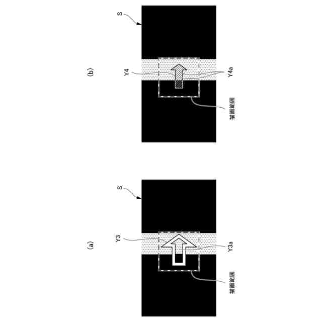
路面に投映したコンテンツを示す図であり、(a)は第3実施例による補正後を示す図、(b)は第3実施例の変形例による補正後を示す図である。
【発明を実施するための形態】
【0010】
以下、添付図面を参照しながら各実施例について詳細に説明する。なお、図面では、見やすさのために、複数存在する同一属性の部位には、一部のみしか参照符号が付されていない場合がある。
(【0011】以降は省略されています)
この特許をJ-PlatPat(特許庁公式サイト)で参照する
関連特許
日本精機株式会社
表示装置
18日前
日本精機株式会社
照明装置
18日前
日本精機株式会社
検出装置
17日前
日本精機株式会社
車載表示装置
1か月前
日本精機株式会社
車載表示装置
26日前
日本精機株式会社
運転支援装置
16日前
日本精機株式会社
車載表示装置
24日前
日本精機株式会社
車両用投射装置
1か月前
日本精機株式会社
車両用報知装置
1か月前
日本精機株式会社
車両用表示装置
24日前
日本精機株式会社
ミラーユニット
24日前
日本精機株式会社
スペックル低減装置
1か月前
日本精機株式会社
鞍乗型車両用表示装置
15日前
日本精機株式会社
ヘッドアップディスプレイ
15日前
日本精機株式会社
ヘッドアップディスプレイ
18日前
日本精機株式会社
スクリーン反射型表示装置
16日前
日本精機株式会社
表示装置及びその製造方法
18日前
日本精機株式会社
ヘッドアップディスプレイ装置
16日前
日本精機株式会社
ヘッドアップディスプレイ装置
15日前
日本精機株式会社
ヘッドアップディスプレイ装置
1か月前
日本精機株式会社
表示制御装置、表示装置、及び表示制御方法
15日前
日本精機株式会社
ヘッドアップディスプレイ装置及び表示制御装置
15日前
日本精機株式会社
嚥下異常検出システム、嚥下異常検出装置および嚥下異常検出用プログラム
15日前
日本精機株式会社
ヘッドアップディスプレイ装置
1か月前
日本精機株式会社
音圧制御装置、及びサウンダーの音圧制御システム、並びにサウンダーの音圧制御方法
1か月前
日本精機株式会社
ヘッドアップディスプレイ装置、ヘッドアップディスプレイ装置の制御方法、および表示制御プログラム
1か月前
日本精機株式会社
表示制御装置、ヘッドアップディスプレイ装置、表示装置の制御方法、プログラム、および車両用表示システム
1か月前
日本精機株式会社
表示制御装置、ヘッドアップディスプレイ装置、表示制御方法、表示制御プログラム、および車両用表示システム
16日前
日本精機株式会社
車両用表示制御装置、ヘッドアップディスプレイ装置、表示制御方法、表示制御プログラム、および車両用表示システム
16日前
個人
タイヤレバー
3か月前
個人
前輪キャスター
2か月前
個人
上部一体型自動車
1か月前
個人
空間形成装置
23日前
個人
ルーフ付きトライク
3か月前
個人
タイヤ脱落防止構造
2か月前
個人
車両通過構造物
3か月前
続きを見る
他の特許を見る