TOP
|
特許
|
意匠
|
商標
特許ウォッチ
Twitter
他の特許を見る
公開番号
2025162516
公報種別
公開特許公報(A)
公開日
2025-10-27
出願番号
2025034146
出願日
2025-03-05
発明の名称
車載表示装置
出願人
日本精機株式会社
代理人
主分類
B60K
35/22 20240101AFI20251020BHJP(車両一般)
要約
【課題】カバーパネルの部分での良好な表示と、カバーパネル及びその周辺部材の統一性とを確保できる車載表示装置を提供する。
【解決手段】車載表示装置10は、カバーパネル2、表示部及び光透過率調整板9を備える。カバーパネル2は、車両のダッシュボードの一部を構成し、光透過性を有する。表示部は、カバーパネル2に向けて光を発することで、カバーパネル2を透過した光により所定の表示を行う第1表示部1又は第2表示部8である。光透過率調整板9は、カバーパネル2と表示部の間に設けられ、電気的な制御によって光透過率が調整される。光透過率調整板9は、表示部が所定の表示を行っている表示状態では、第1の光透過率に調整され、表示部が所定の表示を行っていない非表示状態では、第1の光透過率よりも低い第2の光透過率に調整される。
【選択図】図2
特許請求の範囲
【請求項1】
車両のダッシュボードの一部を構成し、光透過性を有するカバーパネルと、
前記カバーパネルに向けて光を発することで、前記カバーパネルを透過した光により所定の表示を行う表示部と、
前記カバーパネルと前記表示部の間に設けられ、電気的な制御によって光透過率が調整される光透過率調整板と、を備え、
前記光透過率調整板は、
前記表示部が前記所定の表示を行っている表示状態では、第1の光透過率に調整され、
前記表示部が前記所定の表示を行っていない非表示状態では、前記第1の光透過率よりも低い第2の光透過率に調整される、
車載表示装置。
続きを表示(約 850 文字)
【請求項2】
前記表示部及び前記光透過率調整板の動作を制御する制御部をさらに備え、
前記制御部は、
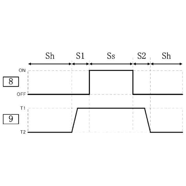
前記非表示状態から前記表示状態に切り替わるまでの表示準備状態では、前記光透過率調整板を前記第2の光透過率から前記第1の光透過率に変更した後に、前記表示部を発光させる、
請求項1に記載の車載表示装置。
【請求項3】
前記制御部は、
前記表示状態から前記非表示状態に切り替わるまでの非表示準備状態では、前記表示部の発光を停止した後に、前記光透過率調整板を前記第1の光透過率から前記第2の光透過率に変更する、
請求項2に記載の車載表示装置。
【請求項4】
前記表示部は、画像を表示する液晶パネルと、前記液晶パネルを背後から照明するバックライトと、を有し、
前記制御部は、
前記表示準備状態では、前記光透過率調整板を前記第2の光透過率から前記第1の光透過率に変更した後に、前記液晶パネルに画像を表示させてから、前記バックライトを発光させ、
前記非表示準備状態では、前記バックライトの発光を停止した後に、前記液晶パネルに表示されていた画像を非表示にしてから、前記光透過率調整板を前記第1の光透過率から前記第2の光透過率に変更する、
請求項3に記載の車載表示装置。
【請求項5】
前記カバーパネルは、光透過率が異なる部分の組み合わせによって形成されるインジケータを有し、
前記表示部は、前記インジケータ用の光源を含み、前記光源から前記カバーパネルに向けて光を発することで、前記インジケータの発光表示を行う、
請求項3に記載の車載表示装置。
【請求項6】
前記カバーパネルは、光透過性基材と、前記表示部に対応する位置を除いて設けられる遮光層とを備え、
前記遮光層は、前記光透過性基材と前記表示部との間に設けられる、
請求項1に記載の車載表示装置。
発明の詳細な説明
【技術分野】
【0001】
本開示は、車載表示装置に関する。
続きを表示(約 1,400 文字)
【背景技術】
【0002】
例えば特許文献1には、画像を表示する表示部(ディスプレイ)の前面が、光透過性を有するカバーパネル(スクリーン)で覆われており、カバーパネルの表面が、表示部の周囲の被取付部と同一の木目調の色・模様に設定されている車載表示装置が記載されている。
【先行技術文献】
【特許文献】
【0003】
特開2001-331132号公報
【発明の概要】
【発明が解決しようとする課題】
【0004】
この種の表示装置では、カバーパネルの光透過率を、表示部の画像がカバーパネル越しに充分に視認される程度に設定する必要がある。しかしながら、単にカバーパネルの光透過率を高めるだけでは、表示部がOFFの場合(発光していない場合)に、カバーパネルがその周辺部材から美観上で浮いてしまうため、カバーパネルの周囲部材との統一性を確保できない虞がある。
【0005】
本開示は、上記実情に鑑みてなされたものであり、カバーパネルの部分での良好な表示と、カバーパネル及びその周辺部材の統一性とを確保できる車載表示装置を提供することを目的とする。
【課題を解決するための手段】
【0006】
上記目的を達成するため、本開示に係る車載表示装置は、
車両のダッシュボードの一部を構成し、光透過性を有するカバーパネルと、
前記カバーパネルに向けて光を発することで、前記カバーパネルを透過した光により所定の表示を行う表示部と、
前記カバーパネルと前記表示部の間に設けられ、電気的な制御によって光透過率が調整される光透過率調整板と、を備え、
前記光透過率調整板は、
前記表示部が前記所定の表示を行っている表示状態では、第1の光透過率に調整され、
前記表示部が前記所定の表示を行っていない非表示状態では、前記第1の光透過率よりも低い第2の光透過率に調整される。
【発明の効果】
【0007】
本開示によれば、カバーパネルの部分での良好な表示と、カバーパネル及びその周辺部材の統一性とを確保できる。
【図面の簡単な説明】
【0008】
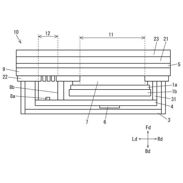
本開示の一実施形態に係る車載表示装置が搭載された車室内を示す概略図。
同上実施形態に係る図1のII-II線での概略断面図。
同上実施形態に係る第1表示部と光透過率調整板の制御遷移を示すタイミングチャート。
同上実施形態に係る第2表示部と光透過率調整板の制御遷移を示すタイミングチャート。
同上実施形態の変形例に係る車載表示装置の概略断面図。
【発明を実施するための形態】
【0009】
本開示の一実施形態について図面を参照して説明する。
【0010】
図1に示すように、車載表示装置10は、車両のダッシュボード13に搭載され、当該車両の搭乗者(主に運転者)であるユーザに各種情報を表示する。以下の説明では、車載表示装置10のユーザの視点を基準として、上方向Ud、下方向Dd、左方向Ld、右方向Rdを規定し、ユーザから見て手前方向を前方向Fdと規定し、ユーザから見て奥行き方向を後方向Bdと規定する。
(【0011】以降は省略されています)
この特許をJ-PlatPat(特許庁公式サイト)で参照する
関連特許
日本精機株式会社
表示装置
13日前
日本精機株式会社
検出装置
12日前
日本精機株式会社
照明装置
13日前
日本精機株式会社
位置検出装置
1か月前
日本精機株式会社
位置検出装置
1か月前
日本精機株式会社
位置検出装置
1か月前
日本精機株式会社
運転支援装置
11日前
日本精機株式会社
画像投映装置
1か月前
日本精機株式会社
車載表示装置
19日前
日本精機株式会社
車載表示装置
21日前
日本精機株式会社
車載表示装置
26日前
日本精機株式会社
車両用表示装置
19日前
日本精機株式会社
ミラーユニット
19日前
日本精機株式会社
サージ保護回路
1か月前
日本精機株式会社
車両用表示装置
1か月前
日本精機株式会社
車両用投射装置
1か月前
日本精機株式会社
車両用投射装置
1か月前
日本精機株式会社
車両用報知装置
25日前
日本精機株式会社
スペックル低減装置
1か月前
日本精機株式会社
鞍乗型車両用表示装置
10日前
日本精機株式会社
車両用投射型表示装置
1か月前
日本精機株式会社
表示装置及びその製造方法
13日前
日本精機株式会社
スクリーン反射型表示装置
11日前
日本精機株式会社
ヘッドアップディスプレイ
13日前
日本精機株式会社
ヘッドアップディスプレイ
10日前
日本精機株式会社
ヘッドアップディスプレイ装置
1か月前
日本精機株式会社
ヘッドアップディスプレイ装置
10日前
日本精機株式会社
ヘッドアップディスプレイ装置
11日前
日本精機株式会社
表示制御装置、表示装置、及び表示制御方法
10日前
日本精機株式会社
ヘッドアップディスプレイ装置及び表示制御装置
10日前
日本精機株式会社
嚥下異常検出システム、嚥下異常検出装置および嚥下異常検出用プログラム
10日前
日本精機株式会社
ヘッドアップディスプレイ装置
1か月前
日本精機株式会社
音圧制御装置、及びサウンダーの音圧制御システム、並びにサウンダーの音圧制御方法
27日前
日本精機株式会社
ヘッドアップディスプレイ装置、ヘッドアップディスプレイ装置の制御方法、および表示制御プログラム
27日前
日本精機株式会社
表示制御装置、ヘッドアップディスプレイ装置、表示装置の制御方法、プログラム、および車両用表示システム
27日前
日本精機株式会社
表示制御装置、ヘッドアップディスプレイ装置、表示制御方法、表示制御プログラム、および車両用表示システム
11日前
続きを見る
他の特許を見る