TOP
|
特許
|
意匠
|
商標
特許ウォッチ
Twitter
他の特許を見る
公開番号
2025177144
公報種別
公開特許公報(A)
公開日
2025-12-05
出願番号
2024083709
出願日
2024-05-22
発明の名称
ガス発生器
出願人
日本化薬株式会社
代理人
個人
主分類
B60R
21/264 20060101AFI20251128BHJP(車両一般)
要約
【課題】組み付ける装置内の空間を従来よりも効率的に利用できるガス発生器を提供する。
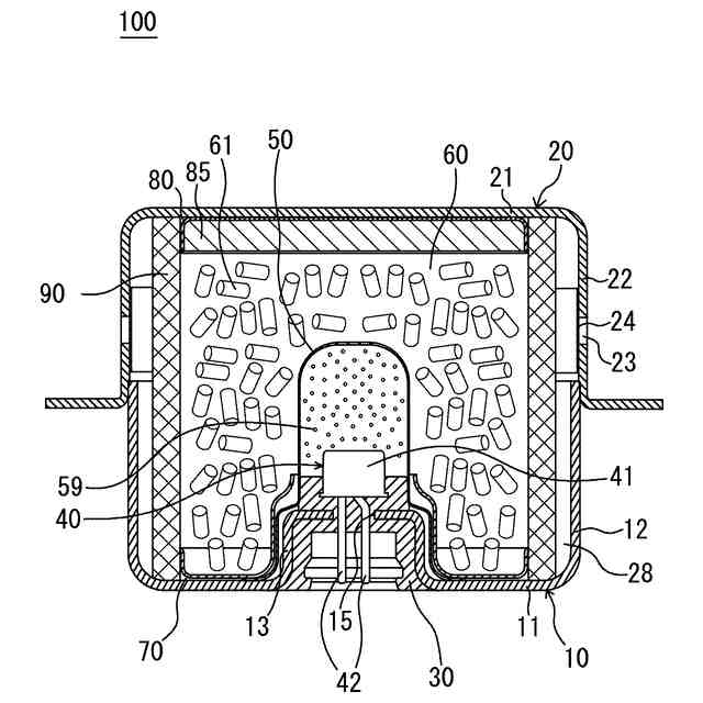
【解決手段】ガス発生器100は、短尺略円柱状のディスク型ガス発生器であり、ハウジング、保持部、点火器、カップ状部材、下側支持部材、上側支持部材、ガス発生剤、クッション材、およびフィルタを備えている。ハウジングは、軸方向の一端および他端が閉塞された短尺略半円筒状である。ハウジングは、下部側シェルおよび上部側シェル20を含んでいる。下部側シェルおよび上部側シェル20は、それぞれが有底略半円筒状に形成されており、これらの開口面同士が向き合うように組み合わされて接合されることによってハウジングが構成されている。2つのガス発生器100を、平面部22b同士が対向するように配置することで、組み付け対象装置内の空間を効率的に利用可能である。
【選択図】図1
特許請求の範囲
【請求項1】
筒状のハウジングと、
前記ハウジングに収容され、燃焼することによってガスを発生させるガス発生剤と、
前記ガス発生剤を着火燃焼させることが可能な点火器と、
前記ガス発生剤を取り囲むように、前記ハウジングの周方向にわたって設けられているフィルタとを備えたガス発生器であって、
前記ハウジングの側面の少なくとも一部が、前記ガス発生器を組み付け対象装置へ組み付ける場合において前記組み付け対象装置内の形状に倣う形状に形成されていることを特徴とするガス発生器。
続きを表示(約 270 文字)
【請求項2】
前記組み付け対象装置内の形状に倣う形状の部分が、平面、もしくは、断面が波形、階段状、またはジグザグ状の面、であることを特徴とする請求項1に記載のガス発生器。
【請求項3】
前記組み付け対象装置内の形状に倣う形状の部分には、ガス噴出口が設けられていないことを特徴とする請求項1に記載のガス発生器。
【請求項4】
前記組み付け対象装置内の形状に倣う形状の部分には、前記組み付け対象装置へ組み付ける場合に使用されるフランジ部が設けられていないことを特徴とする請求項1に記載のガス発生器。
発明の詳細な説明
【技術分野】
【0001】
本発明は、車両等衝突時に乗員を保護する乗員保護装置に組み込まれるガス発生器に関する。
続きを表示(約 1,200 文字)
【背景技術】
【0002】
従来、自動車等の乗員の保護の観点から、乗員保護装置であるエアバッグ装置が普及している。エアバッグ装置は、車両等衝突時に生じる衝撃から乗員を保護する目的で装備されるものであり、車両等衝突時に瞬時にエアバッグを膨張および展開させることにより、エアバッグがクッションとなって乗員の体を受け止めるものである。
【0003】
ガス発生器には、種々の構造のものが存在するが、運転席側エアバッグ装置や助手席側エアバッグ装置等に、特に好適に利用できるガス発生器として、外径が比較的大きい短尺略円柱状のディスク型ガス発生器がある。
【0004】
ディスク型ガス発生器は、軸方向の両端が閉塞された短尺略円筒状のハウジングを有し、ハウジングの周壁部に複数のガス噴出口が設けられるとともに、ハウジングに組付けられた点火器に面するようにハウジングの内部に伝火薬が収容され、さらに当該伝火薬を囲うようにハウジングの内部にガス発生剤が充填され、当該ガス発生剤の周囲をさらに囲うようにフィルタがハウジングの内部に収容されてなるものである。
【0005】
たとえば、特許文献1には、複数の円盤状のガス発生器が並列に設けられたエアバッグ装置が開示されている。
【先行技術文献】
【特許文献】
【0006】
特開2005-132293号公報
【発明の概要】
【発明が解決しようとする課題】
【0007】
しかしながら、特許文献1のような複数の円盤状のガス発生器を組み付けるエアバッグ装置では、エアバッグ装置内の空間を効率的に利用できておらず、装置が比較的大きくなるという課題がある。
【0008】
そこで、本発明は、このような事情に鑑みてなされたものであり、組み付ける対象である組み付け対象装置内の空間を従来よりも効率的に利用できるガス発生器を提供することを目的とする。
【課題を解決するための手段】
【0009】
(1) 本発明のガス発生器は、筒状のハウジングと、前記ハウジングに収容され、燃焼することによってガスを発生させるガス発生剤と、前記ガス発生剤を着火燃焼させることが可能な点火器と、前記ガス発生剤を取り囲むように、前記ハウジングの周方向にわたって設けられているフィルタとを備えたガス発生器であって、前記ハウジングの側面の少なくとも一部が、前記ガス発生器を組み付け対象装置へ組み付ける場合において前記組み付け対象装置内の形状に倣う形状に形成されていることを特徴とする。
【0010】
(2) 上記(1)のガス発生器においては、前記組み付け対象装置内の形状に倣う形状の部分が、平面、曲面、もしくは、断面が波形、階段状、またはジグザグ状の面、であることが好ましい。
(【0011】以降は省略されています)
この特許をJ-PlatPat(特許庁公式サイト)で参照する
関連特許
日本化薬株式会社
インク
29日前
日本化薬株式会社
ガス発生器
1日前
日本化薬株式会社
ガス発生器
1か月前
日本化薬株式会社
ガス発生器
1日前
日本化薬株式会社
ガス発生器
1か月前
日本化薬株式会社
ガス発生器
2か月前
日本化薬株式会社
ガス発生器
3日前
日本化薬株式会社
ガス発生器
10日前
日本化薬株式会社
インクセット
29日前
日本化薬株式会社
前処理組成物
1か月前
日本化薬株式会社
ガス発生剤組成物
29日前
日本化薬株式会社
インク組成物及び捺染方法
1か月前
日本化薬株式会社
直鎖ブテン製造用触媒及びその使用
1か月前
日本化薬株式会社
アクチュエータ、安全装置、および、飛行体
1か月前
日本化薬株式会社
フィルタ、およびフィルタを備えるガス発生器
3日前
日本化薬株式会社
メタクロレイン及び/又はメタクリル酸の製造用触媒
1か月前
日本化薬株式会社
画像表示システム及びヘッドアップディスプレイシステム
1か月前
富士フィルター工業株式会社
フィルタ、及びガス発生器
29日前
日本化薬株式会社
アントラキノン化合物を含有する液晶組成物及び調光素子
1か月前
日本化薬株式会社
インクジェット捺染用白色顔料インク組成物、及びインクセット
1か月前
日本化薬株式会社
インクジェット用インク、インクセット、インクジェット記録方法
1か月前
日本化薬株式会社
液晶滴下工法用液晶シール剤の製造方法、及び液晶表示パネルの製造方法
1か月前
日本化薬株式会社
アゾ化合物又はその塩、並びにそれらを含有する偏光膜、偏光板及び表示装置
1か月前
国立大学法人北海道大学
触媒及びそれを用いた不飽和カルボン酸の製造方法
1か月前
日本化薬株式会社
安全装置、および、安全装置を備えた飛行体
1か月前
日本化薬株式会社
縮合多環芳香族化合物、有機半導体材料、光電変換素子用材料、有機薄膜、及び有機光電変換素子
1か月前
個人
タイヤレバー
4か月前
個人
前輪キャスター
3か月前
個人
上部一体型自動車
2か月前
個人
空間形成装置
1か月前
個人
ホイルのボルト締結
5か月前
個人
ルーフ付きトライク
4か月前
個人
タイヤ脱落防止構造
3か月前
日本精機株式会社
表示装置
4か月前
日本精機株式会社
表示装置
4か月前
日本精機株式会社
表示装置
4か月前
続きを見る
他の特許を見る