TOP
|
特許
|
意匠
|
商標
特許ウォッチ
Twitter
他の特許を見る
10個以上の画像は省略されています。
公開番号
2025157007
公報種別
公開特許公報(A)
公開日
2025-10-15
出願番号
2024059823
出願日
2024-04-02
発明の名称
アクチュエータ、安全装置、および、飛行体
出願人
日本化薬株式会社
代理人
個人
主分類
B64U
70/83 20230101AFI20251007BHJP(航空機;飛行;宇宙工学)
要約
【課題】従来よりも、作動時に飛ばされる移動体の移動速度または高度が向上するアクチュエータ、安全装置、および、安全装置を備えた飛行体を提供する。
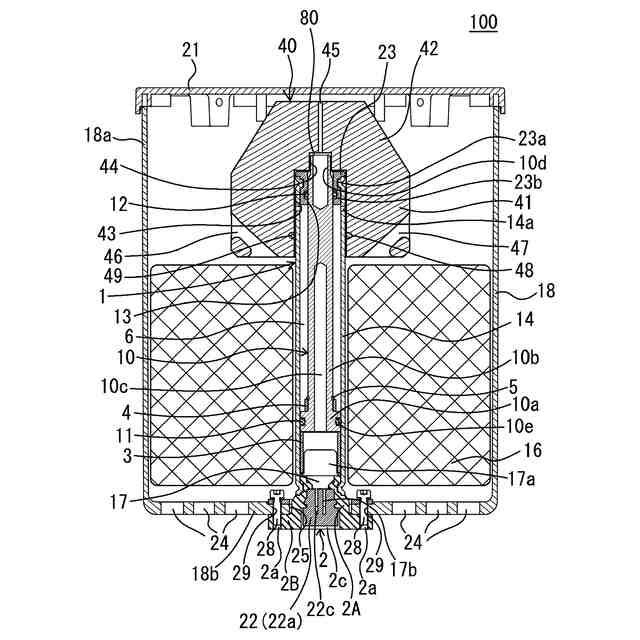
【解決手段】安全装置100は、アクチュエータ1により一方向に発射される移動体40と、発射された移動体40により引っ張られる被展開体16と、アクチュエータ1、移動体40、被展開体16を収容する有底円筒状の収容器18とを備える。移動体40は、有底筒状部材であり、シリンダ14のうち上端部の外側の部分を覆うように配置された筒状部41と、筒状部41との連結部分から逆方向に徐々に縮小する形状に形成されている縮小部42と、筒状部41の内部に形成された穴部43と、穴部43の底部の中央部に形成された穴部44と、被展開体16に連結された連結索の一端が接続される一対の連結索用貫通孔46、47と、を有している。穴部43とシリンダ14の上端部との間に隙間80が形成されている。
【選択図】図1
特許請求の範囲
【請求項1】
筒状のシリンダと、作動時に前記シリンダの内壁に沿って摺動可能な摺動部材とを有し、作動時に摺動した前記摺動部材の先端部により移動体の所定箇所を押すことによって、前記移動体を移動させるアクチュエータであって、
前記移動体は、初期状態において、前記摺動部材が作動時に摺動する方向に位置する前記アクチュエータの先端部に対向するように設けられるものであり、
初期状態において、前記移動体の前記所定箇所と前記摺動部材の先端部との間に所定距離の隙間を形成する隙間形成機構を備えていることを特徴とするアクチュエータ。
続きを表示(約 1,900 文字)
【請求項2】
前記所定距離は、1mm~11mmであることを特徴とする請求項1に記載のアクチュエータ。
【請求項3】
前記所定距離と作動時の前記摺動部材の摺動距離との比率が1.59%~17.46%であることを特徴とする請求項1に記載のアクチュエータ。
【請求項4】
前記シリンダは、一端部に駆動源を有し、前記駆動源と反対側において前記摺動部材を収容し、前記駆動源の作動時に前記摺動部材を他端部の方向に突出させる案内をするものであり、
前記移動体は、前記所定箇所である底部を含む筒状部を少なくとも一部に有した有底筒状部材であり、
前記隙間形成機構は、前記移動体の内壁部に沿って設けたO-リングを前記シリンダの外壁部に当接させるとともに前記所定距離の隙間を形成した状態で前記シリンダに装着、または、前記移動体の内壁部に前記駆動源と反対側の端部の前記シリンダの外壁部を挿入するとともに前記所定距離の隙間を形成した状態で前記シリンダに装着することによってなるものであり、
作動時に前記摺動部材の先端部が前記移動体の底部側から前記移動体を押し出すように、初期状態において、前記移動体の内部に前記摺動部材の先端部が配設されていることを特徴とする請求項1に記載のアクチュエータ。
【請求項5】
前記移動体の前記アクチュエータ側と反対側の部分は、前記アクチュエータ側の部分よりも徐々に縮小する形状に形成されていることを特徴とする請求項4に記載のアクチュエータ。
【請求項6】
開口部と、前記開口部と対向する底部と、を有した収容器をさらに備え、
前記シリンダは、一端部に駆動源を有し、前記駆動源と反対側において前記摺動部材を収容し、前記駆動源の作動時に前記摺動部材を他端部の方向に突出させる案内をするように、前記収容器の前記底部に取り付けられており、
前記移動体は、前記収容器の前記開口部に取り外し可能に設けられた蓋部であり、
前記隙間形成機構は、前記所定距離の隙間を形成した状態で前記収容器の前記開口部に前記蓋部を装着することによってなるものであり、
作動時に前記摺動部材の先端部が前記蓋部の内側から前記蓋部を押し出して前記開口部から取り外すように、前記蓋部と対向する位置に前記摺動部材の先端部が配設されていることを特徴とする請求項1に記載のアクチュエータ。
【請求項7】
開口部を有している収容器と、
前記収容器に格納されている被展開体と、
請求項1~6のいずれか1項に記載のアクチュエータと、
を備えていることを特徴とする安全装置。
【請求項8】
前記移動体は、前記被展開体に第1の連結索を介して接続されており、
前記第1の連結索は、複数本、または、1本の連結索の一端部が複数に分かれているものであって、作動時に緊張状態となった場合、前記移動体の中心軸に対して対称位置となるように前記移動体に接続されるものであり、
前記移動体における前記第1の連結索の一端部との接続位置は、下記(a)~(c)のうちいずれか1つであることを特徴とする請求項7に記載の安全装置。
(a)展開時の前記被展開体と対向する位置から前記移動体の外面部にかけて、前記移動体の中心軸に対して対称に設けられた2つ以上の貫通孔が形成されている位置である。
(b)前記移動体の側部の2箇所以上であって、前記移動体の中心軸に対して対称の位置且つ前記移動体の重心よりも前記アクチュエータ側の位置である。
(c)前記移動体において展開時の前記被展開体と対向する位置の2箇所以上であって、前記移動体の中心軸に対して対称の位置である。
【請求項9】
機体と、前記機体に結合されかつ前記機体を推進させる1つ以上の推進機構と、を備えた飛行体に取り付け可能であって、
前記飛行体が異常状態であると判定された場合、および前記飛行体の操作者から前記アクチュエータを起動させる指示を受けた場合の少なくとも一方の場合に、前記アクチュエータを起動させる起動部を有するトリガー装置を備えることを特徴とする請求項7に記載の安全装置。
【請求項10】
前記トリガー装置は、前記飛行体が異常状態であるか否かを判定する判定部と、前記判定部によって前記飛行体が異常状態であると判定された場合に、前記1つ以上の推進機構を停止させる停止部とを有することを特徴とする請求項9に記載の安全装置。
(【請求項11】以降は省略されています)
発明の詳細な説明
【技術分野】
【0001】
本発明は、移動体を移動させることに使用されるアクチュエータ、当該アクチュエータを備えた安全装置、および、当該安全装置を備えた飛行体に関する。
続きを表示(約 1,300 文字)
【背景技術】
【0002】
近年、自律制御技術および飛行制御技術の発展に伴って、例えばドローンと呼ばれる複数の回転翼を備えた飛行体の産業上における利用が加速しつつある。ドローンは、例えば複数の回転翼を同時にバランスよく回転させることによって飛行し、上昇および下降は回転翼の回転数の増減によって行い、前進および後進は回転翼の回転数の増減を介して機体を傾けることによって成し得る。このような飛行体は今後世界的に拡大することが見込まれている。
【0003】
一方で、上記のような飛行体の落下事故のリスクが危険視されており、飛行体の普及の妨げとなっている。こうした落下事故のリスクを低減するために、安全装置として飛行体用パラシュート装置が製品化されつつある。
【0004】
たとえば、上記パラシュート安全装置の一例として、たとえば特許文献1に記載の装置が挙げられる。具体的には、特許文献1に記載の装置は、パラシュートが、強度ロープを介して、移動体に接続されているものであり、マルチコプターのコックピット上に一端が固定されたピンが配置され、他端には、無線部に接続されたガス発生器を配置するためのキャビティが設けられており、スイッチングロジックブロックが、マルチコプターのコックピットの内側または外側に配置されているものである。
【先行技術文献】
【特許文献】
【0005】
チェコ共和国特許第305548号明細書
【発明の概要】
【発明が解決しようとする課題】
【0006】
特許文献1のような装置において、作動時にアクチュエータによって移動させる移動体の移動速度または高度の向上がより望まれている。
【0007】
そこで、本発明は、従来よりも、作動時に飛ばされる移動体の移動速度または高度が向上するアクチュエータと、当該アクチュエータを備えた安全装置、および、当該安全装置を備えた飛行体を提供することを目的とする。
【課題を解決するための手段】
【0008】
(1) 本発明は、筒状のシリンダと、作動時に前記シリンダの内壁に沿って摺動可能な摺動部材とを有し、作動時に摺動した前記摺動部材の先端部により移動体の所定箇所を押すことによって、前記移動体を移動させるアクチュエータであって、前記移動体は、初期状態において、前記摺動部材が作動時に摺動する方向に位置する前記アクチュエータの先端部に対向するように設けられるものであり、初期状態において、前記移動体の前記所定箇所と前記摺動部材の先端部との間に所定距離の隙間を形成する隙間形成機構を備えていることを特徴とする。
【0009】
(2) 上記(1)のアクチュエータにおいて、前記所定距離は、1mm~11mmであることが好ましい。
【0010】
(3) 上記(1)のアクチュエータにおいて、前記所定距離と作動時の前記摺動部材の摺動距離との比率が1.59%~17.46%であることが好ましい。
(【0011】以降は省略されています)
この特許をJ-PlatPat(特許庁公式サイト)で参照する
関連特許
日本化薬株式会社
インク
1か月前
日本化薬株式会社
インク
2か月前
日本化薬株式会社
ガス発生器
5日前
日本化薬株式会社
ガス発生器
2か月前
日本化薬株式会社
ガス発生器
7日前
日本化薬株式会社
ガス発生器
2か月前
日本化薬株式会社
ガス発生器
14日前
日本化薬株式会社
ガス発生器
5日前
日本化薬株式会社
ガス発生器
1か月前
日本化薬株式会社
防護システム
2か月前
日本化薬株式会社
前処理組成物
2か月前
日本化薬株式会社
インク組成物
2か月前
日本化薬株式会社
インクセット
1か月前
日本化薬株式会社
ガス発生剤組成物
1か月前
日本化薬株式会社
メタノール改質触媒
2か月前
日本化薬株式会社
インク組成物及び捺染方法
2か月前
日本化薬株式会社
ガス発生器およびその製造方法
2か月前
日本化薬株式会社
プリテンショナー用ガス発生装置
2か月前
日本化薬株式会社
直鎖ブテン製造用触媒及びその使用
1か月前
日本化薬株式会社
インクジェットインク印刷物の製造方法。
2か月前
日本化薬株式会社
アクチュエータ、安全装置、および、飛行体
1か月前
日本化薬株式会社
フィルタ、およびフィルタを備えるガス発生器
7日前
日本化薬株式会社
インクジェット記録装置用水系顔料インクセット
2か月前
日本化薬株式会社
メタクロレイン及び/又はメタクリル酸の製造用触媒
2か月前
日本化薬株式会社
画像表示システム及びヘッドアップディスプレイシステム
1か月前
日本化薬株式会社
アントラキノン化合物を含有する液晶組成物及び調光素子
2か月前
日本化薬株式会社
アントラキノン化合物を含有する液晶組成物及び調光素子
2か月前
日本化薬株式会社
アントラキノン化合物を含有する液晶組成物及び調光素子
2か月前
富士フィルター工業株式会社
フィルタ、及びガス発生器
1か月前
日本化薬株式会社
ガス発生器
2か月前
日本化薬株式会社
インクジェット捺染用白色顔料インク組成物、及びインクセット
1か月前
日本化薬株式会社
インクジェット用インク、インクセット、インクジェット記録方法
1か月前
日本化薬株式会社
水系インク組成物、水系インクセット及びインクジェット記録方法
2か月前
日本化薬株式会社
液晶滴下工法用液晶シール剤の製造方法、及び液晶表示パネルの製造方法
2か月前
国立大学法人北海道大学
触媒及びそれを用いた不飽和カルボン酸の製造方法
2か月前
日本化薬株式会社
アゾ化合物又はその塩、並びにそれらを含有する偏光膜、偏光板及び表示装置
2か月前
続きを見る
他の特許を見る