TOP
|
特許
|
意匠
|
商標
特許ウォッチ
Twitter
他の特許を見る
10個以上の画像は省略されています。
公開番号
2025137893
公報種別
公開特許公報(A)
公開日
2025-09-24
出願番号
2024224565
出願日
2024-12-03
発明の名称
動力原付きグライダー
出願人
個人
代理人
主分類
B64C
31/024 20060101AFI20250916BHJP(航空機;飛行;宇宙工学)
要約
【課題】航続距離が長く、且つ、水面にも着陸できる動力源付きグライダーを提供する。
【解決手段】胴体部に主翼、垂直尾翼及び水平尾翼、後部に動力源を備えるグライダーであって、主翼が折り畳み可能であることを特徴とする。
【選択図】図1
特許請求の範囲
【請求項1】
胴体部と主翼及び垂直尾翼又水平尾翼において、
後部に動力原が備えられていることを特徴とする、
グライダー
続きを表示(約 160 文字)
【請求項2】
前記グライダーの主翼において、
折り畳み可能な駆動部が備えられていることを特徴とする、
請求項1記載のグライダー
【請求項3】
前記グライダーにおいて、
水上にも着陸して胴体後部にプロペラを備えていることを特徴とする、
請求項1と2記載のグライダー
発明の詳細な説明
【技術分野】
【0001】
本発明は、動力原付きグライダーの翼が2段階に折りたたむ翼を備えた動力原付きグライダーである。
続きを表示(約 1,200 文字)
【背景技術】
【0002】
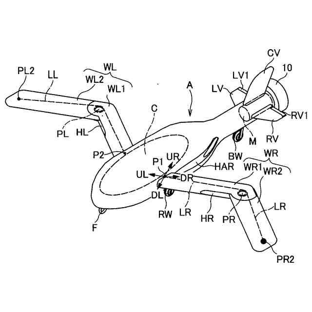
この種のグライダー(図17)Bに示す様に胴体の左右に主翼WBL、WBRとコクピットCが備えられている。又、胴体部Bの後部に垂直尾翼CV、水平尾翼LV、RVも備えられている。更に又、胴体部下部の前面中心にフックFが備えられ、フックFの後部に前面車輪FWと後方に2か所に車輪RW、LWが備えられているシンプルな構造となっている。
【0003】
しかしながら、シンプル構造のグライダーBは、動力原が無い為、航続距離が短く、広大な広い滑走路しか着陸できない。
【発明の概要】
【発明が解決しようとする課題】
【0004】
本発明の動力原付きグライダー(図1、図2)Aは、グライダーの下部に動力原Mと円形のプロペラカバー10と10の内部にプロペラ100が備えられている。その為、動力原付きグライダー(図1、図2)Aは、航続距離を延ばす事ができる。
【0005】
更に、胴体Aの左右にある主翼WR、WL(図9、図10)を2段階に折りたたみ水面(Water)へと着陸することができる(図16)。
【発明を解決するための手段】
【0006】
発明を解決するための手段は、グライダーAの下部に動力原Mと円形のプロペラカバー10と10の内部にプロペラ100を備える。
【0007】
胴体Aの左右にある右主翼WR、左主翼WLの折りたたみは、第一主翼WR2、WL1(図1)に主翼内部にある軸PR、PL(図1)により主翼格納部HR、HLに折り込み第一段階に主翼が折り込まれる(図9)
【0008】
第二段階の折り込みは、胴体格納部HAR、HAL(図3)に主翼WR1、WL2が折り込まれる(図10)。
【発明の効果】
【0009】
本発明において、動力原Mと直結しているプロペラ100(図2)により航続距離を延ばすことができる。又、主翼WR、WLを折り込み水中着陸した時に、胴体部Aの抵抗を減らして水上航行ができる(図16)。
【図面の簡単な説明】
【0010】
斜視図
下方面の斜視図
平面図
底面図
正面図
背面図
左側面図
右側面図
翼を第一段階折り込んだ斜視図
翼を第二段階に織り込んだ斜視図
グライダーを飛ばす実施参考図
グライダーが下降する飛行正面図
グライダーが上昇する飛行正面図
グライダーが左旋回する飛行正面図
グライダーが右旋回する飛行正面図
グライダーが水面に着陸した時の斜視図
従来グライダー
【発明を実施するための形態】
(【0011】以降は省略されています)
特許ウォッチbot のツイートを見る
この特許をJ-PlatPat(特許庁公式サイト)で参照する
関連特許
個人
飛行体
19日前
個人
人工台風
4か月前
個人
ドローン
8か月前
個人
着火ドローン
6か月前
個人
救難消防飛行艇
6か月前
個人
ドローンシステム
10か月前
個人
AERO JET
1か月前
東レ株式会社
中空回転翼
5か月前
個人
動力原付きグライダー
2か月前
個人
飛行自動車vol.2
26日前
個人
無人空中移動体
1か月前
個人
連続回転可能な飛行機翼
6か月前
個人
陸海空用の乗り物
7か月前
個人
導風板付き垂直離着陸機
4か月前
東レ株式会社
飛翔体用ブレード
1か月前
東レ株式会社
プロペラブレード
5か月前
東レ株式会社
プロペラブレード
5か月前
個人
空飛ぶクルマ
5か月前
個人
垂直離着陸機用エンジン改
10か月前
東レ株式会社
プロペラブレード
5か月前
個人
空中移動システム
11か月前
個人
ドローンを自動離着陸する方法
10か月前
個人
エアライナー全自動パラシュート
8か月前
トヨタ自動車株式会社
ドローン
8か月前
株式会社小糸製作所
飛行体ポート
6か月前
合同会社アドエア
パラシュート射出装置
8か月前
株式会社ACSL
システム
9か月前
個人
ヘリコプター駆動装置
6か月前
合同会社アドエア
飛行体の落下補助装置
11か月前
株式会社ACSL
システム
9か月前
個人
搬送方法および搬送システム
6か月前
個人
飛行体
2か月前
個人
垂直離着陸機用ガスタービンエンジン
10か月前
株式会社SUBARU
移動体
11か月前
個人
パラボラ型スペースデブリカタパルト
5か月前
個人
飛行体
5か月前
続きを見る
他の特許を見る