TOP
|
特許
|
意匠
|
商標
特許ウォッチ
Twitter
他の特許を見る
公開番号
2025149289
公報種別
公開特許公報(A)
公開日
2025-10-08
出願番号
2024049837
出願日
2024-03-26
発明の名称
飛行体
出願人
個人
代理人
弁理士法人みなみ特許事務所
主分類
B64U
20/50 20230101AFI20251001BHJP(航空機;飛行;宇宙工学)
要約
【課題】種々の用途に使用することが容易である飛行体を提供する。
【解決手段】ロータを有する上部本体と、収容部を有する複数の下部本体と、前記上部本体と前記下部本体とを連結する連結部を備え、複数の前記下部本体から選択された1つの前記下部本体が、前記上部本体の下側に連結されるものであり、前記連結部が、前記上部本体と前記下部本体の一方に設けられ他方に向けて突出する凸部と、前記上部本体と前記下部本体の他方に設けられ一方に向けて開口する凹部と、前記凸部が前記凹部に挿入された状態で前記凸部と前記凹部とを着脱自在に接続する接続部を有する。
【選択図】図1
特許請求の範囲
【請求項1】
ロータを有する上部本体と、収容部を有する複数の下部本体と、前記上部本体と前記下部本体とを連結する連結部を備え、
複数の前記下部本体から選択された1つの前記下部本体が、前記上部本体の下側に連結されるものであり、
前記連結部が、前記上部本体と前記下部本体の一方に設けられ他方に向けて突出する凸部と、前記上部本体と前記下部本体の他方に設けられ一方に向けて開口する凹部と、前記凸部が前記凹部に挿入された状態で前記凸部と前記凹部とを着脱自在に接続する接続部を有することを特徴とする飛行体。
発明の詳細な説明
【技術分野】
【0001】
本発明は、貨物の搬送や農薬の散布など種々の用途に使用できる飛行体に関する。
続きを表示(約 1,700 文字)
【背景技術】
【0002】
近年普及している無人飛行体(UAV、ドローンなどともいう)は、種々の用途に用いられている。用途の一例として、特許文献1に示すような荷物の搬送が挙げられる。特許文献1の飛行体は、搬送する荷物を把持するための把持装置を有している。また、用途の他の例として、特許文献2に示すような肥料や農薬の散布が挙げられる。特許文献2の飛行体は、肥料などを散布するための吐出装置を有している。
【先行技術文献】
【特許文献】
【0003】
特開2018-114822号公報
特開2021-49875号公報
【発明の概要】
【発明が解決しようとする課題】
【0004】
このように、従来の飛行体は、その用途に応じた構造を有している。よって、ある用途のための飛行体を、そのまま他の用途のために用いることはできなかった。飛行体を別の用途のために用いるには、その用途に応じた構造を付加する改造が必要であり、費用や手間がかかっていた。
【0005】
本発明は、このような事情を鑑みたものであり、種々の用途に使用することが容易である飛行体を提供することを目的とする。
【課題を解決するための手段】
【0006】
本発明の飛行体は、ロータを有する上部本体と、収容部を有する複数の下部本体と、前記上部本体と前記下部本体とを連結する連結部を備え、複数の前記下部本体から選択された1つの前記下部本体が、前記上部本体の下側に連結されるものであり、前記連結部が、前記上部本体と前記下部本体の一方に設けられ他方に向けて突出する凸部と、前記上部本体と前記下部本体の他方に設けられ一方に向けて開口する凹部と、前記凸部が前記凹部に挿入された状態で前記凸部と前記凹部とを着脱自在に接続する接続部を有することを特徴とする。上部本体がロータを有しており、飛行可能である。そして、連結部により、上部本体と下部本体とが一体となって、飛行するものである。
【発明の効果】
【0007】
本発明の飛行体によれば、複数の下部本体の収容部にそれぞれ異なる用途のための構造を収容しておくことで、それらの中から適宜1つの下部本体を選択して上部本体に連結して、飛行体を種々の用途に使用することができる。上部本体と下部本体とを連結する連結部は、凹部に凸部を挿入して接続部により接続する構成であるから、上部本体と下部本体の着脱および下部本体の交換が容易である。
【図面の簡単な説明】
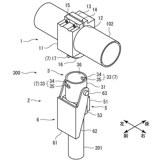
【0008】
上部本体と下部本体が連結した状態の飛行体の斜視図である。
上部本体と下部本体が分離した状態の飛行体の斜視図である。
連結部を示し、(a)は一部断面図、(b)は正面図、(c)は側面図である。
連結部が上側連結部と下側連結部に分離した状態を示す斜視図である。
連結部の動作の説明図であり、(a)、(c)、(e)は正面図、(b)、(d)、(f)は側面図である。
【発明を実施するための形態】
【0009】
以下、本発明の飛行体の具体的な内容について説明する。この飛行体は、遠隔操作または自動制御により飛行する。図1および図2に示すように、飛行体は、上部本体100と、下部本体200と、上部本体100と下部本体200とを連結する連結部300を備える。
【0010】
上部本体100は、胴体101と、桁材102と、ロータ103を備える。胴体101は、上面視して円形で上側に膨らむドーム状であり、内部には、制御装置、通信装置やバッテリ(いずれも図示省略)が設けられている。桁材102は、CFRP製で長尺の円管材からなり、胴体101の周縁部に4本設けられている。4本の桁材102は、胴体101の円周方向に90°間隔で配置されており、胴体101の周縁部から、半径方向外側に向けて延びている。ロータ103は、4本の各桁材102の先端に設けられている。各ロータ103は、胴体101内の制御装置やバッテリと接続されている。
(【0011】以降は省略されています)
この特許をJ-PlatPat(特許庁公式サイト)で参照する
関連特許
個人
人工台風
3か月前
個人
ドローン
7か月前
個人
着火ドローン
5か月前
個人
救難消防飛行艇
5か月前
個人
ドローンシステム
9か月前
個人
AERO JET
14日前
東レ株式会社
中空回転翼
4か月前
個人
無人空中移動体
25日前
個人
動力原付きグライダー
1か月前
個人
連続回転可能な飛行機翼
5か月前
個人
導風板付き垂直離着陸機
2か月前
個人
陸海空用の乗り物
6か月前
東レ株式会社
プロペラブレード
4か月前
個人
空飛ぶクルマ
4か月前
東レ株式会社
プロペラブレード
4か月前
東レ株式会社
飛翔体用ブレード
21日前
東レ株式会社
プロペラブレード
4か月前
個人
垂直離着陸機用エンジン改
9か月前
個人
ドローンを自動離着陸する方法
9か月前
個人
ドローン消音装置
12か月前
個人
空中移動システム
10か月前
個人
エアライナー全自動パラシュート
7か月前
トヨタ自動車株式会社
ドローン
7か月前
個人
搬送方法および搬送システム
4か月前
個人
ヘリコプター駆動装置
4か月前
合同会社アドエア
パラシュート射出装置
7か月前
株式会社ACSL
システム
8か月前
合同会社アドエア
飛行体の落下補助装置
10か月前
株式会社小糸製作所
飛行体ポート
5か月前
株式会社ACSL
システム
8か月前
個人
飛行体
27日前
個人
垂直離着陸機用ガスタービンエンジン
9か月前
株式会社SUBARU
移動体
10か月前
個人
飛行体
3か月前
個人
飛行体
4か月前
個人
パラボラ型スペースデブリカタパルト
4か月前
続きを見る
他の特許を見る