TOP
|
特許
|
意匠
|
商標
特許ウォッチ
Twitter
他の特許を見る
公開番号
2025148194
公報種別
公開特許公報(A)
公開日
2025-10-07
出願番号
2024048831
出願日
2024-03-25
発明の名称
ガス発生器
出願人
日本化薬株式会社
代理人
個人
主分類
B60R
21/264 20060101AFI20250930BHJP(車両一般)
要約
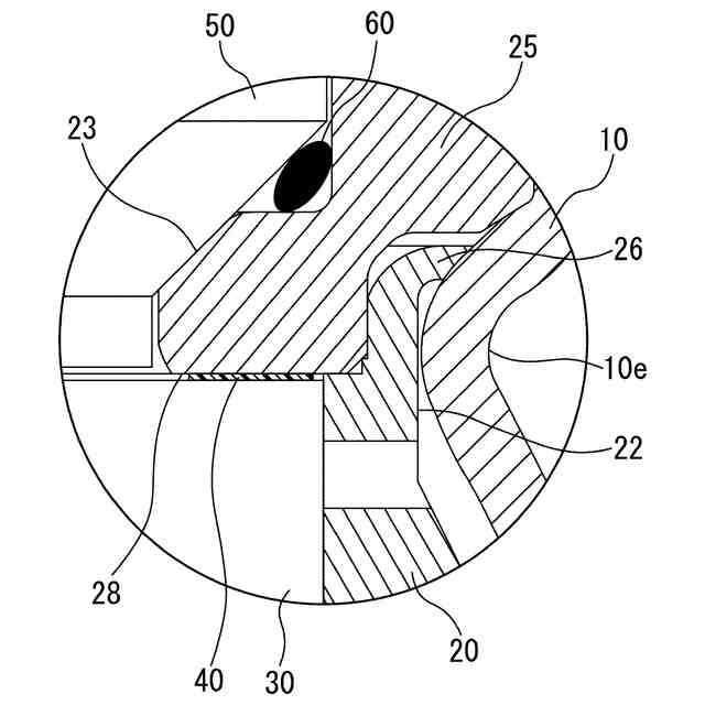
【課題】コストをかけずに、容易に、リテーナの底部の金属部と金属製のホルダとを電気的に導通させておくことが可能なガス発生器を得る。
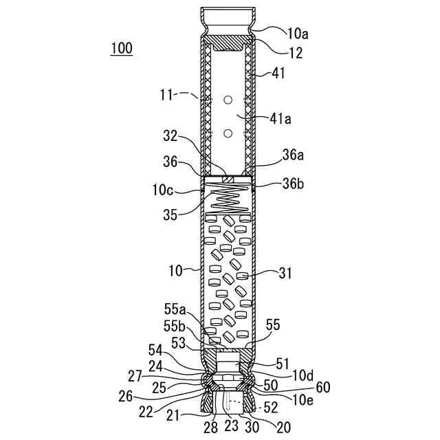
【解決手段】ガス発生器は、長尺略円柱状の外形を有しており、ハウジング10と、ハウジング10の一方の開口端付近に取付けられているコネクタ接続部20、ホルダ25、指向性部材53と、ホルダ25に保持され、ガス発生剤31を点火する点火器50と、ハウジング10の他方の開口端を閉塞するようにハウジング10の他端部に取付けられている閉塞部材と、フィルタと、を含んでいる。コネクタ接続部20に嵌合するリテーナ40の底部に設けられている金属部と、ホルダ25とは、導電性樹脂40を介して電気的に導通している。
【選択図】図2
特許請求の範囲
【請求項1】
燃焼することによってガスを発生させるガス発生剤が装填され、前記ガスが通過するフィルタを内部に含み、前記フィルタに対応する位置に前記ガスを噴出するガス噴出口が形成されているハウジングと、
前記ガス発生剤を着火燃焼させることが可能な点火器と、
前記ハウジングの軸方向の一端部に配設され、外部装置へ組み付ける場合に前記一端部側において前記点火器に通電させるための外部コネクタを嵌合可能であるとともに、側面および底面の少なくとも一部に金属部を有したリテーナを嵌合可能な樹脂製の筒状部と、
前記筒状部に対向するように前記ハウジングに固定され、前記点火器の一部を保持する金属製または合金製の筒状のホルダと、
を備え、
前記リテーナが前記筒状部に嵌合されている場合、前記ホルダの前記リテーナに対向する部分のうち少なくとも一部と、前記リテーナにおける前記金属部とが、導電性樹脂または導電性グリスを介して電気的に導通していることを特徴とするガス発生器。
続きを表示(約 300 文字)
【請求項2】
前記導電性樹脂または前記導電性グリスは、少なくとも前記ホルダにおける前記金属部に対向する部分に付着させてなるものであることを特徴とする請求項1に記載のガス発生器。
【請求項3】
前記ホルダの前記筒状部側には環状の面が形成されており、
前記環状の面に沿って一周にわたって、前記導電性樹脂または前記導電性グリスが付着していることを特徴とする請求項2に記載のガス発生器。
【請求項4】
前記導電性樹脂は、前記ホルダと対向する部分であって前記リテーナの底面の少なくとも一部に設けられた前記金属部と接触していることを特徴とする請求項1に記載のガス発生器。
発明の詳細な説明
【技術分野】
【0001】
本発明は、自動車等に搭載される乗員保護装置としてのエアバッグ装置に組み込まれるガス発生器に関する。
続きを表示(約 1,600 文字)
【背景技術】
【0002】
従来のガス発生器においては、静電気を除去するために導電性樹脂で成形したホルダを用いるなど、様々な工夫がなされている(例えば、下記特許文献1参照)。また、たとえば、ガス発生器は、エアバッグモジュールなどに組み付ける前の段階(輸送時など)において、エアバッグモジュールなどに組み付ける際に外部コネクタを接続する部位に、点火器の短絡に使用するリテーナという部品を装着することがある。リテーナの中には、金属製のホルダを介してガス発生器に蓄積した静電気を除電する機能も有するリテーナが存在する。
【先行技術文献】
【特許文献】
【0003】
特開2017-61185号公報
【発明の概要】
【発明が解決しようとする課題】
【0004】
このリテーナを使用するにあたってホルダを金属製として、当該リテーナの側面から静電気を除電することとしてもよいが、金属の加工難度は比較的高いので、コストがかかる。また、金属製の場合、その分、重量が重くなりやすい。したがって、ホルダを樹脂製とすることで軽量化できるが、この場合、ホルダの側面および底部にグラウンド用の金属部を設けることになる。しかしながら、底部の金属部と金属製のホルダとの間には隙間ができやすく、接触させておくことが難しいという問題点がある。
【0005】
そこで、本発明は、コストをかけずに、容易に、底部の金属部と金属製のホルダとの間にできる隙間を埋め、リテーナの底部の金属部と金属製のホルダとを電気的に導通させておくことが可能なガス発生器を提供することを目的とする。
【課題を解決するための手段】
【0006】
(1) 本発明のガス発生器は、燃焼することによってガスを発生させるガス発生剤が装填され、前記ガスが通過するフィルタを内部に含み、前記フィルタに対応する位置に前記ガスを噴出するガス噴出口が形成されているハウジングと、前記ガス発生剤を着火燃焼させることが可能な点火器と、前記ハウジングの軸方向の一端部に配設され、外部装置へ組み付ける場合に前記一端部側において前記点火器に通電させるための外部コネクタを嵌合可能であるとともに、側面および底面の少なくとも一部に金属部を有したリテーナを嵌合可能な樹脂製の筒状部と、前記筒状部に対向するように前記ハウジングに固定され、前記点火器の一部を保持する金属製または合金製の筒状のホルダと、を備え、前記リテーナが前記筒状部に嵌合されている場合、前記ホルダの前記リテーナに対向する部分のうち少なくとも一部と、前記リテーナにおける前記金属部とが、導電性樹脂または導電性グリスを介して電気的に導通していることを特徴とする。
【0007】
(2) 上記(1)のガス発生器においては、前記導電性樹脂または前記導電性グリスは、少なくとも前記ホルダにおける前記金属部に対向する部分に付着させてなるものであることが好ましい。
【0008】
(3) 上記(2)のガス発生器においては、前記ホルダの前記筒状部側には環状の面が形成されており、前記環状の面に沿って一周にわたって、前記導電性樹脂または前記導電性グリスが付着していることが好ましい。
【0009】
(4) 上記(1)のガス発生器においては、前記ホルダと対向する部分であって前記リテーナの底面の少なくとも一部に設けられた前記金属部と接触していることが好ましい。
【発明の効果】
【0010】
本発明によれば、コストをかけずに、容易に、底部の金属部と金属製のホルダとの間にできる隙間を埋め、リテーナの底部の金属部と金属製のホルダとを電気的に導通させておくことが可能なガス発生器を提供することができる。
【図面の簡単な説明】
(【0011】以降は省略されています)
この特許をJ-PlatPat(特許庁公式サイト)で参照する
関連特許
日本化薬株式会社
インク
1か月前
日本化薬株式会社
ガス発生器
5日前
日本化薬株式会社
ガス発生器
5日前
日本化薬株式会社
ガス発生器
7日前
日本化薬株式会社
ガス発生器
14日前
日本化薬株式会社
ガス発生器
1か月前
日本化薬株式会社
インクセット
1か月前
日本化薬株式会社
ガス発生剤組成物
1か月前
日本化薬株式会社
直鎖ブテン製造用触媒及びその使用
1か月前
日本化薬株式会社
アクチュエータ、安全装置、および、飛行体
1か月前
日本化薬株式会社
フィルタ、およびフィルタを備えるガス発生器
7日前
富士フィルター工業株式会社
フィルタ、及びガス発生器
1か月前
日本化薬株式会社
インクジェット用インク、インクセット、インクジェット記録方法
1か月前
日本化薬株式会社
安全装置、および、安全装置を備えた飛行体
1か月前
個人
タイヤレバー
4か月前
個人
前輪キャスター
3か月前
個人
上部一体型自動車
2か月前
個人
タイヤ脱落防止構造
3か月前
個人
ルーフ付きトライク
4か月前
個人
空間形成装置
1か月前
日本精機株式会社
照明装置
1か月前
個人
車両通過構造物
4か月前
個人
マスタシリンダ
2か月前
日本精機株式会社
表示装置
4か月前
日本精機株式会社
表示装置
3か月前
日本精機株式会社
表示装置
4か月前
日本精機株式会社
表示装置
4か月前
個人
乗合路線バスの客室装置
4か月前
個人
常設収納型サンバイザー
1か月前
日本精機株式会社
車載表示装置
1か月前
日本精機株式会社
車室演出装置
3か月前
個人
回転窓ワイパー装置
1か月前
株式会社豊田自動織機
産業車両
1か月前
日本精機株式会社
車載表示装置
1か月前
株式会社豊田自動織機
産業車両
4か月前
株式会社ニフコ
照明装置
3か月前
続きを見る
他の特許を見る