TOP
|
特許
|
意匠
|
商標
特許ウォッチ
Twitter
他の特許を見る
10個以上の画像は省略されています。
公開番号
2025167648
公報種別
公開特許公報(A)
公開日
2025-11-07
出願番号
2024072478
出願日
2024-04-26
発明の名称
フィルタ、及びガス発生器
出願人
富士フィルター工業株式会社
,
日本化薬株式会社
代理人
個人
,
個人
主分類
B60R
21/264 20060101AFI20251030BHJP(車両一般)
要約
【課題】万が一金属線材が断線した場合であっても、金属線材がほつれないようにするか、又は金属線材のほつれをごく一部にとどめて他の金属線材の部分に波及させないようにする。
【解決手段】フィルタ201は、金属線材220が螺旋状且つ多層状に巻き付けられた巻線体210Aと、巻線体の外周面の一部を被覆して金属線材のほつれを防止する少なくとも一つの保護部材231と、を備える。巻線体は、その最外層Lnを含む外周部に、金属線材の周回数が内周部213よりも少ない低周回数部211を備える。保護部材は、金属線材とは別個の部材から構成されている。保護部材は、巻線体の軸方向の中間部に装着されて巻線体を少なくとも一周している。少なくとも巻線体の最外層を構成する第一金属線材部分220(n)の一部位(接触部221)が保護部材と接触している。
【選択図】図1
特許請求の範囲
【請求項1】
金属線材が螺旋状且つ多層状に巻き付けられた巻線体と、該巻線体の外周面の一部を被覆して前記金属線材のほつれを防止する少なくとも一つの保護部材と、を備えたフィルタであって、
前記巻線体は、該巻線体の最外層を含む外周部に、前記金属線材の周回数が内周部よりも少ない低周回数部を備え、
前記保護部材は、前記金属線材とは別個の部材から構成されて、前記巻線体の適所に取り付けられており、
少なくとも前記巻線体の最外層を構成する第一金属線材部分の一部位が前記保護部材と接触していることを特徴とするフィルタ。
続きを表示(約 900 文字)
【請求項2】
前記保護部材は、前記巻線体の軸方向の中間部に配置されて前記巻線体を少なくとも一周していることを特徴とする請求項1に記載のフィルタ。
【請求項3】
前記第一金属線材部分の周回数p(但しpは正の数)、前記保護部材の数q(但しqは自然数)としたときに、p≦qを満たすことを特徴とする請求項1に記載のフィルタ。
【請求項4】
前記最外層とその隣接層における前記金属線材の周回数は一周以下であることを特徴とする請求項1に記載のフィルタ。
【請求項5】
前記保護部材の非空隙部による前記巻線体の被覆面積は、前記巻線体の外周面積の30%以下であることを特徴とする請求項1に記載のフィルタ。
【請求項6】
金属線材が螺旋状且つ多層状に巻き付けられた巻線体と、該巻線体の外周面の一部を被覆して前記金属線材のほつれを防止する少なくとも一つの保護部材と、を備えたフィルタであって、
前記保護部材は、前記金属線材とは別個の部材から構成され、且つ、前記巻線体の周方向の一部位に配置されて前記巻線体の適所に固定されており、
前記巻線体の最外層を構成する第一金属線材部分の周回数p(但しpは正の数)、前記第一金属線材部分と前記保護部材とが接触する接触部の数r(但しrは自然数)としたときに、p≦rを満たすことを特徴とするフィルタ。
【請求項7】
前記第一金属線材部分は前記接触部を複数個備え、該各接触部は軸方向に離間していることを特徴とする請求項6に記載のフィルタ。
【請求項8】
前記保護部材は、前記第一金属線材部分と交差する方向に延在し、且つ、前記接触部を複数個備えることを特徴とする請求項6に記載のフィルタ。
【請求項9】
前記保護部材の非空隙部による前記巻線体の被覆面積は、前記巻線体の外周面積の30%以下であることを特徴とする請求項6に記載のフィルタ。
【請求項10】
請求項1乃至9の何れか一項に記載のフィルタが組み込まれたことを特徴とするガス発生器。
発明の詳細な説明
【技術分野】
【0001】
本発明は、フィルタ、及びガス発生器に関する。
続きを表示(約 1,900 文字)
【背景技術】
【0002】
自動車等の車両等には、車両等の衝突時に生じる衝撃から乗員を保護するエアバッグ装置が装備されている。車両等の衝突時にエアバッグを瞬時に膨張および展開させるガス発生器は、車両等の衝突時にガス発生剤を燃焼させて多量のガスを瞬時に発生させ、これによりエアバッグを膨張および展開させる。ガス発生器には、ガス発生剤の燃焼によって生成される高温ガスの噴出を制御し、及び冷却するために金属製のフィルタが内蔵される。
【0003】
上記金属製のフィルタの一例として特許文献1には、少なくとも一本の金属線材を螺旋状且つ多層状に巻き付けた巻線型のフィルタが記載されている。このフィルタは筒状であり、軸方向の両端部に、金属線材の巻き付けピッチを狭くすることで金属線材の巻回密度を高めたほつれ防止部を備えている。これにより、軸方向両端部近傍のほつれを抑制して、フィルタの形状保持性を高めている。
【先行技術文献】
【特許文献】
【0004】
特開2007-319781公報
【発明の概要】
【発明が解決しようとする課題】
【0005】
特許文献1において、ほつれ防止部はフィルタを構成する金属線材からなる。このため、ほつれ防止部又はその近傍において金属線材が断線すると、ほつれ防止部がほつれてその役割を果たせなくなる。その結果、ほつれ防止部よりも内径側に位置するフィルタ部分がほつれる虞がある。
【0006】
本発明は上述の事情に鑑みてなされたものであり、万が一金属線材が断線した場合であっても、金属線材がほつれないようにするか、又は金属線材のほつれをごく一部にとどめて他の金属線材の部分に波及させないようにすることを目的とする。
【課題を解決するための手段】
【0007】
上記の課題を解決するために、本発明は、金属線材が螺旋状且つ多層状に巻き付けられた巻線体と、該巻線体の外周面の一部を被覆して前記金属線材のほつれを防止する少なくとも一つの保護部材と、を備えたフィルタであって、前記巻線体は、該巻線体の最外層を含む外周部に、前記金属線材の周回数が内周部よりも少ない低周回数部を備え、前記保護部材は、前記金属線材とは別個の部材から構成されて、前記巻線体の適所に取り付けられており、少なくとも前記巻線体の最外層を構成する第一金属線材部分の一部位が前記保護部材と接触していることを特徴とする。
【発明の効果】
【0008】
本発明によれば、万が一金属線材が断線した場合であっても、金属線材がほつれないようにするか、又は金属線材のほつれをごく一部にとどめて金属線材の他の部分に波及させないようにできる。
【図面の簡単な説明】
【0009】
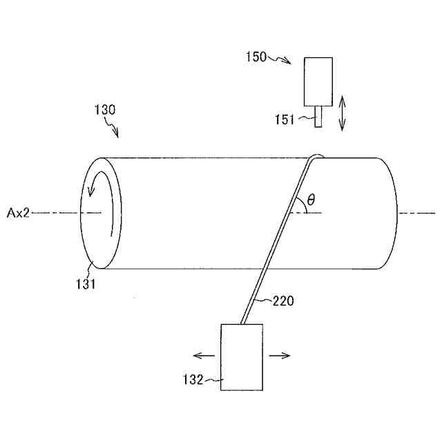
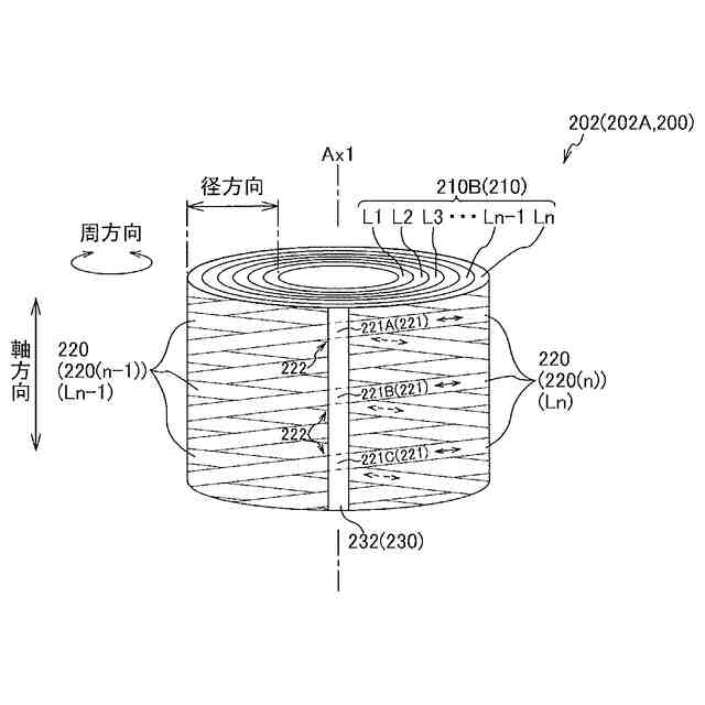
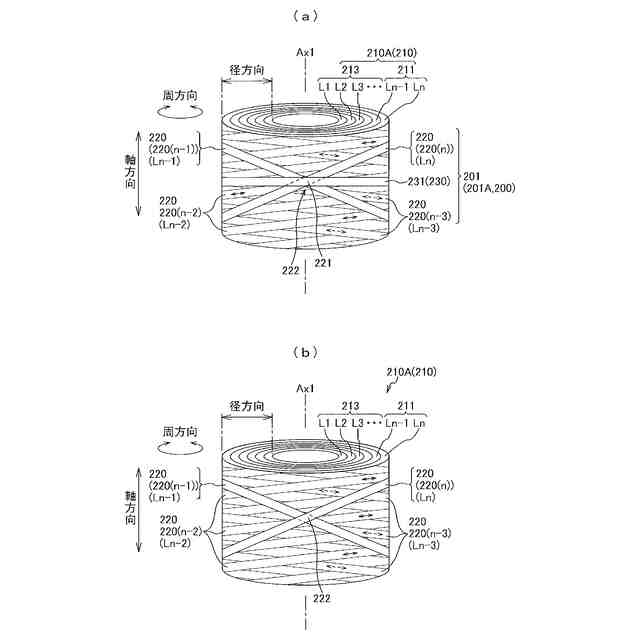
本発明の第一の実施形態に係るフィルタを説明する図であり、(a)はフィルタの模式的斜視図であり、(b)は同フィルタを構成する巻線体の模式的斜視図である。
巻線体の製造方法について説明する模式図である。
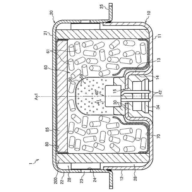
本発明の一実施形態に係るフィルタが組み込まれたディスク型ガス発生器の概略図である。
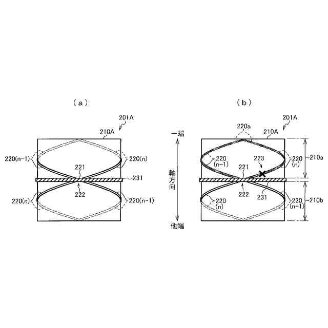
(a)、(b)は、周方向に巻き付けられる保護部材の取付方法の一例について説明する平面図である。
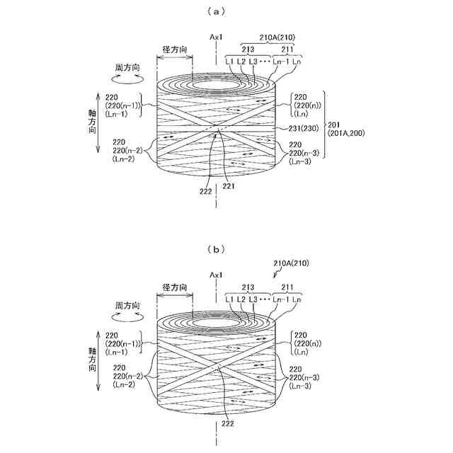
(a)、(b)は、保護部材の取付位置について説明する模式的正面図である。
低周回数部に属する金属線材の周回数について説明する模式的正面図である。
(a)、(b)は、第一の実施形態の変形例を示す模式的正面図である。
本発明の第二の実施形態に係るフィルタを示す模式的正面図である。
(a)、(b)は、保護部材の取付位置について説明する模式的正面図である。
(a)、(b)は、第二の実施形態の変形例を示す模式的正面図である。
(a)、(b)は、保護部材による巻線体の外周被覆率と圧力損失との関係を算出するために使用した試験体を写真で示す図である。
(a)、(b)は、保護部材による巻線体の外周被覆率と圧力損失との関係を示す図である。
【発明を実施するための形態】
【0010】
以下、本発明を図に示した実施形態を用いて詳細に説明する。但し、この実施形態に記載される構成要素、種類、組み合わせ、形状、その相対配置などは特定的な記載がない限り、この発明の範囲をそれのみに限定する主旨ではなく単なる説明例に過ぎない。また、各実施形態は矛盾しない限り適宜組み合わせて実施することができる。
(【0011】以降は省略されています)
この特許をJ-PlatPat(特許庁公式サイト)で参照する
関連特許
個人
タイヤレバー
4か月前
個人
前輪キャスター
3か月前
個人
上部一体型自動車
1か月前
個人
ルーフ付きトライク
3か月前
個人
タイヤ脱落防止構造
3か月前
個人
空間形成装置
1か月前
日本精機株式会社
照明装置
25日前
日本精機株式会社
表示装置
4か月前
日本精機株式会社
表示装置
3か月前
日本精機株式会社
表示装置
4か月前
日本精機株式会社
表示装置
4か月前
個人
車両通過構造物
4か月前
個人
マスタシリンダ
2か月前
個人
常設収納型サンバイザー
1か月前
個人
乗合路線バスの客室装置
4か月前
株式会社ニフコ
照明装置
3か月前
個人
音声ガイド、音声サービス
4か月前
日本精機株式会社
車載表示装置
1か月前
日本精機株式会社
車載表示装置
1か月前
株式会社ニフコ
収納装置
2か月前
個人
円湾曲ホイール及び球体輪
4か月前
日本精機株式会社
車室演出装置
3か月前
日本精機株式会社
画像投映装置
1か月前
日本精機株式会社
車載表示装置
1か月前
個人
車載小物入れ兼雨傘収納具
4か月前
株式会社豊田自動織機
産業車両
25日前
株式会社豊田自動織機
産業車両
3か月前
日本精機株式会社
車載表示装置
2か月前
個人
回転窓ワイパー装置
1か月前
日本精機株式会社
車両用報知装置
1か月前
個人
音による速度計とプログラム
1か月前
極東開発工業株式会社
車両
4か月前
日本精機株式会社
車両用投影装置
2か月前
日本精機株式会社
車両用表示装置
1か月前
日本精機株式会社
車両用表示装置
3か月前
株式会社SUBARU
車両
1か月前
続きを見る
他の特許を見る