TOP
|
特許
|
意匠
|
商標
特許ウォッチ
Twitter
他の特許を見る
10個以上の画像は省略されています。
公開番号
2025172649
公報種別
公開特許公報(A)
公開日
2025-11-26
出願番号
2024078286
出願日
2024-05-13
発明の名称
ガス発生器
出願人
日本化薬株式会社
代理人
個人
主分類
B60R
21/264 20060101AFI20251118BHJP(車両一般)
要約
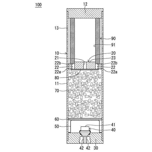
【課題】より多くのガス発生剤を燃焼させることができるガス発生器を提供する。
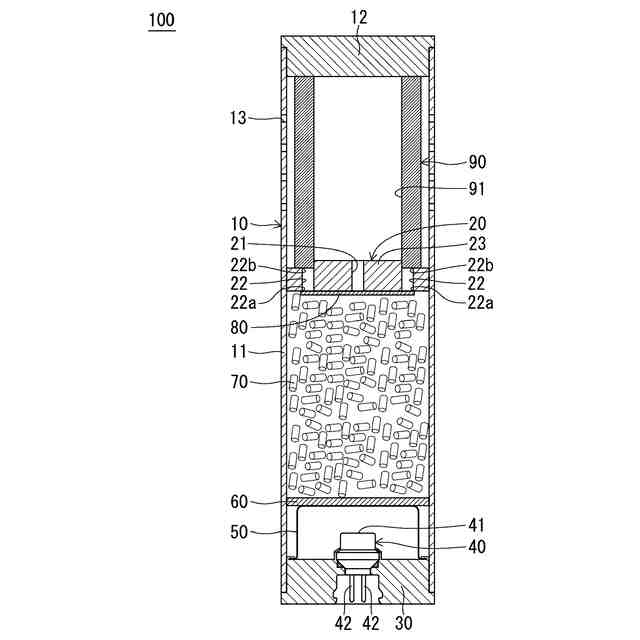
【解決手段】ガス発生器100は、ハウジング10の軸方向と直交する方向に延び、軸方向においてハウジング10の内部を仕切る仕切部材20と、仕切部材20の一方側においてハウジング10に収容されるガス発生剤70と、仕切部材20の他方側においてハウジング10に収容されるフィルタ90とを備え、仕切部材20は、ハウジング10の径方向における仕切部材20の中央部よりも径方向の外方において軸方向の一方側に開口するとともに軸方向の他方側に開口するように仕切部材20を貫通しかつガス発生剤70が燃焼することによって発生したガスが通過するように設けられる貫通孔22を有する。
【選択図】図1
特許請求の範囲
【請求項1】
筒状のハウジングと、
前記ハウジングの軸方向と直交する方向に延び、前記軸方向において前記ハウジングの内部を仕切る第1仕切部材と、
前記軸方向における前記第1仕切部材の一方側において前記ハウジングに収容され、燃焼することによってガスを発生させるガス発生剤と、
前記ガス発生剤を着火燃焼させることが可能な点火器と、
前記軸方向における前記第1仕切部材の他方側において前記ハウジングに収容され、前記ハウジングの周方向にわたって設けられるフィルタとを備え、
前記第1仕切部材は、前記ハウジングの径方向における前記第1仕切部材の中央部よりも前記径方向の外方において前記軸方向の一方側に開口するとともに前記軸方向の他方側に開口するように前記第1仕切部材を貫通しかつ前記ガス発生剤が燃焼することによって発生した前記ガスが通過するように設けられる第1貫通孔を複数有し、
前記フィルタは、前記第1貫通孔を通過した前記ガスが前記フィルタを通過するように設けられ、
前記ハウジングは、前記フィルタを通過した前記ガスを前記ハウジングの外部に噴出するガス噴出口を有することを特徴とするガス発生器。
続きを表示(約 930 文字)
【請求項2】
前記第1貫通孔は、前記第1仕切部材を前記軸方向に貫通し、前記軸方向において前記フィルタと重なることを特徴とする請求項1に記載のガス発生器。
【請求項3】
前記第1仕切部材は、前記第1仕切部材の前記中央部よりも前記径方向の外方かつ前記第1貫通孔よりも前記径方向の内方において前記軸方向の一方側に開口するとともに前記軸方向の他方側に開口するように前記第1仕切部材を貫通し、かつ前記ガス発生剤が燃焼することによって発生した前記ガスが通過するように設けられる第2貫通孔を複数有し、
前記第2貫通孔は、前記軸方向から見たとき、前記第1貫通孔よりも小さいことを特徴とする請求項1に記載のガス発生器。
【請求項4】
前記第1貫通孔における前記軸方向の一方側の開口部の少なくとも一部は、前記径方向において、前記フィルタの内周部よりも外方に位置し、
前記第1貫通孔における前記軸方向の他方側の開口部は、前記径方向において、前記内周部よりも内方に位置することを特徴とする請求項1に記載のガス発生器。
【請求項5】
前記第1仕切部材は、前記軸方向の一方側から前記フィルタを支持することを特徴とする請求項1から4のいずれか1項に記載のガス発生器。
【請求項6】
前記第1仕切部材は、前記軸方向の他方側に突出しかつ前記径方向において前記フィルタの内方に位置しかつ前記フィルタを前記径方向に支持する突出部を有することを特徴とする請求項1から4のいずれか1項に記載のガス発生器。
【請求項7】
前記軸方向における前記第1仕切部材の一方側に位置し、前記軸方向において前記ハウジングの内部を仕切る第2仕切部材を備え、
前記第2仕切部材は、前記径方向における前記第2仕切部材の中央部よりも前記径方向の外方において前記軸方向の一方側に開口するとともに前記軸方向の他方側に開口するように前記第2仕切部材を貫通しかつ前記ガス発生剤が燃焼することによって発生した前記ガスが通過するように設けられる第3貫通孔を複数有することを特徴とする請求項1から4のいずれか1項に記載のガス発生器。
発明の詳細な説明
【技術分野】
【0001】
本発明は、車両等衝突時に乗員を保護する乗員保護装置に組み込まれるガス発生器に関し、特に、自動車等に装備されるエアバッグ装置に組み込まれるガス発生器に関する。
続きを表示(約 1,500 文字)
【背景技術】
【0002】
従来、自動車等の乗員の保護の観点から、乗員保護装置であるエアバッグ装置が普及している。エアバッグ装置は、車両等衝突時に生じる衝撃から乗員を保護する目的で装備されるものであり、車両等衝突時に瞬時にエアバッグを膨張および展開させることにより、エアバッグがクッションとなって乗員の体を受け止めるものである。
【0003】
ガス発生器には、種々の構造のものが存在する。たとえば、特許文献1には、中央部がホルダ側に向けて突出するように湾曲している多孔板を有するガス発生器が開示されている。
【先行技術文献】
【特許文献】
【0004】
特開2009-286218号公報
【発明の概要】
【発明が解決しようとする課題】
【0005】
ところで、ガス発生器では、未燃焼のガス発生剤の残存を抑制し、より多くのガス発生剤を燃焼させることが望まれている。
【0006】
そこで、本発明は、このような事情に鑑みてなされたものであり、より多くのガス発生剤を燃焼させることができるガス発生器を提供することを目的とする。
【課題を解決するための手段】
【0007】
(1) 本発明のガス発生器は、筒状のハウジングと、前記ハウジングの軸方向と直交する方向に延び、前記軸方向において前記ハウジングの内部を仕切る第1仕切部材と、前記軸方向における前記第1仕切部材の一方側において前記ハウジングに収容され、燃焼することによってガスを発生させるガス発生剤と、前記ガス発生剤を着火燃焼させることが可能な点火器と、前記軸方向における前記第1仕切部材の他方側において前記ハウジングに収容され、前記ハウジングの周方向にわたって設けられるフィルタとを備え、前記第1仕切部材は、前記ハウジングの径方向における前記第1仕切部材の中央部よりも前記径方向の外方において前記軸方向の一方側に開口するとともに前記軸方向の他方側に開口するように前記第1仕切部材を貫通しかつ前記ガス発生剤が燃焼することによって発生した前記ガスが通過するように設けられる第1貫通孔を複数有し、前記フィルタは、前記第1貫通孔を通過した前記ガスが前記フィルタを通過するように設けられ、前記ハウジングは、前記フィルタを通過した前記ガスを前記ハウジングの外部に噴出するガス噴出口を有することを特徴とする。
【0008】
(2) 上記(1)のガス発生器においては、前記第1貫通孔は、前記第1仕切部材を前記軸方向に貫通し、前記軸方向において前記フィルタと重なることが好ましい。
【0009】
(3) 上記(1)のガス発生器においては、前記第1仕切部材は、前記第1仕切部材の前記中央部よりも前記径方向の外方かつ前記第1貫通孔よりも前記径方向の内方において前記軸方向の一方側に開口するとともに前記軸方向の他方側に開口するように前記第1仕切部材を貫通し、かつ前記ガス発生剤が燃焼することによって発生した前記ガスが通過するように設けられる第2貫通孔を複数有し、前記第2貫通孔は、前記軸方向から見たとき、前記第1貫通孔よりも小さいことが好ましい。
【0010】
(4) 上記(1)のガス発生器においては、前記第1貫通孔における前記軸方向の一方側の開口部の少なくとも一部は、前記径方向において、前記フィルタの内周部よりも外方に位置し、前記第1貫通孔における前記軸方向の他方側の開口部は、前記径方向において、前記内周部よりも内方に位置することが好ましい。
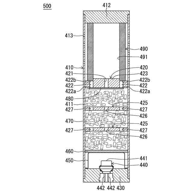
(【0011】以降は省略されています)
この特許をJ-PlatPat(特許庁公式サイト)で参照する
関連特許
日本化薬株式会社
インク
19日前
日本化薬株式会社
ガス発生器
今日
日本化薬株式会社
ガス発生器
1か月前
日本化薬株式会社
ガス発生器
1か月前
日本化薬株式会社
ガス発生器
20日前
日本化薬株式会社
前処理組成物
1か月前
日本化薬株式会社
インクセット
19日前
日本化薬株式会社
防護システム
1か月前
日本化薬株式会社
ガス発生剤組成物
19日前
日本化薬株式会社
インク組成物及び捺染方法
1か月前
日本化薬株式会社
ガス発生器およびその製造方法
1か月前
日本化薬株式会社
プリテンショナー用ガス発生装置
1か月前
日本化薬株式会社
直鎖ブテン製造用触媒及びその使用
27日前
日本化薬株式会社
アクチュエータ、安全装置、および、飛行体
1か月前
日本化薬株式会社
メタクロレイン及び/又はメタクリル酸の製造用触媒
1か月前
日本化薬株式会社
アントラキノン化合物を含有する液晶組成物及び調光素子
1か月前
富士フィルター工業株式会社
フィルタ、及びガス発生器
19日前
日本化薬株式会社
画像表示システム及びヘッドアップディスプレイシステム
1か月前
日本化薬株式会社
ガス発生器
1か月前
日本化薬株式会社
インクジェット捺染用白色顔料インク組成物、及びインクセット
1か月前
日本化薬株式会社
インクジェット用インク、インクセット、インクジェット記録方法
1か月前
日本化薬株式会社
液晶滴下工法用液晶シール剤の製造方法、及び液晶表示パネルの製造方法
1か月前
国立大学法人北海道大学
触媒及びそれを用いた不飽和カルボン酸の製造方法
1か月前
日本化薬株式会社
アゾ化合物又はその塩、並びにそれらを含有する偏光膜、偏光板及び表示装置
1か月前
日本化薬株式会社
安全装置、および、安全装置を備えた飛行体
27日前
日本化薬株式会社
縮合多環芳香族化合物、有機半導体材料、光電変換素子用材料、有機薄膜、及び有機光電変換素子
1か月前
個人
タイヤレバー
3か月前
個人
前輪キャスター
3か月前
個人
上部一体型自動車
1か月前
個人
ルーフ付きトライク
3か月前
個人
タイヤ脱落防止構造
3か月前
個人
空間形成装置
27日前
個人
マスタシリンダ
2か月前
日本精機株式会社
表示装置
3か月前
日本精機株式会社
表示装置
3か月前
日本精機株式会社
照明装置
22日前
続きを見る
他の特許を見る