TOP
|
特許
|
意匠
|
商標
特許ウォッチ
Twitter
他の特許を見る
10個以上の画像は省略されています。
公開番号
2025142850
公報種別
公開特許公報(A)
公開日
2025-10-01
出願番号
2024042435
出願日
2024-03-18
発明の名称
ガス発生器およびその製造方法
出願人
日本化薬株式会社
代理人
弁理士法人深見特許事務所
主分類
B60R
21/264 20060101AFI20250924BHJP(車両一般)
要約
【課題】仕切り部材とハウジングとを溶接する溶接部におけるシール性の向上が図られたガス発生器を提供する。
【解決手段】ガス発生器は1A、周壁部10を有するハウジングと、仕切り部材50と、点火器とを備える。仕切り部材50は、周壁部10に内挿されることでハウジングの内部の空間を周壁部10の軸方向に仕切り、周壁部10の内周面に沿って延在する環状壁部51と、環状壁部51の軸方向の一端を閉塞する隔壁部52とを有する。環状壁部51は、周壁部10の内周面に当接した当接部51aと、周壁部10の内周面から離間して位置することで周壁部10の内周面との間に間隙Gが設けられた離間部51bとを含む。環状壁部51と周壁部10とを溶接する溶接部90が、環状壁部51のうちの離間部51bを含む部分に設けられることにより、溶接部90のうちの少なくとも一部は、間隙Gに面する。
【選択図】図4
特許請求の範囲
【請求項1】
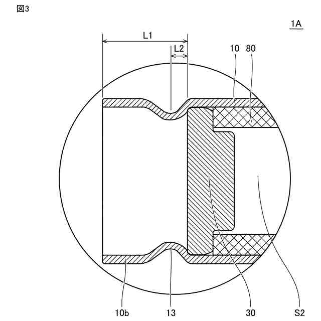
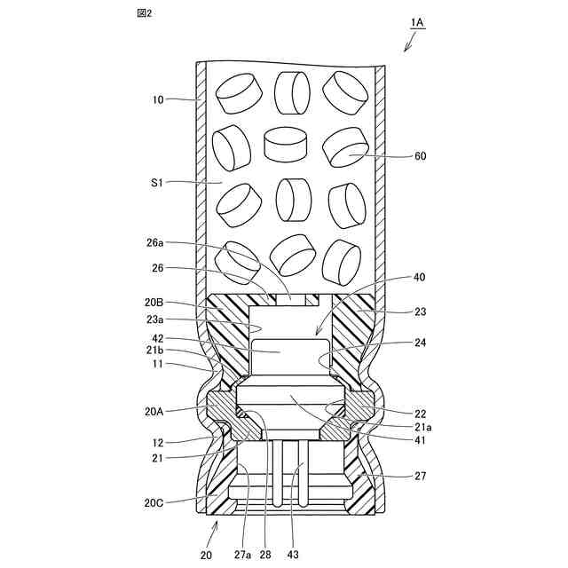
軸方向の一端部および他端部が閉塞された筒状の周壁部を有し、ガス発生剤が収容されたガス発生剤収容室およびフィルタが配置されたフィルタ室を内部に含むハウジングと、
前記ガス発生剤収容室が前記一端部側に位置するとともに前記フィルタ室が前記他端部側に位置するように、前記周壁部に内挿されることで前記ハウジングの内部の空間を前記周壁部の軸方向に仕切る仕切り部材と、
前記周壁部の前記一端部に組付けられた点火器とを備え、
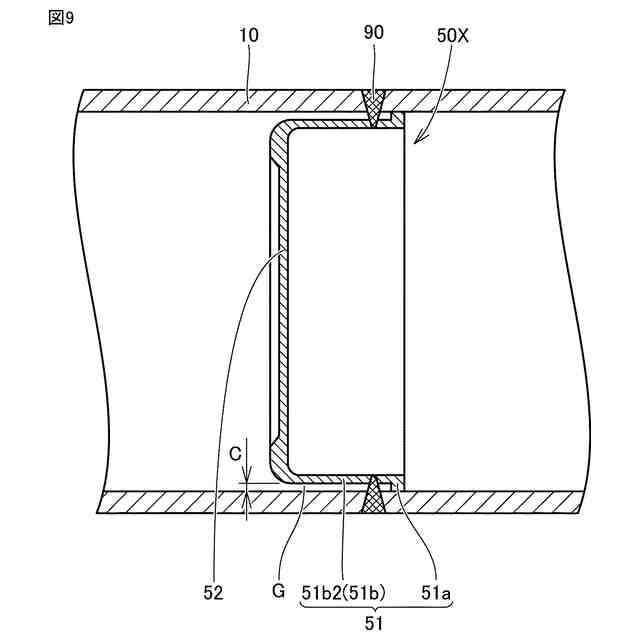
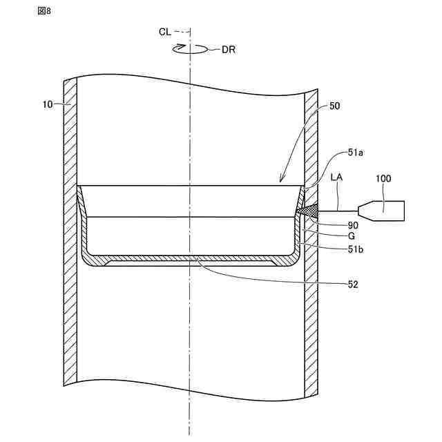
前記仕切り部材は、前記周壁部の内周面に沿って延在する環状壁部と、前記環状壁部の軸方向の一端を閉塞する隔壁部とを有し、
前記仕切り部材は、前記環状壁部と前記周壁部とが溶接されることで前記ハウジングに固定され、
前記環状壁部は、前記周壁部の前記内周面に当接した当接部と、前記周壁部の前記内周面から離間して位置することで前記周壁部の前記内周面との間に間隙が設けられた離間部とを含み、
前記環状壁部と前記周壁部とを溶接する溶接部が、前記環状壁部のうちの前記離間部を含む部分に設けられることにより、前記溶接部のうちの少なくとも一部が、前記間隙に面している、ガス発生器。
続きを表示(約 940 文字)
【請求項2】
前記当接部と前記離間部とが、前記軸方向において隣り合うように位置している、請求項1に記載のガス発生器。
【請求項3】
前記離間部が、前記一端部側から前記他端部側に向かうにつれて前記周壁部の前記内周面から遠ざかるように傾斜する傾斜部分と、当該傾斜部分の前記他端部側に位置する端部から連続し、前記周壁部の前記内周面と略平行な方向に沿って延在する部分とを含み、
前記当接部が、前記傾斜部分の前記一端部側に位置する端部に連続して設けられている、請求項2に記載のガス発生器。
【請求項4】
前記当接部が、第1当接部と、当該第1当接部よりも前記軸方向において前記他端部側に位置する第2当接部とを含み、
前記離間部が、前記軸方向において前記第1当接部と前記第2当接部とに挟まれるように位置している、請求項2に記載のガス発生器。
【請求項5】
前記当接部と前記離間部とが、前記周壁部の周方向において隣り合うように位置している、請求項1に記載のガス発生器。
【請求項6】
前記間隙が、前記ガス発生剤収容室または前記フィルタ室に連通している、請求項1から5のいずれか1項に記載のガス発生器。
【請求項7】
環状壁部および当該環状壁部の軸方向の一端を閉塞する隔壁部を有する仕切り部材を、ハウジングの筒状の周壁部に内挿する工程と、
前記仕切り部材を前記ハウジングに固定するために、前記仕切り部材が前記周壁部に内挿された状態において前記環状壁部を前記周壁部に溶接する工程とを備え、
前記仕切り部材が前記周壁部に内挿された状態において、前記環状壁部は、前記周壁部の内周面に当接することとなる当接部と、前記周壁部の前記内周面から離間して位置することで前記周壁部の前記内周面との間に間隙が設けられることとなる離間部とを含み、
前記環状壁部を前記周壁部に溶接する工程において、前記環状壁部と前記周壁部とを溶接する溶接部のうちの少なくとも一部が前記間隙に面することとなるように、前記溶接部が、前記環状壁部のうちの前記離間部を含む部分に設けられる、ガス発生器の製造方法。
発明の詳細な説明
【技術分野】
【0001】
本発明は、自動車等に装備される乗員保護装置としてのエアバッグ装置に組み込まれるガス発生器およびその製造方法に関し、特に、サイドエアバッグ装置等に好適に組み込まれる外形が長尺円柱状のいわゆるシリンダ型ガス発生器およびその製造方法に関する。
続きを表示(約 1,200 文字)
【背景技術】
【0002】
従来、自動車等の乗員の保護の観点から、乗員保護装置であるエアバッグ装置が普及している。エアバッグ装置は、車両等衝突時に生じる衝撃から乗員を保護する目的で装備されるものであり、車両等衝突時に瞬時にエアバッグを膨張および展開させることにより、エアバッグがクッションとなって乗員の体を受け止めるものである。
【0003】
ガス発生器は、このエアバッグ装置に組み込まれ、車両等衝突時にコントロールユニットからの通電によって点火器を着火し、点火器において生じる火炎によりガス発生剤を燃焼させて多量のガスを瞬時に発生させ、これによりエアバッグを膨張および展開させる機器である。
【0004】
ガス発生器には、車両等に対する設置位置や出力等の仕様に基づき、種々の構成のものが存在している。その一つに、シリンダ型ガス発生器と称されるものがある。シリンダ型ガス発生器は、その外形が長尺円柱状であり、サイドエアバッグ装置やカーテンエアバッグ装置、ニーエアバッグ装置、シートクッションエアバッグ装置等に好適に組み込まれる。
【0005】
通常、シリンダ型ガス発生器においては、ハウジングの軸方向の一端部に点火器が組付けられるとともに当該一端部側にガス発生剤が収容されたガス発生剤収容室が設けられ、ハウジングの軸方向の他端部側にフィルタが収容されたフィルタ室が設けられ、当該フィルタ室を規定する部分のハウジングの周壁部にガス噴出口が設けられる。
【0006】
このように構成されたシリンダ型ガス発生器においては、ガス発生剤収容室にて発生したガスがハウジングの軸方向に沿ってフィルタ室に流入することでフィルタの内部を通過し、フィルタを通過した後のガスがガス噴出口を介して外部に噴出される。
【0007】
シリンダ型ガス発生器においては、ハウジングの内部の空間を軸方向においてガス発生剤収容室とフィルタ室とに仕切るための仕切り部材が、ハウジングの内部の空間に設置されることがある。
【0008】
仕切り部材は、たとえば、ハウジングの内周面に沿って延在する環状壁部と、環状壁部の軸方向の一端を閉塞する隔壁部とを有する。このように構成された仕切り部材は、環状壁部とハウジングとが溶接されることでハウジングに固定される。
【0009】
このような仕切り部材を具備したシリンダ型ガス発生器が開示された文献としては、たとえば特開2022-144932号公報(特許文献1)がある。
【先行技術文献】
【特許文献】
【0010】
特開2022-144932号公報
【発明の概要】
【発明が解決しようとする課題】
(【0011】以降は省略されています)
この特許をJ-PlatPat(特許庁公式サイト)で参照する
関連特許
日本化薬株式会社
インク
9日前
日本化薬株式会社
ガス発生器
2か月前
日本化薬株式会社
ガス発生器
24日前
日本化薬株式会社
ガス発生器
18日前
日本化薬株式会社
電流遮断装置
1か月前
日本化薬株式会社
防護システム
6日前
日本化薬株式会社
インク組成物
9日前
日本化薬株式会社
メタノール改質触媒
17日前
日本化薬株式会社
ガス発生器及びエアバッグ装置
26日前
日本化薬株式会社
ガス発生器およびその製造方法
4日前
日本化薬株式会社
プリテンショナー用ガス発生装置
2日前
日本化薬株式会社
ガス発生器およびガス発生器の製造方法
1か月前
日本化薬株式会社
インクジェットインク印刷物の製造方法。
9日前
日本化薬株式会社
安全装置、および、安全装置を備えた飛行体
1か月前
日本化薬株式会社
インクジェット記録装置用水系顔料インクセット
17日前
日本化薬株式会社
アントラキノン化合物を含有する液晶組成物及び調光素子
25日前
日本化薬株式会社
アントラキノン化合物を含有する液晶組成物及び調光素子
25日前
日本化薬株式会社
アントラキノン化合物を含有する液晶組成物及び調光素子
10日前
日本化薬株式会社
アントラキノン化合物を含有する液晶組成物及び調光素子
25日前
日本化薬株式会社
アントラキノン化合物を含有する液晶組成物及び調光素子
10日前
日本化薬株式会社
アントラキノン化合物を含有する液晶組成物及び調光素子
25日前
日本化薬株式会社
ガス発生器
6日前
日本化薬株式会社
硬化性高分子化合物、該化合物を含む樹脂組成物、及び硬化物
26日前
日本化薬株式会社
アントラキノン化合物、該化合物を含む液晶組成物及び調光素子
2か月前
日本化薬株式会社
光拡散フィルム用紫外線硬化型樹脂組成物および光拡散フィルム
1か月前
日本化薬株式会社
光拡散フィルム用紫外線硬化型樹脂組成物および光拡散フィルム
1か月前
日本化薬株式会社
アントラキノン化合物、該化合物を含む液晶組成物及び調光素子
2か月前
日本化薬株式会社
ニロチニブ錠剤
1か月前
日本化薬株式会社
水系インク組成物、水系インクセット及びインクジェット記録方法
16日前
日本化薬株式会社
インクジェット用インク、インクセット、インクジェット記録方法
1か月前
日本化薬株式会社
化合物、硬化性樹脂組成物およびその硬化物ならびに化合物の製造方法
1か月前
日本化薬株式会社
アントラキノン化合物、該化合物を含有する液晶組成物、及び調光素子
1か月前
日本化薬株式会社
トリアジン構造を有する化合物、該化合物を含有する組成物、及び半導体素子。
25日前
日本化薬株式会社
エポキシ樹脂、硬化性樹脂組成物、およびこれらの硬化物、ならびにフェノール樹脂
26日前
日本化薬株式会社
エポキシ樹脂、硬化性樹脂組成物、およびその硬化物
1か月前
日本化薬株式会社
脂肪族ポリエステル樹脂着色物の製造方法、脂肪族ポリエステル樹脂用着色組成物および脂肪族ポリエステル樹脂着色物
2か月前
続きを見る
他の特許を見る