TOP
|
特許
|
意匠
|
商標
特許ウォッチ
Twitter
他の特許を見る
10個以上の画像は省略されています。
公開番号
2025130976
公報種別
公開特許公報(A)
公開日
2025-09-09
出願番号
2024028404
出願日
2024-02-28
発明の名称
ガス発生器及びエアバッグ装置
出願人
日本化薬株式会社
代理人
個人
,
個人
主分類
B60R
21/264 20060101AFI20250902BHJP(車両一般)
要約
【課題】エアバッグ装置のガス発生器から噴出されるガスの温度を下げる。
【解決手段】
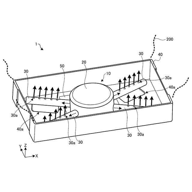
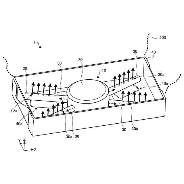
エアバッグを膨張展開させるガスを発生するガス発生器を、筒形状を有し、内部で発生させたガスを、筒形状の周壁部に設けられた排出口から排出する本体部と、管形状を有し、管形状内部を排出口を介して本体部の内部と連通させて本体部に対して所定位置に固定され、排出口から排出されたガスを管形状内部に受けて、排出口から離間した位置に設けられた噴出口から噴出する管部とによって構成する。
【選択図】図1
特許請求の範囲
【請求項1】
エアバッグを膨張展開させるガスを発生するガス発生器であって、
筒形状を有し、内部で発生させたガスを、前記筒形状の周壁部に設けられた排出口から排出する本体部と、
管形状を有し、前記管形状内部を前記排出口を介して前記本体部の内部と連通させて前記本体部に対して所定位置に固定され、前記排出口から排出された前記ガスを前記管形状内部に受けて、前記排出口から離間した位置に設けられた噴出口から噴出する管部と
を備えることを特徴とするガス発生器。
続きを表示(約 950 文字)
【請求項2】
前記管部に形成された前記噴出口の面積は、前記本体部に形成された前記排出口の面積よりも小さいことを特徴とする請求項1に記載のガス発生器。
【請求項3】
前記管部は、前記排出口からのガスの排出方向を前記管形状の軸方向とする位置関係で、前記排出口に対応して固定されることを特徴とする請求項1に記載のガス発生器。
【請求項4】
折り畳まれたエアバッグを膨張展開させるエアバッグ装置であって、
エアバッグと、
前記エアバッグを膨張展開させるガスを発生する請求項1~3のいずれか1項に記載のガス発生器と、
前記ガス発生器及び折り畳まれた前記エアバッグを収納するエアバッグケースと
を備えることを特徴とするエアバッグ装置。
【請求項5】
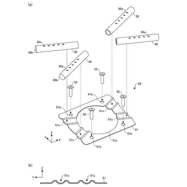
前記ガス発生器の前記本体部と前記管部とを所定の位置関係で保持するリテーナ
をさらに備えることを特徴とする請求項4に記載のエアバッグ装置。
【請求項6】
前記エアバッグには、前記ガス発生器の前記管部を前記リテーナに固定した後に前記管部及び前記リテーナの前記エアバッグ内への挿入を可能とする開口部が形成され、
前記開口部は、前記ガス発生器の前記本体部に合わせて形成された形状の一部を、前記管部が固定された前記リテーナを挿入可能に拡大するスリット部を含む形状を有する
ことを特徴とする請求項5に記載のエアバッグ装置。
【請求項7】
前記ガス発生器の前記管部が所定位置に固定され、前記管部と共に前記エアバッグの開口部から前記エアバッグ内に挿入されて、前記エアバッグと共に前記エアバッグケース内に収められた前記リテーナと、
前記エアバッグケースの外側から、前記エアバッグケースに形成された開口部を介して、前記本体部の一部が前記エアバッグ内に挿入された前記ガス発生器とが、
前記エアバッグ内で、前記リテーナに固定された前記管部の内部を、前記本体部に設けられた前記排出口を介して前記本体部の内部と連通させて、前記エアバッグケースの所定位置に固定されている
ことを特徴とする請求項5に記載のエアバッグ装置。
発明の詳細な説明
【技術分野】
【0001】
本開示は、エアバッグを膨張展開させるためのガスを発生するガス発生器、及びガス発生器を備えるエアバッグ装置に関する。
続きを表示(約 1,900 文字)
【背景技術】
【0002】
従来、自動車等の車両の衝突時に、車両の乗員を保護するエアバッグ装置が利用されている。エアバッグ装置は、車両の衝突を検知してエアバッグを膨張展開させる。展開したエアバッグが、衝突の衝撃を受けて移動する乗員を受け止めることによって、乗員が保護される。
【0003】
例えば、特許文献1には、ガス発生剤を燃焼させて発生したガスを噴出し、エアバッグを膨張展開させるガス発生器が開示されている。円筒形状を有するガス発生器のハウジング周壁部には、周方向に複数のガス噴出口が設けられている。車両の衝突が検知されると、ハウジング内部に設けられた点火器が作動して点火薬に点火する。点火薬の燃焼に伴って、伝火薬が着火して燃焼し、熱粒子が発生する。熱粒子によって、ハウジング内部に充填されたガス発生剤が着火すると、ガス発生剤が燃焼して大量のガスが発生する。発生したガスは、ハウジングの周壁部内側に設けられたフィルタを介して、ガス噴出口からハウジングの外側に噴出する。金属材料から成るフィルタは、噴出するガスから残渣(スラグ)を除去するために設けられている。フィルタによってガスを冷却する効果も期待できる。
【0004】
特許文献2にも、周壁部に設けた噴出口からガスを噴出するガス発生器が開示されている。このガス発生器は、ガス拡散用の空間として設けられたチャンバ内にガスを噴出する。チャンバには、ガスを通すための導管が接続されている。チャンバ内のガスは、導管を通り、導管に形成された複数のノズルから噴出されてエアバッグを膨張展開させる。エアバッグが固定されるハウジングには、バルブによって開閉される吸引口が設けられている。ガス発生器の作動時にバルブが開き、吸引口からエアバッグ内へ空気が取り込まれる。エアバッグに取り込んだ空気及び膨張ガスが吸引口から出ないように、エアバッグの膨張中はバルブが閉じるようになっている。
【先行技術文献】
【特許文献】
【0005】
特開2017-185907号公報
米国特許第10124759号公報
【発明の概要】
【発明が解決しようとする課題】
【0006】
上述したガス発生器は、パイロと呼ばれるガス発生剤を燃焼させ、発生したガスでエアバッグを膨らませるパイロ式のガス発生器(インフレータ)として知られている。燃焼によって生じたガスを噴出するパイロ式のガス発生器には、噴出後のガス温度を下げる冷却機能の向上が求められる。
【0007】
例えば、特許文献2にあるように、小径ノズルからガスを噴出してガスの噴出速度を上げることで、噴出後のガス温度を下げる冷却効果が期待できるが、ガス発生器で発生したガスを一旦チャンバに溜めてから、導管へ送って噴出する構造では、ガスのエネルギーを十分に活用できない。
【0008】
本開示は、上記従来技術に鑑みてなされたもので、その目的の1つは、ガスを高速に噴出することができるガス発生器、及びそのガスの流体エネルギーによってエアバッグ内に空気を取り込むエアバッグ装置を提供することにある。
【課題を解決するための手段】
【0009】
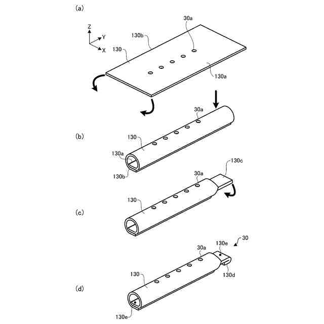
本開示に係るガス発生器は、エアバッグを膨張展開させるガスを発生するガス発生器であって、筒形状を有し、内部で発生させたガスを、前記筒形状の周壁部に設けられた排出口から排出する本体部と、管形状を有し、前記管形状内部を前記排出口を介して前記本体部の内部と連通させて前記本体部に対して所定位置に固定され、前記排出口から排出された前記ガスを前記管形状内部に受けて、前記排出口から離間した位置に設けられた噴出口から噴出する管部とを備える。上記構成において、前記本体部は前記周壁部上で離間した複数の位置それぞれに前記排出口を有し、前記複数の位置それぞれに前記管部が設けられていてもよい。前記本体部は、前記排出口から第1方向に前記ガスを排出し、前記管部は、前記噴出口から、前記第1方向とは異なる第2方向に前記ガスを噴出してもよい。前記管部は、管壁部上で離間した複数の位置それぞれに前記噴出口を有していてもよい。前記管部は、前記管形状の軸方向一端側で前記排出口を介して前記本体部の内部と連通し、他端側は閉塞されていてもよい。
【0010】
上記構成において、前記管部に形成された前記噴出口の面積は、前記本体部に形成された前記排出口の面積より小さくてもよい。前記管部に設けられた複数の前記噴出口の面積の合計が、前記排出口の面積以下であってもよい。
(【0011】以降は省略されています)
この特許をJ-PlatPat(特許庁公式サイト)で参照する
関連特許
日本化薬株式会社
インク
22日前
日本化薬株式会社
ガス発生器
3日前
日本化薬株式会社
ガス発生器
23日前
日本化薬株式会社
ガス発生器
1か月前
日本化薬株式会社
ガス発生器
1か月前
日本化薬株式会社
前処理組成物
1か月前
日本化薬株式会社
インクセット
22日前
日本化薬株式会社
ガス発生剤組成物
22日前
日本化薬株式会社
インク組成物及び捺染方法
1か月前
日本化薬株式会社
直鎖ブテン製造用触媒及びその使用
1か月前
日本化薬株式会社
アクチュエータ、安全装置、および、飛行体
1か月前
日本化薬株式会社
メタクロレイン及び/又はメタクリル酸の製造用触媒
1か月前
富士フィルター工業株式会社
フィルタ、及びガス発生器
22日前
日本化薬株式会社
アントラキノン化合物を含有する液晶組成物及び調光素子
1か月前
日本化薬株式会社
画像表示システム及びヘッドアップディスプレイシステム
1か月前
日本化薬株式会社
インクジェット捺染用白色顔料インク組成物、及びインクセット
1か月前
日本化薬株式会社
インクジェット用インク、インクセット、インクジェット記録方法
1か月前
日本化薬株式会社
液晶滴下工法用液晶シール剤の製造方法、及び液晶表示パネルの製造方法
1か月前
日本化薬株式会社
アゾ化合物又はその塩、並びにそれらを含有する偏光膜、偏光板及び表示装置
1か月前
国立大学法人北海道大学
触媒及びそれを用いた不飽和カルボン酸の製造方法
1か月前
日本化薬株式会社
安全装置、および、安全装置を備えた飛行体
1か月前
日本化薬株式会社
縮合多環芳香族化合物、有機半導体材料、光電変換素子用材料、有機薄膜、及び有機光電変換素子
1か月前
個人
タイヤレバー
4か月前
個人
前輪キャスター
3か月前
個人
上部一体型自動車
1か月前
個人
空間形成装置
1か月前
個人
タイヤ脱落防止構造
3か月前
個人
ルーフ付きトライク
3か月前
個人
マスタシリンダ
2か月前
日本精機株式会社
表示装置
3か月前
日本精機株式会社
表示装置
4か月前
日本精機株式会社
表示装置
4か月前
日本精機株式会社
表示装置
4か月前
個人
車両通過構造物
4か月前
日本精機株式会社
照明装置
25日前
個人
乗合路線バスの客室装置
4か月前
続きを見る
他の特許を見る