TOP
|
特許
|
意匠
|
商標
特許ウォッチ
Twitter
他の特許を見る
公開番号
2025128522
公報種別
公開特許公報(A)
公開日
2025-09-03
出願番号
2024025226
出願日
2024-02-22
発明の名称
自動車の非常ブレーキアシスト
出願人
個人
代理人
主分類
B60T
7/12 20060101AFI20250827BHJP(車両一般)
要約
【課題】従来は、特にオートマチック車で、Dドライブにモードになっていると思いアクセルを踏むとRになっており、駐車場の壁を破り落下した等の事故が多発している。
又は、コンビニに駐車して、Rになっていると勘違いし、Dになっていて店に突入した等の事故も多発している。
【解決手段】上述の問題を解決する為、自動車のダッシュボード、ハンドル付近に非常用ブレーキスイッチを取付、前方後方にセンサーを取付、センサー感知により
誤発進誤後退時にブレーキが掛かり未然に事故を防き安全に停止する。
【選択図】 図3
特許請求の範囲
【請求項1】
自動車のハンドル付近にスイッチを取付、前方及び後方にセンサーを取付により、障害物及び歩行者を検知して非常用ブレーキ作動し、自動車が安全に停止する構造。
運転者が正常な運転操作ができなくなった場合にスイッチを押せば、電磁ソレノイドにより非常用ブレーキが作動し自動車が安全に停止する構造。
発明の詳細な説明
【技術分野】
【0001】
本発明は、自動車のダッシュボード、ハンドル付近にスイッチを取付、前方後方にセンサーを取付、センサー感知により、障害物及び歩行者を検知して非常用ブレーキ作動し、自動車が安全に停止する構造。
運転者が正常な運転操作ができなくなった場合にスイッチを押せば、電磁ソレノイドにより非常用ブレーキが作動し自動車が安全に停止する構造。
続きを表示(約 1,400 文字)
【背景技術】
【0002】
従来は、特にオートマチック車で、Dドライブにモードになっていると思いアクセルを踏むとRになっており、駐車場の壁を破り落下した等の事故が多発している。
又は、コンビニに駐車して、Rになっていると勘違いし、Dになっていて店に突入した等の事故も多発している。
【先行技術文献】
【特許文献】
【0003】
特開第2023-181946号公報
【発明の概要】
【発明が解決しようとする課題】
【0004】
上記の文献によりますと、アクセルとブレーキを踏み間違えにより自動車の暴走による事故を解決する為に考案されている様ですが、運転者が意図しないでアクセルを強く踏んでいるので、この構造では、解決出来ないと思われます。
【0005】
本発明は、運転者の高齢化が進み、特にオートマチック車によるモードの見間違いによる痛ましい事故が多発している。自動車メーカーさんは、新車では開発している様ですが、従来車の対策は見受けられない。痛ましい事故のニユースを見るたびに
一日も早く本発明を実施し、事故の減少に寄与したいと思います。
【課題を解決するための手段】
【0006】
課題を解決するため手段を実施例にもとづき図面を参照して説明する。
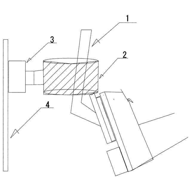
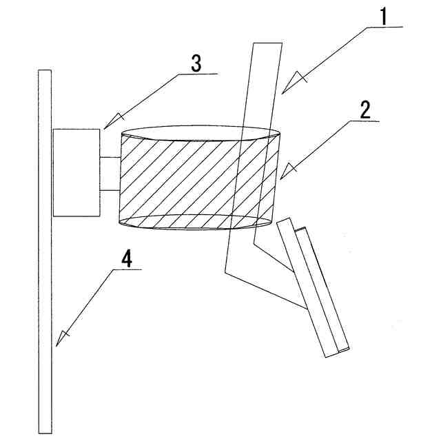
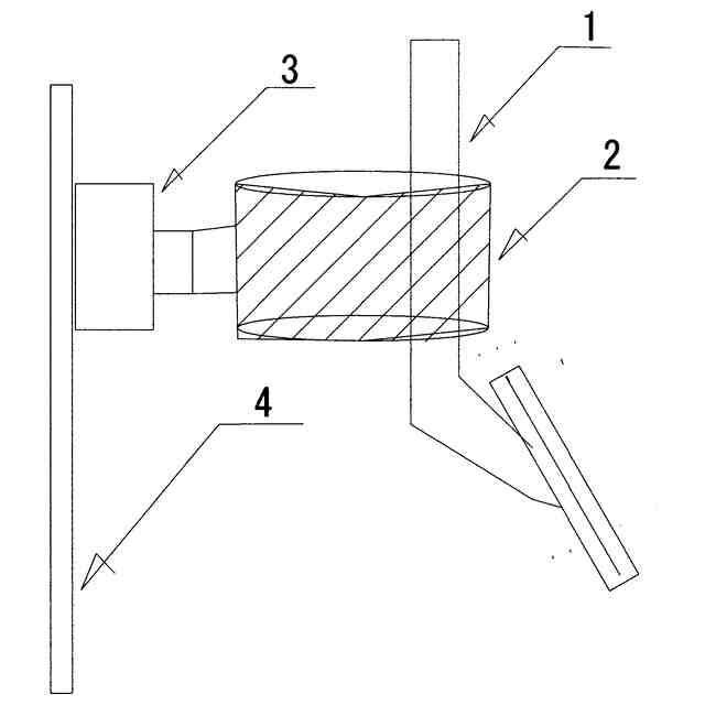
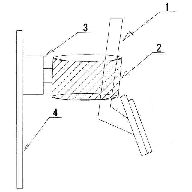
図1、1ブレーキペダルに2リング状引き帯を取付、4ボディーに取付取り付けた3電磁ソレノイドに連結する。通常は、図2の様になり、1ブレーキペダル操作は、
2リング状引き帯になっているので、ブレーキ操作は、妨げない。非常時は、6非常用ブレーキスイッチがONになり、電磁ソレノイドが作動しブレーキが掛かり安全に停止する。又は、7センサー感知により、電磁ソレノイドが作動し安全に停止します。
【発明の効果】
【0007】
上述の如く、自動車のダッシュボード、ハンドル付近に非常用ブレーキスイッチを取付、前方後方にセンサーを取付、センサー感知により誤発進誤後退時にブレーキが掛かり未然に事故を防ぐ構造。
【図面の簡単な説明】
【0008】
ブレーキペダルにリング状引き帯を取付、ボディーに取付した電磁ソレノイドと結合した図です。
ブレーキペダルを踏み込み時の図です。
電磁ソレノイドが作動し、ブレーキが掛かった時の図です。
ハンドル付近に非常用ブレーキスイッチを取付した図です。
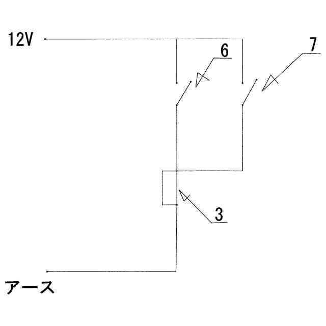
配線図です。
【発明を実施するための形態】
【0009】
ブレーキペダルに、リング状引き帯を取付、ボディーに取付取り付けた電磁ソレノイド
を連結する。通常ブレーキペダル操作は、リング状引き帯になっているので、ブレーキ操作は、妨げない。非常時は、非常用ブレーキスイッチがONになり、電磁ソレノイドが作動しブレーキが掛かり安全に停止する。又は、センサー感知により、電磁ソレノイドが作動し安全に停止します。
【符号の説明】
【0010】
1 ブレーキペダル
2 リング状引き帯
3 電磁ソレノイド
4 ボディー
5 ハンドル
6 非常用ブレーキスイッチ
7 センサー感知スイッチ
この特許をJ-PlatPat(特許庁公式サイト)で参照する
関連特許
個人
前輪キャスター
3か月前
個人
上部一体型自動車
1か月前
個人
ルーフ付きトライク
3か月前
個人
タイヤ脱落防止構造
3か月前
個人
空間形成装置
29日前
日本精機株式会社
表示装置
3か月前
日本精機株式会社
照明装置
24日前
個人
マスタシリンダ
2か月前
個人
常設収納型サンバイザー
1か月前
日本精機株式会社
車載表示装置
1か月前
日本精機株式会社
車載表示装置
1か月前
個人
回転窓ワイパー装置
29日前
日本精機株式会社
車載表示装置
1か月前
日本精機株式会社
画像投映装置
1か月前
株式会社ニフコ
照明装置
3か月前
日本精機株式会社
車載表示装置
2か月前
株式会社ニフコ
収納装置
2か月前
株式会社豊田自動織機
産業車両
3か月前
日本精機株式会社
車室演出装置
3か月前
株式会社豊田自動織機
産業車両
24日前
日本精機株式会社
車両用投射装置
1か月前
日本精機株式会社
車両用報知装置
1か月前
個人
音による速度計とプログラム
1か月前
日本精機株式会社
車両用表示装置
3か月前
日本精機株式会社
車両用投影装置
2か月前
株式会社SUBARU
車両
1か月前
日本精機株式会社
車両用表示装置
1か月前
井関農機株式会社
作業車両
2か月前
エムケー精工株式会社
車両処理装置
2か月前
帝人株式会社
衝撃吸収構造体
2か月前
ダイハツ工業株式会社
変速機
3か月前
スズキ株式会社
運転支援装置
3か月前
ダイハツ工業株式会社
変速機
3か月前
ダイハツ工業株式会社
変速機
3か月前
ダイハツ工業株式会社
変速機
3か月前
日本化薬株式会社
ガス発生器
1か月前
続きを見る
他の特許を見る