TOP
|
特許
|
意匠
|
商標
特許ウォッチ
Twitter
他の特許を見る
10個以上の画像は省略されています。
公開番号
2025141006
公報種別
公開特許公報(A)
公開日
2025-09-29
出願番号
2024040699
出願日
2024-03-15
発明の名称
車両処理装置
出願人
エムケー精工株式会社
代理人
主分類
B60S
3/04 20060101AFI20250919BHJP(車両一般)
要約
【課題】本発明の一目的は、洗い残しが少ない車両処理装置を提供することにある。
【解決手段】
本発明の一解決手段に係る車両処理装置(10)は、車両Cに向かって気体を噴出するブロア(50)と、車両Cに向かって洗浄液を噴出するポイントノズル装置(70)とを備えている。ポイントノズル装置(70)は、ブロア(50)に備えられる。
【選択図】図4
特許請求の範囲
【請求項1】
車両に向かって気体を噴出するブロアと、
車両に向かって洗浄液を噴出するポイントノズル装置と、を備え、
前記ポイントノズル装置は、前記ブロアに備えられる
ことを特徴とする車両処理装置。
続きを表示(約 100 文字)
【請求項2】
前記ポイントノズル装置は、
車両の高さ方向に移動する昇降装置と、
車両の幅方向に移動するスライド装置と、を備える
ことを特徴とする請求項1記載の車両処理装置。
発明の詳細な説明
【技術分野】
【0001】
本発明は車両処理装置に関する。
続きを表示(約 1,300 文字)
【背景技術】
【0002】
車両処理装置は、例えば、車両を洗浄するものである。車両処理装置には、側面ブラシが備えられている。側面ブラシは車両側面をブラッシングするものである。車両処理装置には、車両を洗浄するとき側面ブラシでドアミラーを破損しないよう対策が講じられている。例えば、特許第5839965号(以下、特許文献1という。)に記載される車両処理装置は、ドアミラーの位置まで側面ブラシが移動すると、側面ブラシの回転方向を変位させている。
【0003】
また、特許文献1の車両処理装置は、側面ブラシの毛材がドアミラーに引っ掛かったことを検出すると、側面ブラシの回転を停止し、側面ブラシをドアミラーと接触しない位置まで移動させている。このような対策を講じることで、車両処理装置がドアミラーを破損することを防いでいる。
【先行技術文献】
【特許文献】
【0004】
特許第5839965号公報
【発明の概要】
【発明が解決しようとする課題】
【0005】
車両の一部には、複雑な形状のドアミラーが取付られているものがある。複雑な形状のドアミラーはブラシの毛材が引っ掛かりやすい。特許文献1のような対策を講じる車両処理装置では、ブラシの毛材が引っ掛かったら、ブラシをドアミラーと接触しない位置まで移動させる。そのため、ドアミラー付近に汚れが残ってしまう。
【課題を解決するための手段】
【0006】
本発明の一目的は、洗い残しが少ない車両処理装置を提供することにある。
【0007】
本発明の一解決手段に係る車両処理装置は、車両に向かって気体を噴出するブロアと、車両に向かって洗浄液を噴出するポイントノズル装置とを備えている。ポイントノズル装置は、ブロアに備えられる。
【発明の効果】
【0008】
本発明の一解決手段によれば、洗い残しを少なくする車両処理装置を提供することができる。
【図面の簡単な説明】
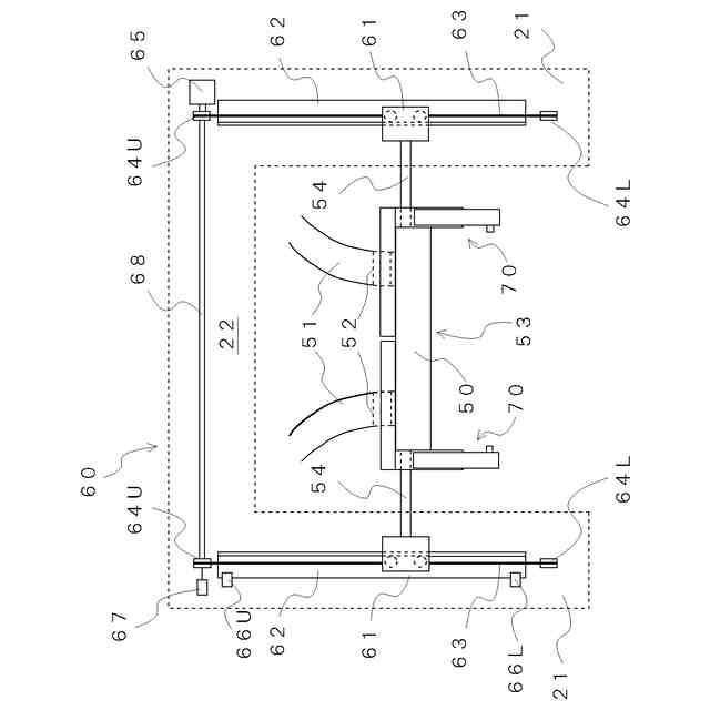
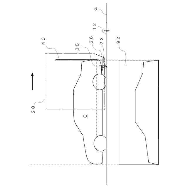
【0009】
本発明の一実施形態にかかる車両処理装置の模式的な側面図である。
図1に示す洗浄ノズルを示す図である。
トップブロアの昇降移動を説明する説明図である
ポイントノズルの模式的な正面図である。
変位した状態を示すポイントノズルの模式的な正面図である。
図1に示す車両処理装置の制御系を示すブロック図である。
車形データの作成イメージを示す説明図である。
ドアミラー位置の検出方法を示す説明図である。
距離測定部の測定方法を示す説明図である。
変位する様子を示すポイントノズル装置の説明図である。
【発明を実施するための最良の形態】
【0010】
本発明における実施形態では、必要な場合に複数のセクションなどに分けて説明するが、原則、それらは互いに無関係ではなく、一方は他方の一部または全部の変形例、詳細などの関係にある。このため、全図において、同一の機能を有する部材には同一の符号を付し、その繰り返しの説明は省略する。
(【0011】以降は省略されています)
この特許をJ-PlatPat(特許庁公式サイト)で参照する
関連特許
個人
上部一体型自動車
1か月前
個人
空間形成装置
27日前
日本精機株式会社
照明装置
22日前
個人
マスタシリンダ
2か月前
個人
常設収納型サンバイザー
1か月前
日本精機株式会社
車載表示装置
28日前
日本精機株式会社
車載表示装置
1か月前
日本精機株式会社
車載表示装置
1か月前
日本精機株式会社
画像投映装置
1か月前
個人
回転窓ワイパー装置
27日前
株式会社豊田自動織機
産業車両
22日前
日本精機株式会社
車両用報知装置
1か月前
個人
音による速度計とプログラム
1か月前
株式会社SUBARU
車両
1か月前
日本精機株式会社
車両用表示装置
1か月前
日本精機株式会社
車両用投射装置
1か月前
日本化薬株式会社
ガス発生器
20日前
日産自動車株式会社
伝動部材
1か月前
日本化薬株式会社
ガス発生器
今日
エムケー精工株式会社
車両処理装置
1か月前
日本化薬株式会社
ガス発生器
1か月前
日本化薬株式会社
ガス発生器
1か月前
株式会社小糸製作所
車両用灯具
1か月前
豊田合成株式会社
乗員保護装置
1か月前
トヨタ自動車株式会社
制御装置
1か月前
極東開発工業株式会社
タンク車
1か月前
トヨタ自動車株式会社
電動車両
1か月前
株式会社ヨコオ
車載装置
20日前
株式会社SUBARU
車体構造
2か月前
株式会社アイシン
空気袋
1か月前
日本精機株式会社
車両用投射型表示装置
1か月前
トヨタ自動車株式会社
車両
1か月前
和光工業株式会社
昇降装置
1か月前
日本精機株式会社
鞍乗型車両用表示装置
19日前
井関農機株式会社
作業車両
1か月前
株式会社SeaDog
ロールバー
2か月前
続きを見る
他の特許を見る