TOP
|
特許
|
意匠
|
商標
特許ウォッチ
Twitter
他の特許を見る
公開番号
2025137890
公報種別
公開特許公報(A)
公開日
2025-09-24
出願番号
2024036430
出願日
2024-03-10
発明の名称
車体構造
出願人
株式会社SUBARU
代理人
個人
主分類
B60J
5/04 20060101AFI20250916BHJP(車両一般)
要約
【課題】走行時の空力特性を向上させるとともに、運転者の視認範囲を拡張させる。
【解決手段】車両Vの車幅方向外側において、フロントドア部FDにおけるドアウインドガラス部DWの底辺BLよりも車両下側に開口され、車両Vの運転者Pが着座する運転席S1からの車幅方向下部外側の視認範囲を拡張する側方視認窓部100と、側方視認窓部100の車幅方向外側には、車両前後方向を板厚方向とし車両上下方向に延在する辺SHおよび車幅方向に向かって延在する辺SWを有し、車両前後方向に向かって貫通している通風開口部OPが形成されているフィン210が、相互に隙間SPを有し隣接して複数設けられているフェンダーフィン部200を備えている。
【選択図】図2
特許請求の範囲
【請求項1】
車両の車幅方向外側において、フロントドア部におけるドアウインドガラス部の底辺よりも車両下側に開口され、前記車両の運転者が着座する運転席からの車幅方向下部外側の視認範囲を拡張する側方視認窓部と、
前記側方視認窓部の車幅方向外側には、車両前後方向を板厚方向とし車両上下方向および車幅方向に向かって延在する辺を有し、車両前後方向に向かって貫通している通風開口部が形成されているフィンが相互に隙間を有し隣接して複数設けられているフェンダーフィン部を備えていることを特徴とする車体構造。
続きを表示(約 310 文字)
【請求項2】
それぞれの前記フィンに設けられている前記通風開口部の大きさおよび位置は、それぞれの前記フィンによって異なっていることを特徴とする請求項1に記載の車体構造。
【請求項3】
前記フィンの車幅方向内側から車幅方向外側に向かって延在する辺は、前記運転席における所定の位置を中心とした径方向を向いて設けられていることを特徴とする請求項1あるいは請求項2に記載の車体構造。
【請求項4】
それぞれの前記フィンにおける車幅方向外側の辺は、前記車両の側面側に形成されている外部形状に連続している包絡面上に設けられていることを特徴とする請求項1あるいは請求項2に記載の車体構造。
発明の詳細な説明
【技術分野】
【0001】
本発明は、車体構造に関する。
続きを表示(約 1,900 文字)
【背景技術】
【0002】
従来から、運転者が車両側方における歩行者あるいは低背の構造物を見落とすことによる車両との干渉が発生しないように、車両におけるドア部の車両前側およびフロントピラーアッパー部の車両下部前側には、運転者の側方視界を確保する三角窓が設けられている場合がある。さらに、ドアミラー部周辺のおける走行中の空力特性を向上させるために、例えば、三角窓の周辺には凹凸部を極力設けないような車体構造としている。
【0003】
上記に示す車体構造として、フロントフェンダーアッパーの車幅方向内方側に、上下方向に延びる上端フランジ部を形成し、その上端フランジ部を、車幅方向内方から外方に横方向に延びる締結ボルトによって、フロントピラー部分に締結固定している。そして、車体前部の側部にフロントピラーとサブウインドウ開口部を備え、ボンネット後部とフロントピラー下部の間を、側面視で下凸の円弧形状に連続的に形成するにあたり、フロントウインドウガラスの車幅方向の視認範囲を広げて、車体前方の視界を向上させる技術が開示されている(例えば、特許文献1参照)。
【先行技術文献】
【特許文献】
【0004】
特開2007-308014号公報
【発明の概要】
【発明が解決しようとする課題】
【0005】
しかしながら、特許文献1に記載の技術においては、サブウインドウ開口部における車両下側の底辺は、車両のドアウインドガラス部の底辺と同じ高さに設けられている。そのため、車両前側における視認範囲の拡張は考慮されているが、運転者が車両側方下側における低背の歩行者あるいは構造物を視認するための視認範囲の拡張に関しては考慮されていない虞があった。
【0006】
そこで、本発明は上述の課題に鑑みてなされたものであり、走行時の空力特性を向上させるとともに、運転者の視認範囲を拡張させる車体構造を提供することを目的とする。
【課題を解決するための手段】
【0007】
本発明の1またはそれ以上の実施形態は、車両の車幅方向外側において、フロントドア部におけるドアウインドガラス部の底辺よりも車両下側に開口され、前記車両の運転者が着座する運転席からの車幅方向下部外側の視認範囲を拡張する側方視認窓部と、前記側方視認窓部の車幅方向外側には、車両前後方向を板厚方向とし車両上下方向および車幅方向に向かって延在する辺を有し、車両前後方向に向かって貫通している通風開口部が形成されているフィンが、相互に隙間を有し隣接して複数設けられているフェンダーフィン部を備えている車体構造を提案している。
【発明の効果】
【0008】
本発明の1またはそれ以上の実施形態によれば、走行時の空力特性を向上させるとともに、運転者の視認範囲を拡張させることができる。
【図面の簡単な説明】
【0009】
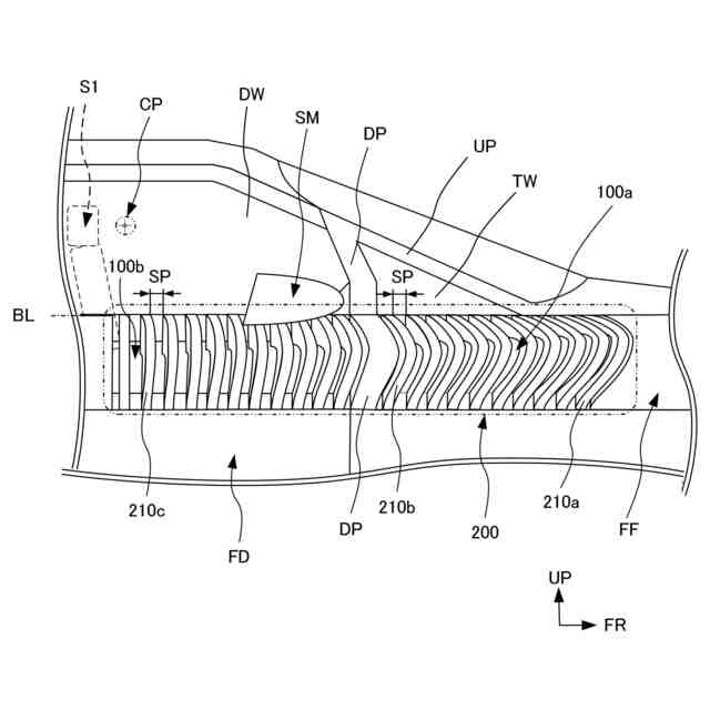
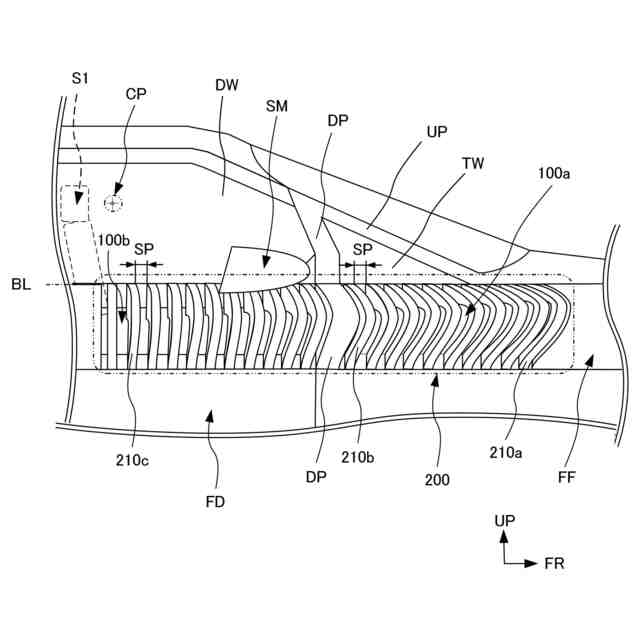
本発明の第1の実施形態に係る車体構造の構成を示す図である。
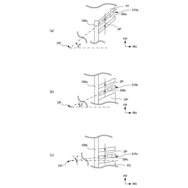
図1に示すA部を拡大し車幅方向から見た側面図である。
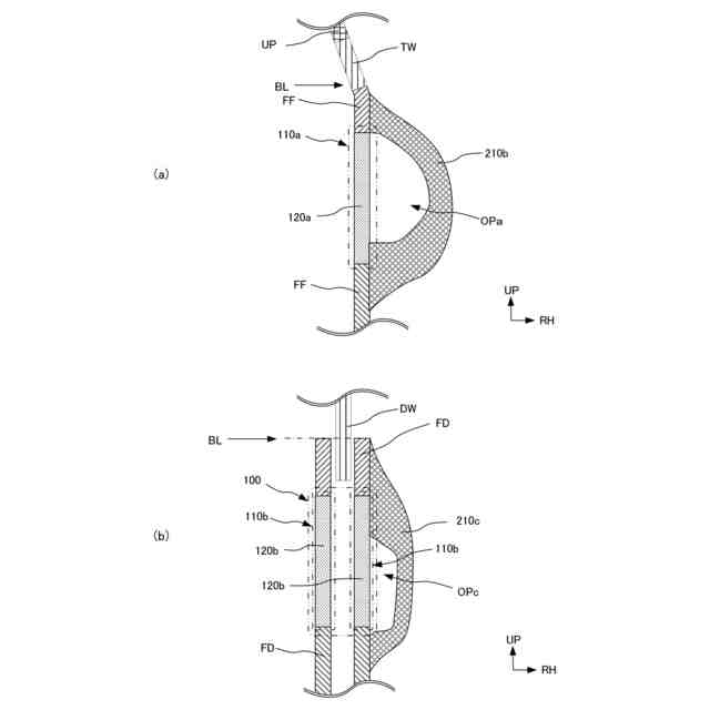
(a)は図1に示された矢印方向から見たB-B線に沿う断面図であり、(b)は図1に示された矢印方向から見たC-C線に沿う断面図である。
本発明の第1の実施形態に係る車体構造におけるフェンダーフィン部の構成を示した概要図である。
本発明の第1の実施形態に係る車体構造におけるフェンダーフィン部におけるフィンの形状を示した概要図である。
本発明の第1の実施形態に係る車体構造における運転者の視認範囲を示す車両進行方向を向いた概要図である。
本発明の第1の実施形態に係る車体構造における走行風の流れを示す車幅方向から見た側面図である。
本発明の第1の実施形態に係る車体構造におけるフロントフェンダー部からリアフェンダー部に向かう包絡面を示した概要図である。
【発明を実施するための形態】
【0010】
図1から図8を用いて、本実施形態に係る車体構造10について説明する。
本実施形態においては、車両Vには、車両進行方向を向いたときの左側に運転席S1が設けられ、車両進行方向を向いたときの車幅方向右方外側に車体構造10が設けられている場合について説明する。
なお、車体構造10は、車両進行方向を向いたときの車幅方向左方外側に設けられていてもよい。
(【0011】以降は省略されています)
特許ウォッチbot のツイートを見る
この特許をJ-PlatPat(特許庁公式サイト)で参照する
関連特許
株式会社SUBARU
車両
1か月前
株式会社SUBARU
車両
12日前
株式会社SUBARU
車両
1か月前
株式会社SUBARU
車両
12日前
株式会社SUBARU
車両
13日前
株式会社SUBARU
弁装置
5日前
株式会社SUBARU
車両前部構造
1か月前
株式会社SUBARU
車両前部構造
1か月前
株式会社SUBARU
車両前部構造
1か月前
株式会社SUBARU
車両前部構造
1か月前
株式会社SUBARU
車体前部構造
1か月前
株式会社SUBARU
車体前部構造
1か月前
株式会社SUBARU
運転支援装置
1か月前
株式会社SUBARU
操作システム
1か月前
株式会社SUBARU
整流システム
1か月前
株式会社SUBARU
車両用シート
20日前
株式会社SUBARU
車両用シート
20日前
株式会社SUBARU
車両用シート
20日前
株式会社SUBARU
操舵支援装置
13日前
株式会社SUBARU
情報処理装置
5日前
株式会社SUBARU
車体前部構造
1か月前
株式会社SUBARU
車体前部構造
1か月前
株式会社SUBARU
加湿システム
12日前
株式会社SUBARU
車両前部構造
5日前
株式会社SUBARU
車両前部構造
5日前
株式会社SUBARU
車体前部構造
1か月前
株式会社SUBARU
排気浄化装置
12日前
株式会社SUBARU
インシュレータ
5日前
株式会社SUBARU
シフト制御装置
20日前
株式会社SUBARU
エンジン制御装置
1日前
株式会社SUBARU
車両用電池パック
20日前
株式会社SUBARU
電動式全輪駆動車
1か月前
株式会社SUBARU
エンジン制御装置
1か月前
株式会社SUBARU
ドアロックシステム
12日前
株式会社SUBARU
ドアロック制御装置
1か月前
株式会社SUBARU
車両用空力制御装置
13日前
続きを見る
他の特許を見る