TOP
|
特許
|
意匠
|
商標
特許ウォッチ
Twitter
他の特許を見る
公開番号
2025177127
公報種別
公開特許公報(A)
公開日
2025-12-05
出願番号
2024083688
出願日
2024-05-22
発明の名称
車両前部構造
出願人
株式会社SUBARU
代理人
個人
主分類
B62D
21/00 20060101AFI20251128BHJP(鉄道以外の路面車両)
要約
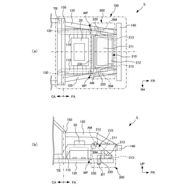
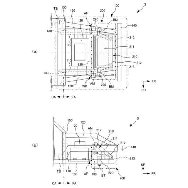
【課題】車両に衝突が発生したときに、ラジエータ部が車両装置に干渉することを防ぐ。
【解決手段】メインフレーム110の車両下側を車幅方向両側において車両前後方向に延在する一対のサブフレーム130と、サブフレーム130の車両前側に配設され、車両下側には固定部としてのラジエータユニット固定部213が設けられているラジエータユニット部210と、少なくとも車幅方向片側のサブフレーム130における車両前側部に配設され、車両前後方向に向かって延在し、車両前側においてラジエータユニット固定部213と結合され、車両後側においてサブフレーム130と摺動可能に係合されているラジエータユニット制御構造部220と、を備えている。
【選択図】図2
特許請求の範囲
【請求項1】
車幅方向両側において車両前後方向に延在するメインフレームの車両下側を車幅方向両側において車両前後方向に延在する一対のサブフレームと、
前記サブフレームの車両前側に配設され、車両下側には固定部が設けられているラジエータユニット部と、
車幅方向に延在し前記ラジエータユニット部の車両後部上側に固定されているラジエータアッパークロスメンバと、
少なくとも車幅方向片側の前記サブフレームにおける車両前側部に配設され、車両前後方向に向かって延在し、車両前側において前記固定部と結合され、車両後側において前記サブフレームと摺動可能に係合されているラジエータユニット制御構造部と、
を備えていることを特徴とする車両前部構造。
続きを表示(約 260 文字)
【請求項2】
前記サブフレームには、車両に衝突が発生したときに前記サブフレームを屈曲させる脆弱部が設けられ、
前記ラジエータユニット制御構造部は、前記脆弱部よりも車両前側において前記サブフレームに係合されていることを特徴とする請求項1に記載の車両前部構造。
【請求項3】
前記ラジエータアッパークロスメンバは、車幅方向に延在し車両前後方向に向かって回動可能とする回転軸を有し、前記ラジエータユニット部は、前記回転軸に結合されていることを特徴とする請求項1あるいは請求項2に記載の車両前部構造。
発明の詳細な説明
【技術分野】
【0001】
本発明は、車両前部構造に関する。
続きを表示(約 1,400 文字)
【背景技術】
【0002】
近年、自動車等の車両においては、ハイブリッド車あるいは電気自動車の導入が進んでいる。
【0003】
車両がハイブリッド車両や電気自動車の場合には、電動モータを駆動するために、直流電圧を交流電圧に変換するインバータ部が車両前部に搭載されている場合がある。
【0004】
インバータ部においては、車両の走行に必要な高電圧を生成させており、車両の前面衝突等によって変形や断線が発生した場合には、急激な異常反応が生じる虞もある。
そのため、電気自動車において車両前側からの衝突が発生した場合には、車両前部構造において衝撃を吸収させることによって、前輪を駆動するモータ部あるいはインバータ部等の高電圧が供給されている車両装置への影響を低減させる必要がある。
【0005】
上記に示す課題を解決する手段として、車両前部構造は、モジュールフレームに対してモータ部、インバータ部、チャージャー部、熱交換器(ラジエータ部)、ステアリングギア部、一対のロアアームが組み付けられた後、モジュールフレームをフロントサイドメンバに締結する技術が開示されている(例えば、特許文献1参照)。
【先行技術文献】
【特許文献】
【0006】
特開2019-14340号公報
【発明の概要】
【発明が解決しようとする課題】
【0007】
特許文献1に示す技術は、フレーム本体に取り付けられたモータと、モータと電気的に接続されている電気部品と、フレーム本体の枠下部に取り付けられた熱交換器(ラジエータ部)と、を備え、フレーム本体の枠内にモータと電気部品が固定され、フレーム本体の枠下部にラジエータが固定されることによって、組付け作業性が向上するとともにクラッシュストロークを増大させる技術である。
【0008】
しかしながら、特許文献1に記載の車両前部構造においては、例えば、車両が電気自動車である場合に、車両に衝突が発生したときに、ラジエータ部が車両装置としてのモータ部あるいはインバータ部等の電気部品に干渉してしまう虞があるという課題があった。
【0009】
そこで、本発明は上述の課題に鑑みてなされたものであり、車両に衝突が発生したときに、ラジエータ部が車両装置に干渉することを防ぐ車両前部構造を提供することを目的とする。
【課題を解決するための手段】
【0010】
本発明の1またはそれ以上の実施形態は、車幅方向両側において車両前後方向に延在するメインフレームの車両下側を車幅方向両側において車両前後方向に延在する一対のサブフレームと、前記サブフレームの車両前側に配設され、車両下側には固定部が設けられているラジエータユニット部と、車幅方向に延在し前記ラジエータユニット部の車両後部上側に固定されているラジエータアッパークロスメンバと、少なくとも車幅方向片側の前記サブフレームにおける車両前側部に配設され、車両前後方向に向かって延在し、車両前側において前記固定部と結合され、車両後側において前記サブフレームと摺動可能に係合されているラジエータユニット制御構造部と、を備えている車両前部構造を提案している。
【発明の効果】
(【0011】以降は省略されています)
この特許をJ-PlatPat(特許庁公式サイト)で参照する
関連特許
株式会社SUBARU
車両
10日前
株式会社SUBARU
車両
1か月前
株式会社SUBARU
車両
9日前
株式会社SUBARU
車両
9日前
株式会社SUBARU
弁装置
2日前
株式会社SUBARU
加湿システム
9日前
株式会社SUBARU
車体前部構造
1か月前
株式会社SUBARU
車体前部構造
1か月前
株式会社SUBARU
車両前部構造
1か月前
株式会社SUBARU
操作システム
1か月前
株式会社SUBARU
車両前部構造
1か月前
株式会社SUBARU
車両用シート
17日前
株式会社SUBARU
車両用シート
17日前
株式会社SUBARU
操舵支援装置
10日前
株式会社SUBARU
運転支援装置
1か月前
株式会社SUBARU
車両前部構造
1か月前
株式会社SUBARU
車両用シート
17日前
株式会社SUBARU
車両前部構造
1か月前
株式会社SUBARU
車両前部構造
2日前
株式会社SUBARU
車両前部構造
2日前
株式会社SUBARU
情報処理装置
2日前
株式会社SUBARU
整流システム
1か月前
株式会社SUBARU
車体前部構造
1か月前
株式会社SUBARU
車体前部構造
1か月前
株式会社SUBARU
車体前部構造
1か月前
株式会社SUBARU
排気浄化装置
9日前
株式会社SUBARU
インシュレータ
2日前
株式会社SUBARU
シフト制御装置
17日前
株式会社SUBARU
車両用電池パック
17日前
株式会社SUBARU
エンジン制御装置
1か月前
株式会社SUBARU
液体封入式マウント
3日前
株式会社SUBARU
車両用空力制御装置
10日前
株式会社SUBARU
ドアロック制御装置
1か月前
株式会社SUBARU
車両用周辺監視装置
1か月前
株式会社SUBARU
ドアロックシステム
9日前
株式会社SUBARU
電極チップ導入用治具
9日前
続きを見る
他の特許を見る