TOP
|
特許
|
意匠
|
商標
特許ウォッチ
Twitter
他の特許を見る
公開番号
2025160715
公報種別
公開特許公報(A)
公開日
2025-10-23
出願番号
2024063456
出願日
2024-04-10
発明の名称
車両用周辺監視装置
出願人
株式会社SUBARU
代理人
弁理士法人エビス国際特許事務所
主分類
G08G
1/16 20060101AFI20251016BHJP(信号)
要約
【課題】車両と通信が可能な機器から発せられる情報を利用して車両周辺の動体の存在や位置を正確に把握し、車両及び車両周辺の安全性を確保する。
【解決手段】車両と通信可能な可搬型の機器から取得した情報を利用して前記車両の周辺を監視する車両用周辺監視装置であって、機器から出力された機器の位置情報を受信する通信部と、位置情報に基づいて機器を監視し、監視結果に基づいて車両を制御する制御部と、を備え、制御部は、車両から所定距離未満の領域に進入した機器を検知すると共に、機器が移動している場合に、前記機器の所定時間後の位置を予測した予測位置を求め、機器の検知位置又は予測位置が、領域において車両の前方に位置する場合に車両の前方への走行を制限し、機器の検知位置又は予測位置が、領域において車両の後方に位置する場合に、車両の後方への走行を制限する、車両用周辺監視装置を提供する。
【選択図】図1
特許請求の範囲
【請求項1】
車両と通信可能な可搬型の機器から取得した情報を利用して前記車両の周辺を監視する車両用周辺監視装置であって、
前記機器から出力された前記機器の位置情報を受信する通信部と、
前記位置情報に基づいて前記機器を監視し、監視結果に基づいて前記車両を制御する制御部と、を備え、
前記制御部は、
前記車両から所定距離未満の領域に進入した前記機器を検知すると共に、前記機器が移動している場合に、前記機器の所定時間後の位置を予測した予測位置を求め、
前記機器の検知位置又は前記予測位置が、前記領域において前記車両の前方に位置する場合に前記車両の前方への走行を制限し、
前記機器の検知位置又は前記予測位置が、前記領域において前記車両の後方に位置する場合に、前記車両の後方への走行を制限する、車両用周辺監視装置。
続きを表示(約 700 文字)
【請求項2】
前記制御部は、
前記車両の前記領域における進行方向を予測又は算出し、
前記機器の検知位置又は前記予測位置が、前記領域において前記車両の前方に位置し、かつ、前記車両の進行方向が前方である場合に前記車両の前方への走行を制限し、
前記機器の検知位置又は前記予測位置が、前記領域において前記車両の後方に位置し、かつ、前記車両の進行方向が後方である場合に、前記車両の後方への走行を制限する、請求項1記載の車両用周辺監視装置。
【請求項3】
前記制御部は、
前記領域に進入した前記機器を検知した場合に、前記機器が前記領域に進入したこと及び前記検知位置の少なくとも何れか一方を前記車両の乗員に報知するように、前記車両に備えられた報知部を制御する、請求項1又は請求項2記載の車両用周辺監視装置。
【請求項4】
前記制御部は、
前記機器の前記検知位置又は前記予測位置が前記領域における前記車両の側方である場合に、前記機器の前記検知位置又は前記予測位置に対応する前記車両のドアの開放を制限する、請求項1又は請求項2記載の車両用周辺監視装置。
【請求項5】
前記制御部は、
前記車両の車室内において前記ドアに対する開操作があった場合に、当該開操作を無効として前記ドアの開放を一時的に禁止する、請求項4記載の車両用周辺監視装置。
【請求項6】
前記制御部は、
前記領域に進入した前記機器を検知した場合に、前記車両を自動的に制動する、請求項1又は請求項2記載の車両用周辺監視装置。
発明の詳細な説明
【技術分野】
【0001】
本発明は、車両の周辺を監視する車両用周辺監視装置に関する。
続きを表示(約 2,000 文字)
【背景技術】
【0002】
車両に他車両や歩行者などの動体が接近する場合に、これらの動体と車両との接触や衝突を防止する技術が種々提案されている。
例えば、特許文献1には、駐停車状態にある自車両の後側方から他車両が接近している場合に、他車両側のドアの開操作を検出すると、他車両側の路面に進入禁止範囲を表示させる、又は、スピーカを制御して、他車両の運転者に情報提供を行う車両用後方監視装置が開示されている。
【先行技術文献】
【特許文献】
【0003】
特開2014-85869号公報
【発明の概要】
【発明が解決しようとする課題】
【0004】
ところで、車両には、他車両だけでなく歩行者や動物等を含む様々な動体があらゆる方向から接近し得る。このため、進入禁止範囲の表示等の情報提供を行うのみでは全ての動体に対して十分とは言い難く、動体との接触や衝突(以下、接触等)を防止するためには、車両において接触等に対する回避操作を行うことが好ましい。
しかしながら、動体の動きが予測できない場合や、動体が車両の死角に位置する等の理由により運転者が動体を視認できない場合には、運転者は動体が存在することやその位置を把握することができず、接触等の虞があっても回避操作を行うことが困難である。
【0005】
例えば、車両に同乗していた乗員が降車した後に、降車した乗員を視認できなくなった場合には、運転者が「降車した乗員は既に車両の周辺に存在しない」と認識して運転操作を再開することが考えられる。このとき、降車した乗員が実際には車両周辺に存在していても、車両の死角に位置することで運転者から当該乗員を視認できない場合、運転者は回避操作を行うことなく運転操作を継続してしまう。
【0006】
そこで、車両周辺において車両の死角等の乗員が視認できない位置に動体が存在する場合であっても、動体の存在及びその位置を正確に検出して車両と動体との接触等を防止する等、車両及び車両周辺の安全を確保することが求められる。
【0007】
本発明は、このような状況に対処することを課題としている。すなわち、車両と通信が可能な機器から発せられる情報を利用して車両周辺の動体の存在や位置を正確に把握し、車両及び車両周辺の安全性を確保すること等を課題としている。
【課題を解決するための手段】
【0008】
このような課題を解決するために、本発明に係る車両用周辺監視装置は、以下の構成を具備する。
すなわち、本発明の一態様は、車両と通信可能な可搬型の機器から取得した情報を利用して前記車両の周辺を監視する車両用周辺監視装置であって、前記機器から出力された前記機器の位置情報を受信する通信部と、前記位置情報に基づいて前記機器を監視し、監視結果に基づいて前記車両を制御する制御部と、を備え、前記制御部は、前記車両から所定距離未満の領域に進入した前記機器を検知すると共に、前記機器が移動している場合に、前記機器の所定時間後の位置を予測した予測位置を求め、前記機器の検知位置又は前記予測位置が、前記領域において前記車両の前方に位置する場合に前記車両の前方への走行を制限し、前記機器の検知位置又は前記予測位置が、前記領域において前記車両の後方に位置する場合に、前記車両の後方への走行を制限する、車両用周辺監視装置を提供する。
【発明の効果】
【0009】
このような特徴を有する車両用周辺監視装置よれば、車両と通信が可能な機器から発せられる情報を利用して車両周辺の動体の存在や位置を正確に把握し、車両及び車両周辺の安全性を確保することができる。
【図面の簡単な説明】
【0010】
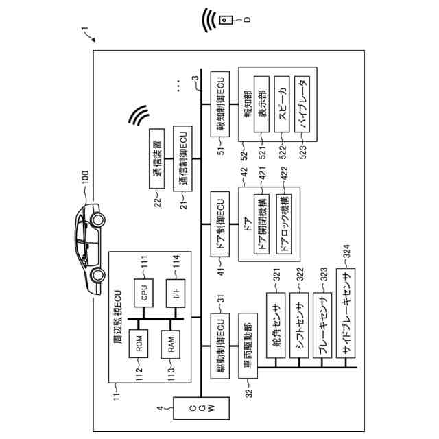
本発明の実施形態に係る車両用周辺監視装置を含む車両用制御システムの概略構成を示す説明図である。
車両の周辺において、機器を所持したユーザが存在する場合の一例についての説明図である。
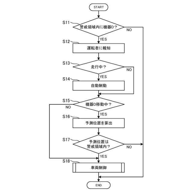
本発明の実施形態に係る車両用周辺監視装置における機器の監視処理を示すフローチャートである。
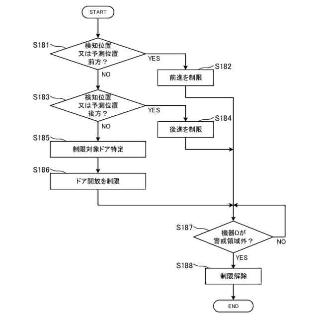
図3のステップS18の車両制御処理であって、本発明の実施形態に係る車両用周辺監視装置における機器の監視結果に基づく車両に対する制御処理を示すフローチャートである。
本発明の実施形態に係る車両用周辺監視装置における機器の監視処理の変形例を示すフローチャートである。
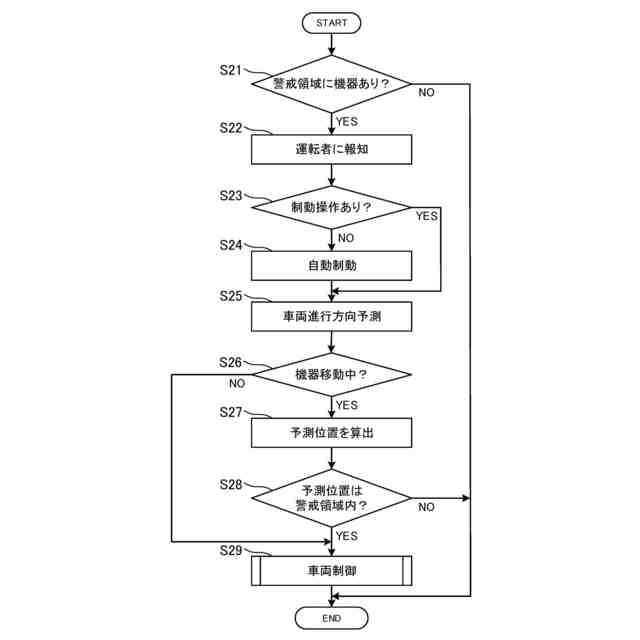
図5のステップS29の車両制御処理であって、本発明の実施形態に係る車両用周辺監視装置における機器の監視結果に基づく車両に対する制御処理の変形例を示すフローチャートである。
【発明を実施するための形態】
(【0011】以降は省略されています)
この特許をJ-PlatPat(特許庁公式サイト)で参照する
関連特許
株式会社SUBARU
車両
13日前
株式会社SUBARU
車両
13日前
株式会社SUBARU
車両
14日前
株式会社SUBARU
弁装置
6日前
株式会社SUBARU
加湿システム
13日前
株式会社SUBARU
排気浄化装置
13日前
株式会社SUBARU
操舵支援装置
14日前
株式会社SUBARU
車両用シート
21日前
株式会社SUBARU
車両用シート
21日前
株式会社SUBARU
車両前部構造
6日前
株式会社SUBARU
走行制御装置
今日
株式会社SUBARU
情報処理装置
6日前
株式会社SUBARU
車両用シート
21日前
株式会社SUBARU
車両制御装置
今日
株式会社SUBARU
車両前部構造
6日前
株式会社SUBARU
インシュレータ
6日前
株式会社SUBARU
シフト制御装置
21日前
株式会社SUBARU
車両用駆動装置
今日
株式会社SUBARU
人工蝸牛センサ
今日
株式会社SUBARU
エンジン制御装置
2日前
株式会社SUBARU
車両用電池パック
21日前
株式会社SUBARU
車両用空力制御装置
14日前
株式会社SUBARU
液体封入式マウント
7日前
株式会社SUBARU
ドアロックシステム
13日前
株式会社SUBARU
車両用エアバッグ装置
13日前
株式会社SUBARU
スタビライザブッシュ
7日前
株式会社SUBARU
電極チップ導入用治具
13日前
株式会社SUBARU
車両用高圧燃料配管装置
13日前
株式会社SUBARU
車両用高圧燃料配管構造
21日前
株式会社SUBARU
インフレータブル構造体
21日前
株式会社SUBARU
運転技能評価装置及び車両
6日前
株式会社SUBARU
運転技能評価装置および車両
今日
株式会社SUBARU
異常特定支援装置、学習方法
1日前
株式会社SUBARU
車両のフランク用のモジュール
6日前
株式会社SUBARU
車両用路面センサユニットの洗浄装置
13日前
株式会社SUBARU
燃料電池車および燃料電池劣化分析装置
14日前
続きを見る
他の特許を見る