TOP
|
特許
|
意匠
|
商標
特許ウォッチ
Twitter
他の特許を見る
公開番号
2025171837
公報種別
公開特許公報(A)
公開日
2025-11-20
出願番号
2024077553
出願日
2024-05-10
発明の名称
車両用シート
出願人
株式会社SUBARU
代理人
個人
主分類
B60N
2/16 20060101AFI20251113BHJP(車両一般)
要約
【課題】乗員が安全に休息をとる体勢になれるとともに、衝突が発生したときの乗員への負担を軽減させる。
【解決手段】乗員P着座するシートクッション部200と乗員Pの背部を支えるシートバック部100とが設けられた車両用シート10であって、シートクッション部200には、乗員Pの骨盤部から大腿部を支える座面部210と、シートクッション部200の骨格を形成する座面フレーム部220と、車両前側において座面フレーム部220に結合され座面部210を支える座面スプリング部230と、シートクッション部200の車両後側において車幅方向に延在しシートバック部100およびシートクッション部200を昇降させるリフタークロスメンバ部310と、リフタークロスメンバ部310の車両下側に設けられ、車両上側には座面スプリング部230が結合されているスプリングクロスメンバ部320と、を備えている。
【選択図】図2
特許請求の範囲
【請求項1】
乗員が着座するシートクッション部と前記乗員の背部を支えるシートバック部とが設けられた車両用シートであって、
前記シートクッション部には、
前記乗員の骨盤部から大腿部を支える座面部と、
前記シートクッション部の骨格を形成する座面フレーム部と、
車両前側において前記座面フレーム部に結合され前記座面部を支える座面スプリング部と、
前記シートクッション部の後側において車幅方向に延在し前記シートバック部および前記シートクッション部を昇降させるリフタークロスメンバ部と、
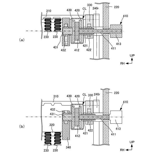
前記リフタークロスメンバ部の車両下側に車幅方向に延在し昇降可能に設けられ、前記座面スプリング部が結合されているスプリングクロスメンバ部と、
を備えていることを特徴とする車両用シート。
続きを表示(約 540 文字)
【請求項2】
前記リフタークロスメンバ部には、前記スプリングクロスメンバ部に結合されている前記座面スプリング部との干渉を避けた凹部が設けられていることを特徴とする請求項1に記載の車両用シート。
【請求項3】
前記リフタークロスメンバ部と前記スプリングクロスメンバ部とを昇降させる駆動部をさらに備え、
前記駆動部には、前記リフタークロスメンバ部を移動させる第1のクラッチ部と、前記スプリングクロスメンバ部を移動させる第2のクラッチ部と、が設けられていることを特徴とする請求項1あるいは請求項2に記載の車両用シート。
【請求項4】
前記駆動部を制御する判断部をさらに備え、
前記判断部は、車両の走行状態に関する情報および前記シートバック部の状態に関する情報を取得し、取得した情報に応じて前記駆動部を介して前記スプリングクロスメンバ部の位置を制御することを特徴とする請求項3に記載の車両用シート。
【請求項5】
前記判断部は、前記車両に衝突が発生したときには、前記リフタークロスメンバ部が設定されている高さ位置に応じて、前記スプリングクロスメンバ部の高さ位置を制御することを特徴とする請求項4に記載の車両用シート。
発明の詳細な説明
【技術分野】
【0001】
本発明は、車両用シートに関する。
続きを表示(約 1,500 文字)
【背景技術】
【0002】
近年、自動車等の車両においては、運転者の運転操作の負担を軽減するとともに、安全性の向上を実現することを目的として、運転者の運転操作を必要とせずに車両を自動走行させる自動運転制御技術の開発が進められている。
【0003】
この種の自動運転制御技術が搭載された車両においては、助手席側に限らず運転席側においても、運転者が着座シートを車両後側にスライドさせ、シートバック部を車両後方側に後傾させる安楽姿勢を取ることを想定する必要がある。
【0004】
上記に示す安楽姿勢が可能なシートとして、車両用シートにおいて、着座位置の高さを調整可能にするリフター機構が配備されているものがある。このようなリフター機構として設けられているフレーム部材は、起倒回動可能にする必用があるため、各フレーム部材の支持強度が低下してしまう場合がある。
【0005】
上記に示す課題を解決する手段として、各フレーム部材の支持強度を確保しつつロッドによる連結を行うために、シートクッションを支持する骨格部材として互いに幅方向に離間して配置されたリンク部材同士をロッドによって連結させる技術が開示されている。
具体的には、例えば、各リンク部材は、互いの離間寸法を変化させる段差形状に形成されており、その段差形状によって、ロッドの端部面に面当接する端部当接面と、ロッドの外周面に面当接する外周当接面とが形成されている。これらリンク部材は、その端部当接面及び外周当接面をロッドRの端部面及び外周面にそれぞれ面当接させた状態としてロッドに接合されて連結させている(例えば、特許文献1参照)。
【先行技術文献】
【特許文献】
【0006】
特許第4978282号公報
【発明の概要】
【発明が解決しようとする課題】
【0007】
特許文献1に示す技術は、リフター機構におけるシートクッションを昇降可能にリンク連結するリンク部材において、各フレーム部材の支持強度を確保しつつロッドによる連結を行えるようにする技術である。
【0008】
しかしながら、特許文献1に示す技術においては、バックシートを後傾させた安楽姿勢における乗員の姿勢および車両に衝突が発生したときの乗員への負担に関して考慮されていない虞があるという課題があった。
【0009】
そこで、本発明は上述の課題に鑑みてなされたものであり、乗員が安全に休息をとる体勢になれるとともに、車両に衝突が発生したときの乗員への負担を軽減させる車両用シートを提供することを目的とする。
【課題を解決するための手段】
【0010】
本発明の1またはそれ以上の実施形態は、着座乗員の骨盤部から大腿部を支える座面が設けられているシートクッション部と、前記着座乗員の背部を支えるシートバック部と、が設けられた車両用シートであって、前記シートクッション部には、前記シートクッション部の骨格を形成する座面フレーム部と、車両前側において前記座面フレーム部に結合され前記座面を支える座面スプリング部と、前記シートクッション部の後側において車幅方向に延在し前記座面を昇降させるリフタークロスメンバと、前記リフタークロスメンバの車両下側に車幅方向に延在し昇降可能に設けられ、前記座面スプリング部が結合されているスプリングクロスメンバ部と、を備えている車両用シートを提案している。
【発明の効果】
(【0011】以降は省略されています)
この特許をJ-PlatPat(特許庁公式サイト)で参照する
関連特許
株式会社SUBARU
車両
1か月前
株式会社SUBARU
車両
27日前
株式会社SUBARU
車両用シート
6日前
株式会社SUBARU
車両前部構造
21日前
株式会社SUBARU
車体前部構造
1か月前
株式会社SUBARU
車体前部構造
1か月前
株式会社SUBARU
車体前部構造
1か月前
株式会社SUBARU
整流システム
1か月前
株式会社SUBARU
運転支援装置
27日前
株式会社SUBARU
車両用シート
6日前
株式会社SUBARU
車両前部構造
21日前
株式会社SUBARU
車両前部構造
21日前
株式会社SUBARU
車両前部構造
21日前
株式会社SUBARU
車体前部構造
20日前
株式会社SUBARU
車体前部構造
20日前
株式会社SUBARU
車両用シート
6日前
株式会社SUBARU
操作システム
19日前
株式会社SUBARU
シフト制御装置
6日前
株式会社SUBARU
電動式全輪駆動車
1か月前
株式会社SUBARU
車両用電池パック
6日前
株式会社SUBARU
エンジン制御装置
19日前
株式会社SUBARU
車両用周辺監視装置
1か月前
株式会社SUBARU
車両の降車補助装置
1か月前
株式会社SUBARU
ドアロック制御装置
20日前
株式会社SUBARU
電波吸収体の製造方法
12日前
株式会社SUBARU
車両の車高自動調整装置
1か月前
株式会社SUBARU
車体構造部材の結合構造
1か月前
株式会社SUBARU
運転支援装置および車両
1か月前
株式会社SUBARU
運転補助装置および車両
27日前
株式会社SUBARU
カーテンエアバッグ装置
22日前
株式会社SUBARU
車両用高圧燃料配管構造
6日前
株式会社SUBARU
インフレータブル構造体
6日前
株式会社SUBARU
乗物用遮音構造体、及び車両
1か月前
株式会社SUBARU
フロントピラートリムの取付構造
12日前
株式会社SUBARU
車両および車両用忘れ物防止システム
27日前
しげる工業株式会社
車両用レジスタ装置
1か月前
続きを見る
他の特許を見る