TOP
|
特許
|
意匠
|
商標
特許ウォッチ
Twitter
他の特許を見る
公開番号
2025169552
公報種別
公開特許公報(A)
公開日
2025-11-14
出願番号
2024074345
出願日
2024-05-01
発明の名称
フロントピラートリムの取付構造
出願人
株式会社SUBARU
代理人
インフォート弁理士法人
主分類
B60R
13/02 20060101AFI20251107BHJP(車両一般)
要約
【課題】係合爪を損傷することなく、フロントピラートリムの下端部をインストルメントパネルから容易に取り外すことができるフロントピラートリムの取付構造を提供する。
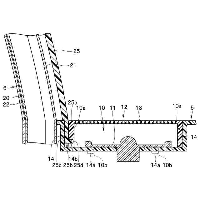
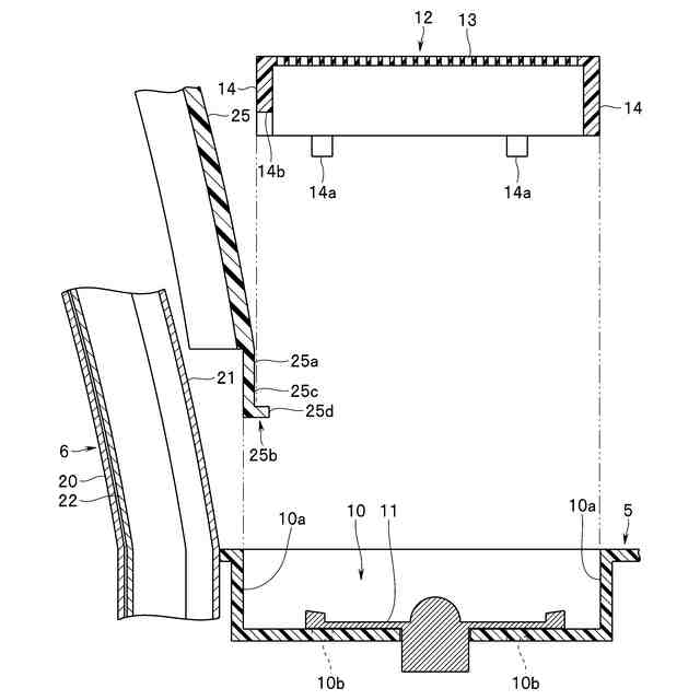
【解決手段】フロントピラートリム25の取付構造は、フロントピラー6に近接する位置にスピーカ収容室10が形成されたインストルメントパネル5と、スピーカ収容室10に着脱自在に装着されたスピーカグリル12と、スピーカグリル12に設けられ、スピーカ収容室10に対するスピーカグリル12の装着時にスピーカ収容室10のフロントピラー6側の壁面10aに沿って配置される縦壁14と、縦壁14に設けられた切り欠き14bと、フロントピラートリム25の下端部から下方に突出し、スピーカ収容室10の壁面10aとスピーカグリル12の縦壁14との間において切り欠き14bに係合する係合爪25bと、を有する。
【選択図】図4
特許請求の範囲
【請求項1】
フロントピラーに近接する位置に凹部が形成されたインストルメントパネルと、
前記凹部に着脱自在に装着されたカバーと、
前記カバーに設けられ、前記凹部に対する前記カバーの装着時に前記凹部の前記フロントピラー側の壁面に沿って配置される縦壁と、
前記縦壁に設けられた切り欠きと、
前記フロントピラーを覆うフロントピラートリムの下端部から下方に突出し、前記凹部の壁面と前記縦壁との間において前記切り欠きに係合する係合爪と、
を備えたことを特徴とするフロントピラートリムの取付構造。
続きを表示(約 350 文字)
【請求項2】
前記切り欠きは、前記縦壁の下部に設けられ、下端が開放されていることを特徴とする請求項1に記載のフロントピラートリムの取付構造。
【請求項3】
前記凹部は、スピーカを収容するスピーカ収容室であり、
前記カバーは、前記スピーカ収容室を覆うスピーカグリルであることを特徴とする請求項1に記載のフロントピラートリムの取付構造。
【請求項4】
前記係合爪の端部は、車幅方向内側に向けて突出していることを特徴とする請求項1に記載のフロントピラートリムの取付構造。
【請求項5】
前記フロントピラートリムに設けられ、前記フロントピラーに係合するテザークリップを有することを特徴とする請求項1に記載のフロントピラートリムの取付構造。
発明の詳細な説明
【技術分野】
【0001】
本発明は、車室側においてフロントピラーを覆うフロントピラートリムの取付構造に関する。
続きを表示(約 1,400 文字)
【背景技術】
【0002】
一般に、フロントピラートリムは、フロントピラーのインナパネルに対し、クリップ止めによって取り付けられる。さらに、フロントピラートリムの下部は、インストルメントパネルに対し、係合によって取り付けられる。
【0003】
このため、例えば、特許文献1に開示されているように、フロントピラートリムは、下方に突出する複数の係合爪を有する。これらの係合爪は、インストルメントパネルに設けられた複数の係合孔に対し、個別に挿入されて係合される。これにより、フロントピラートリムの下部は、インストルメントパネルに対して取り付けられる。
【0004】
ところで、近年においては、ETC(Electronic Toll Collection System)やドライブレコーダ等の車載機器が普及している。このような車載機器を車両に取り付ける際に、ユーザ等は、フロントピラートリムを車体から取り外して配線作業等を行う場合がある。
【先行技術文献】
【特許文献】
【0005】
特開2016-13771号公報
【発明の概要】
【発明が解決しようとする課題】
【0006】
しかしながら、フロントピラートリムは長尺であるため取り扱いが困難である。従って、係合孔と係合爪との係合を解除させる際に係合爪に大きなモーメントが作用する等し、係合爪を損傷させる虞がある。
【0007】
本発明は、爪部を損傷することなく、フロントピラートリムの下端部をインストルメントパネルから容易に取り外すことができるフロントピラートリムの取付構造を提供することを目的とする。
【課題を解決するための手段】
【0008】
本発明の一態様によるフロントピラートリムの取付構造は、フロントピラーに近接する位置に凹部が形成されたインストルメントパネルと、前記凹部に着脱自在に装着されたカバーと、前記カバーに設けられ、前記凹部に対する前記カバーの装着時に前記凹部の前記フロントピラー側の壁面に沿って配置される縦壁と、前記縦壁の下部に設けられ、下端が開放された切り欠きと、前記フロントピラーを覆うフロントピラートリムの下端部から下方に突出し、前記凹部の壁面と前記縦壁との間において前記切り欠きに係合する係合爪と、を備えたものである。
【発明の効果】
【0009】
本発明のフロントピラートリムの取付構造によれば、爪部を損傷することなく、フロントピラートリムの下端部をインストルメントパネルから容易に取り外すことができる。
【図面の簡単な説明】
【0010】
フロントピラー付近を車室側から示す斜視図
フロントピラー付近を車室側から示す分解斜視図
スピーカグリルを示す斜視図
図1のIV-IVI線に沿う要部断面図
フロントピラートリム及びスピーカグリルを取り外した状態にてフロントピラー付近を示す要部断面図
図1のV-V線に沿う要部断面図
アンカー部を展開させたときのフロントピラー及びフロントピラートリムの要部断面図
【発明を実施するための形態】
(【0011】以降は省略されています)
この特許をJ-PlatPat(特許庁公式サイト)で参照する
関連特許
株式会社SUBARU
車両
18日前
株式会社SUBARU
車両前部構造
12日前
株式会社SUBARU
操作システム
10日前
株式会社SUBARU
車体前部構造
11日前
株式会社SUBARU
車体前部構造
11日前
株式会社SUBARU
車両前部構造
12日前
株式会社SUBARU
車両前部構造
12日前
株式会社SUBARU
車両前部構造
12日前
株式会社SUBARU
車体前部構造
25日前
株式会社SUBARU
車体前部構造
25日前
株式会社SUBARU
車体前部構造
25日前
株式会社SUBARU
運転支援装置
18日前
株式会社SUBARU
整流システム
21日前
株式会社SUBARU
エンジン制御装置
10日前
株式会社SUBARU
車両用周辺監視装置
25日前
株式会社SUBARU
ドアロック制御装置
11日前
株式会社SUBARU
電波吸収体の製造方法
3日前
株式会社SUBARU
運転補助装置および車両
18日前
株式会社SUBARU
カーテンエアバッグ装置
13日前
株式会社SUBARU
車両の車高自動調整装置
27日前
株式会社SUBARU
フロントピラートリムの取付構造
3日前
株式会社SUBARU
車両および車両用忘れ物防止システム
18日前
テイ・エス テック株式会社
乗物用シート
10日前
個人
カーテント
5か月前
個人
タイヤレバー
3か月前
個人
前輪キャスター
2か月前
個人
上部一体型自動車
1か月前
個人
タイヤ脱落防止構造
2か月前
個人
ホイルのボルト締結
4か月前
個人
空間形成装置
18日前
個人
ルーフ付きトライク
3か月前
個人
車輪清掃装置
5か月前
日本精機株式会社
表示装置
3か月前
日本精機株式会社
表示装置
3か月前
日本精機株式会社
表示装置
3か月前
日本精機株式会社
表示装置
3か月前
続きを見る
他の特許を見る