TOP
|
特許
|
意匠
|
商標
特許ウォッチ
Twitter
他の特許を見る
10個以上の画像は省略されています。
公開番号
2025144357
公報種別
公開特許公報(A)
公開日
2025-10-02
出願番号
2024044098
出願日
2024-03-19
発明の名称
伝動部材
出願人
日産自動車株式会社
代理人
個人
主分類
B60K
17/16 20060101AFI20250925BHJP(車両一般)
要約
【課題】差動装置を含む電気自動車の駆動装置を他の発電システムに有効に転用することができる、伝動部材、これを用いた電気自動車の駆動装置の転用方法を提供する。
【解決手段】本発明は、少なくとも回転電機、減速機、及び差動装置を収容するハウジングを含む、電気自動車の駆動装置において、前記差動装置に代わって前記ハウジングに収容され、発電システムの駆動源からの動力を伝動する伝動部材であって、前記駆動源と接続可能な軸部材と、前記軸部材に固定され、前記軸部材から径方向に延びる支持部と、前記支持部に固定され、前記減速機に動力を伝動するギアと、を備えている。
【選択図】図2
特許請求の範囲
【請求項1】
少なくとも変速機及び差動装置を収容するハウジングを含む電気自動車の駆動装置において、前記差動装置に代わって前記ハウジングに収容され、発電システムの駆動源からの動力を伝動する伝動部材であって、
前記駆動源と接続可能な軸部材と、
前記軸部材に固定され、前記軸部材から径方向に延びる支持部と、
前記支持部に固定され、前記変速機に動力を伝動するギアと、
を備え、
前記差動装置の回転軸と一致するように、前記軸部材を前記ハウシングに回転可能に固定され、前記ギアによる回転動力が前記変速機に伝動するように構成されている、伝動部材。
続きを表示(約 750 文字)
【請求項2】
前記軸部材は、前記支持部が固定される本体部と、前記本体部と同軸線上に連結され、前記駆動源と接続可能な連結部とを有し、
前記連結部の表面のロックウェル硬さに対する、前記本体部の表面のロックウェル硬さの比率が、0.1~1.0である、請求項1に記載の伝動部材。
【請求項3】
前記支持部または前記軸部材に取り付けられる、制振用の錘をさらに備えている、請求項1または2に記載の伝動部材。
【請求項4】
前記軸部材は、前記支持部が取り付けられる本体部位と、前記本体部位の軸方向の端部に着脱自在に固定される交換部位と、を備え、
前記交換部位が前記発電システムの駆動源に接続可能となっている、請求項1または2に記載の伝動部材。
【請求項5】
少なくとも変速機及び差動装置を収容するハウジングを含む、電気自動車の駆動装置から前記差動装置に代わって、請求項1または2に記載の伝動部材を取り付けた、発電システムの構成部品。
【請求項6】
少なくとも変速機及び差動装置を収容するハウジングを含む電気自動車の駆動装置を、発電システムの構成部品として転用する転用方法であって、
前記ハウシングにおける前記差動装置の収容空間から前記差動装置を取り外すことと、
前記ハウジングに請求項1に記載の伝動部材を収容し、前記差動装置の回転軸と一致するように、前記軸部材を前記ハウシングに回転可能に固定し、前記ギアによる回転動力が前記変速機に伝動するように接続することと、
前記ハウジングから突出する前記軸部材の一端部に、前記発電システムの駆動源を接続することと、
を備えている、電気自動車の駆動装置の転用方法。
発明の詳細な説明
【技術分野】
【0001】
本発明は、伝動部材、発電システムの構成部品、及び電気自動車の駆動装置の転用方法に関する。
続きを表示(約 1,300 文字)
【背景技術】
【0002】
特許文献1には、電気自動車を含む車両の駆動装置を風力発電システムにリユースする技術が記載されている。
【先行技術文献】
【特許文献】
【0003】
特開2001-140743号公報
【発明の概要】
【発明が解決しようとする課題】
【0004】
特に、電気自動車にはモータが含まれているため、このモータを含む駆動装置を発電システムに適用することは有効である。しかしながら、特許文献1には、自動車の駆動装置に含まれる走行駆動軸を転用することが詳細に記載されているものの、その他の部位をどのように転用するかについては、詳細な記載がない。
【0005】
電気自動車の駆動装置には一般的には差動装置が含まれているが、風力発電のほか、水力発電では一軸のタービンシャフトで発電を行うため、駆動装置に差動装置が含まれている場合には、2つの駆動軸のうち、一方を使用できないように固定(デフロック)する必要がある。しかしながら、そのようなデフロックが施されていないと、タービンシャフトにつながっていない側のギアが空転しつづけ発電エネルギーが損失してしまうという課題が発生する。
【0006】
このように、自動車の駆動装置には、左右の車輪に動力を伝達するための差動装置が設けられているが、差動装置の取り扱いについて適切な活用方法が提案されておらず、駆動装置の有効活用が図れないという課題があった。
【0007】
本発明は、上記課題を解決するためになされたものであり、差動装置を含む電気自動車の駆動装置を他の発電システムに有効に転用することができる、伝動部材、これを用いた電気自動車の駆動装置の転用方法を提供することを目的とする。
【課題を解決するための手段】
【0008】
本発明は、少なくとも変速機及び差動装置を収容するハウジングを含む、電気自動車の駆動装置において、前記差動装置に代わって前記ハウジングに収容され、発電システムの駆動源からの動力を伝動する伝動部材であって、前記駆動源と接続可能な軸部材と、前記軸部材に固定され、前記軸部材から径方向に延びる支持部と、前記支持部に固定され、前記変速機に動力を伝動するギアと、を備えている。
【発明の効果】
【0009】
本発明によれば、差動装置を含む電気自動車の駆動装置を他の発電システムに有効に転用することができる。
【図面の簡単な説明】
【0010】
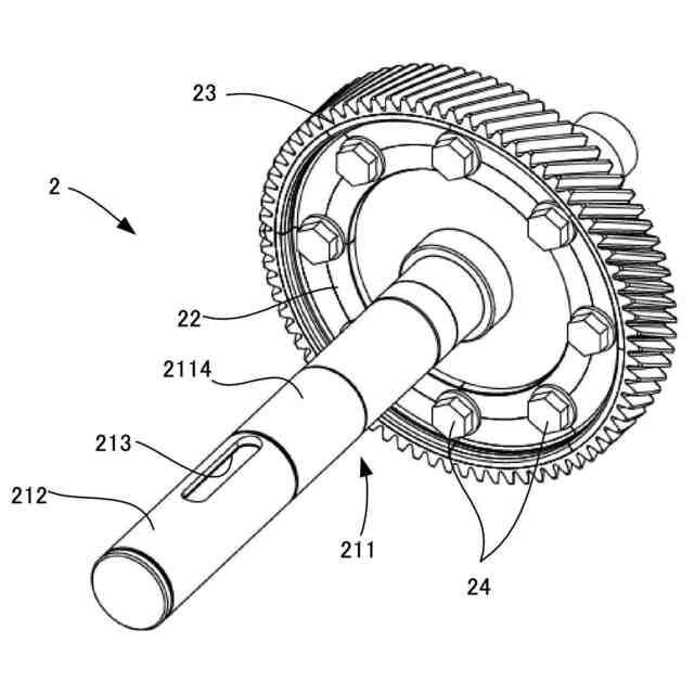
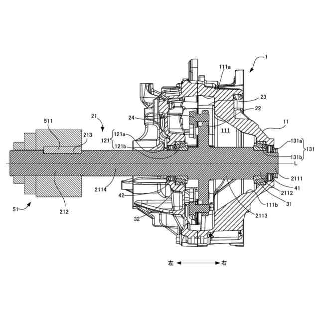
本発明に係る伝動部材が取り付けられる前の駆動装置の一実施形態を示す断面図である。
伝動部材を右側から見た斜視図である。
伝動部材を左側から見た斜視図である。
伝動部材からリングギアを取り外した状態を示す断面図である。
伝動部材が取り付けられた駆動装置の断面図である。
水力発電システムの概略図である。
伝動部材の他の例を示す斜視図である。
図7の断面図である。
伝動部材の他の例を示す断面図である。
【発明を実施するための形態】
(【0011】以降は省略されています)
特許ウォッチbot のツイートを見る
この特許をJ-PlatPat(特許庁公式サイト)で参照する
関連特許
日産自動車株式会社
二次電池
14日前
日産自動車株式会社
保持機構
24日前
日産自動車株式会社
二次電池
17日前
日産自動車株式会社
保持機構
18日前
日産自動車株式会社
電動車両
6日前
日産自動車株式会社
内燃機関
3日前
日産自動車株式会社
積層型電池
24日前
日産自動車株式会社
面圧付与機構
20日前
日産自動車株式会社
面圧付与機構
24日前
日産自動車株式会社
電池モジュール
11日前
日産自動車株式会社
電池モジュール
4日前
日産自動車株式会社
車両用排気部構造
3日前
日産自動車株式会社
リチウム二次電池
17日前
日産自動車株式会社
リチウム二次電池
3日前
日産自動車株式会社
塗装方法及び自動車
5日前
日産自動車株式会社
エンジンのアンダカバー
11日前
日産自動車株式会社
ギヤ装置のブリーザ構造
20日前
株式会社ニフコ
締結構造
11日前
日産自動車株式会社
車両用荷室における排熱構造
14日前
日産自動車株式会社
相乗り可否判定方法及び装置
14日前
日産自動車株式会社
運転支援方法及び運転支援装置
11日前
日産自動車株式会社
経路案内方法及び経路案内装置
19日前
日産自動車株式会社
車載機能制御方法及び車載端末
19日前
日産自動車株式会社
画像処理方法及び画像処理装置
1か月前
日産自動車株式会社
運転支援方法及び運転支援装置
12日前
日産自動車株式会社
車両制御装置及び車両制御方法
25日前
日産自動車株式会社
画像表示方法及び画像表示装置
1か月前
日産自動車株式会社
施錠制御方法及び施錠制御装置
13日前
日産自動車株式会社
配車管理装置及び配車管理方法
25日前
日産自動車株式会社
固体酸化物形燃料電池の製造方法
26日前
日産自動車株式会社
物体検出方法、及び物体検出装置
3日前
日産自動車株式会社
車両制御方法および車両制御装置
12日前
日産自動車株式会社
車両制御方法および車両制御装置
12日前
日産自動車株式会社
車両制御方法および車両制御装置
12日前
日産自動車株式会社
衝突回避方法、及び衝突回避装置
3日前
日産自動車株式会社
車両管理方法及び車両管理システム
19日前
続きを見る
他の特許を見る