TOP
|
特許
|
意匠
|
商標
特許ウォッチ
Twitter
他の特許を見る
10個以上の画像は省略されています。
公開番号
2025159760
公報種別
公開特許公報(A)
公開日
2025-10-22
出願番号
2024062491
出願日
2024-04-09
発明の名称
経路案内方法及び経路案内装置
出願人
日産自動車株式会社
代理人
個人
,
個人
,
個人
主分類
G01C
21/36 20060101AFI20251015BHJP(測定;試験)
要約
【課題】車両の走行中に、運転者の有効視野を広く保つように支援しつつ経路案内を行うことが可能な経路案内方法及び経路案内装置を提供する。
【解決手段】経路案内装置1A及び経路案内方法は、車両の運転者の視線方向を計測する視線計測装置102に通信可能に接続され、有効視野算出部32Aと、案内生成部53とを備える。有効視野算出部32Aは、運転者の視線方向から、運転者の有効視野を示す情報、および有効視野の外縁から内側に所定距離内の範囲である有効視野周縁部を示す情報を算出する。案内生成部53は、有効視野周縁部内にある物体に基づいて車両の走行経路を案内するための情報を生成する。
【選択図】図1
特許請求の範囲
【請求項1】
車両の運転者の視線方向を計測する視線計測装置に通信可能に接続された経路案内装置が、
前記運転者の視線方向から、前記運転者の有効視野を示す情報、および前記有効視野の外縁から内側に所定距離内の範囲である有効視野周縁部を示す情報を算出し、
前記有効視野周縁部内にある物体に基づいて前記車両の走行経路を案内するための情報を生成する、経路案内方法。
続きを表示(約 870 文字)
【請求項2】
前記経路案内装置は、車両に設置されて前記車両の前方を撮影する撮像装置に通信可能にさらに接続され、
前記撮像装置によって撮像された画像に基づいて、前記車両の前方に存在する物体を検出し、
算出された前記有効視野周縁部を示す情報と検出された物体とを照合して、前記有効視野周縁部内にある物体を特定する、請求項1に記載の経路案内方法。
【請求項3】
前記運転者の有効視野を示す情報を、前記運転者の運転習熟度、前記運転者の走行中の経路に対する習熟度、または前記運転者にかかる運転負荷の度合いの少なくともいずれかに基づいて算出する、請求項1に記載の経路案内方法。
【請求項4】
前記有効視野周縁部を示す情報を、予め設定された定義により前記有効視野から算出するかまたは、前記運転者の過去の有効視野と現在の有効視野との差分を用いて算出する、請求項1に記載の経路案内方法。
【請求項5】
前記経路案内装置は、前記運転者にかかる運転負荷を計測する運転負荷計測装置にさらに通信可能に接続され、
前記運転負荷計測装置で計測された運転負荷が所定値以下の場合は、前記有効視野周縁部内にある物体に基づいて前記車両の走行経路を案内するための情報を生成し、
前記運転負荷計測装置で計測された運転負荷が所定値を超える場合は、前記有効視野から前記有効視野周縁部を除いた領域内にある物体に基づいて前記車両の走行経路を案内するための情報を生成する、請求項1に記載の経路案内方法。
【請求項6】
車両の運転者の視線方向を計測する視線計測装置に通信可能に接続され、
前記運転者の視線方向から、前記運転者の有効視野を示す情報、および前記有効視野の外縁から内側に所定距離内の範囲である有効視野周縁部を示す情報を算出する有効視野算出部と、
前記有効視野周縁部内にある物体に基づいて前記車両の走行経路を案内するための情報を生成する案内生成部と、を備える経路案内装置。
発明の詳細な説明
【技術分野】
【0001】
本発明は、経路案内方法及び経路案内装置に関するものである。
続きを表示(約 1,900 文字)
【背景技術】
【0002】
車両の運転者に対して車両の走行経路を案内するための情報を出力する際に、車両の前方を撮影した撮像情報の中から運転者の視線の焦点にある物体を特定し、特定した物体に関する情報を運転者に提供する技術がある(例えば、特許文献1)。これにより、運転者は運転中に、注視している物体に関する情報を認識することができる。
【先行技術文献】
【特許文献】
【0003】
特開2014-174091号公報
【発明の概要】
【発明が解決しようとする課題】
【0004】
車両の運転者は、安全に運転するために、有効視野を広く保って注視している物体以外の情報も認知すべきである。しかし、上述した技術を用いた場合、運転者が注視している物体に関する情報を提供することで運転者の注意がさらにこの物体に向くため、運転者の有効視野が狭くなるという問題があった。
【0005】
本発明は、上記課題に鑑みて成されたものであり、その目的は、車両の走行中に、運転者の有効視野を広く保つように支援しつつ経路案内を行う経路案内方法及び経路案内装置を提供することである。
【課題を解決するための手段】
【0006】
本発明の一態様に係わる経路案内方法は、車両の運転者の視線方向を計測する視線計測装置に通信可能に接続された経路案内装置が、運転者の視線方向から、運転者の有効視野を示す情報、および有効視野の外縁から内側に所定距離内の範囲である有効視野周縁部を示す情報を算出することを含む。また経路案内方法は、有効視野周縁部内にある物体に基づいて車両の走行経路を案内するための情報を生成することを含む。
【発明の効果】
【0007】
本発明の一態様によれば、車両の走行中に、運転者の有効視野を広く保つように支援しつつ経路案内を行うことができる。
【図面の簡単な説明】
【0008】
図1は、第1実施形態に係わる経路案内装置を利用した運転支援システムの構成を示すブロック図である。
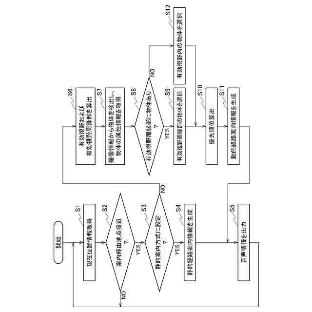
図2は、第1実施形態に係わる経路案内装置が実行する経路案内生成処理を示すフローチャートである。
図3は、第1実施形態に係わる経路案内装置の有効視野算出部が算出する有効視野に関する説明図である。
図4は、第1実施形態に係わる経路案内装置の物体検出部が撮像情報から検出する物体の例である。
図5Aは、第1実施形態に係わる経路案内装置の有効視野算出部が算出した有効視野、有効視野周縁部、および視野照合部が認識した物体に関する説明図である。
図5Bは、第1実施形態に係わる経路案内装置から動的経路案内情報が出力されたことにより移動する、運転者の注視点に関する説明図である。
図6は、第2実施形態に係わる経路案内装置を利用した運転支援システムの構成を示すブロック図である。
図7Aは、第2実施形態に係わる経路案内装置の有効視野算出部が算出した有効視野、有効視野周縁部、過去に算出した有効視野、および視野照合部が認識した物体に関する説明図である。
図7Bは、第2実施形態に係わる経路案内装置から動的経路案内情報が出力されたことにより移動する、運転者の注視点に関する説明図である。
図8は、第3実施形態に係わる経路案内装置を利用した運転支援システムの構成を示すブロック図である。
図9Aは、第3実施形態に係わる経路案内装置の有効視野算出部が算出した、有効視野から有効視野周縁部を除いた領域および視野照合部が認識した物体に関する説明図である。
図9Bは、第3実施形態に係わる経路案内装置から動的経路案内情報が出力されたことにより移動する、運転者の注視点に関する説明図である。
【発明を実施するための形態】
【0009】
図面を参照して、実施形態を説明する。なお、各図において共通する部分には同一の符号を付し、重複する説明を省略する。
【0010】
《第1実施形態》
〈第1実施形態による経路案内装置を利用した運転支援システムの構成〉
図1は、第1実施形態の運転支援システムST1の構成を示すブロック図である。運転支援システムST1は車両CA1(図示せず)に搭載され、経路案内装置1Aと、撮像装置101と、視線計測装置102と、位置センサ103と、車載器104とを備える。
(【0011】以降は省略されています)
この特許をJ-PlatPat(特許庁公式サイト)で参照する
関連特許
日産自動車株式会社
電動車両
15日前
日産自動車株式会社
二次電池
23日前
日産自動車株式会社
二次電池
26日前
日産自動車株式会社
保持機構
27日前
日産自動車株式会社
保持機構
1か月前
日産自動車株式会社
内燃機関
12日前
日産自動車株式会社
積層型電池
1か月前
日産自動車株式会社
面圧付与機構
29日前
日産自動車株式会社
面圧付与機構
1か月前
日産自動車株式会社
ロータシャフト
7日前
日産自動車株式会社
電池モジュール
20日前
日産自動車株式会社
ロータシャフト
7日前
日産自動車株式会社
電池モジュール
13日前
日産自動車株式会社
リチウム二次電池
12日前
日産自動車株式会社
リチウム二次電池
26日前
日産自動車株式会社
車両用排気部構造
12日前
日産自動車株式会社
塗装方法及び自動車
14日前
日産自動車株式会社
ギヤ装置のブリーザ構造
29日前
日産自動車株式会社
エンジンのアンダカバー
20日前
株式会社ニフコ
締結構造
20日前
日産自動車株式会社
車両用荷室における排熱構造
23日前
日産自動車株式会社
相乗り可否判定方法及び装置
23日前
日産自動車株式会社
経路案内方法及び経路案内装置
28日前
日産自動車株式会社
配車管理装置及び配車管理方法
1か月前
日産自動車株式会社
車載機能制御方法及び車載端末
28日前
日産自動車株式会社
車両制御装置及び車両制御方法
1か月前
日産自動車株式会社
画像処理方法及び画像処理装置
1か月前
日産自動車株式会社
施錠制御方法及び施錠制御装置
22日前
日産自動車株式会社
画像表示方法及び画像表示装置
1か月前
日産自動車株式会社
運転支援方法及び運転支援装置
20日前
日産自動車株式会社
運転支援方法及び運転支援装置
21日前
日産自動車株式会社
衝突回避方法、及び衝突回避装置
12日前
日産自動車株式会社
車両制御方法および車両制御装置
21日前
日産自動車株式会社
物体検出方法、及び物体検出装置
12日前
日産自動車株式会社
車両制御方法および車両制御装置
21日前
日産自動車株式会社
車両制御方法および車両制御装置
21日前
続きを見る
他の特許を見る