TOP
|
特許
|
意匠
|
商標
特許ウォッチ
Twitter
他の特許を見る
公開番号
2025159539
公報種別
公開特許公報(A)
公開日
2025-10-21
出願番号
2024062183
出願日
2024-04-08
発明の名称
面圧付与機構
出願人
日産自動車株式会社
代理人
弁理士法人とこしえ特許事務所
主分類
H01M
50/262 20210101AFI20251014BHJP(基本的電気素子)
要約
【課題】小型化が可能な面圧付与機構を提供することである。
【解決手段】電池の積層体に積層方向に面圧を付与する面圧付与機構であって、積層体に対して積層方向に位置して積層体を支持する第1支持部及び第2支持部と、第1支持部及び第2支持部を保持するための保持部と、第1支持部及び第2支持部の間に位置して、第1支持部及び第2支持部を連結するばね及び油圧室とを備え、第1支持部及び第2支持部は、積層方向を回転軸として回転可能に保持部と雄雌結合し、いずれか一方の支持部が静止状態で保持部に保持されている場合に、他方の支持部が回転軸を中心に回転することで積層方向に移動可能である。
【選択図】 図1
特許請求の範囲
【請求項1】
電池の積層体に積層方向に圧縮荷重を加えて面圧を付与する面圧付与機構であって、
前記積層体に対して前記積層方向に位置して前記積層体を支持するための第1支持部及び第2支持部と、
前記第1支持部及び前記第2支持部を保持するための保持部と、
前記第1支持部及び前記第2支持部の間に位置して、前記第1支持部及び前記第2支持部を連結するばね及び油圧室とを備え、
前記積層体は、モジュールケースに収納され、
前記第1支持部及び前記第2支持部は、
前記積層方向を回転軸として回転可能に前記保持部と雄雌結合し、
前記積層体の膨張収縮時において、いずれか一方の支持部が静止状態で前記保持部に保持されている場合に、他方の支持部が前記回転軸を中心に回転することで前記積層方向に移動可能である面圧付与機構。
続きを表示(約 1,600 文字)
【請求項2】
請求項1に記載の面圧付与機構であって、
前記第1支持部が前記静止状態で前記積層体を支持している状態で前記第2支持部が回転することで前記積層方向に移動する工程、又は、前記第2支持部が前記静止状態で前記積層体を支持している状態で前記第1支持部が回転することで前記積層方向に移動する工程において、前記第1支持部及び前記第2支持部の間の距離が変化する面圧付与機構。
【請求項3】
請求項1又は2に記載の面圧付与機構であって、
前記第1支持部が回転することで前記積層方向に移動する工程、及び、前記第2支持部が回転することで前記積層方向に移動する工程において、回転状態である前記一方の支持部が前記積層方向に移動するストローク量は、前記回転状態である前記一方の支持部が前記積層方向に移動できる最大ストローク量よりも小さい面圧付与機構。
【請求項4】
請求項1又は2に記載の面圧付与機構であって、
前記第2支持部が前記静止状態で前記積層体を支持している状態において前記第1支持部が移動する移動方向と、前記第1支持部が前記静止状態で前記積層体を支持している状態において前記第2支持部が移動する移動方向とは同一方向である面圧付与機構。
【請求項5】
請求項1又は2に記載の面圧付与機構であって、
前記第1支持部及び前記第2支持部は、切替サイクルを繰り返し実行し、
前記切替サイクルは、
前記第1支持部が前記静止状態で前記積層体を支持している間に、前記第2支持部が前記積層方向に前記第1支持部に対する位置を移動する工程と、
前記第2支持部が前記静止状態で前記積層体を支持している間に、前記第1支持部が前記積層方向に前記第2支持部に対する位置を移動する工程と、を含む面圧付与機構。
【請求項6】
請求項1又は2に記載の面圧付与機構であって、
前記積層体から付与される荷重が前記第1支持部を介して前記第2支持部に付与される面圧付与機構。
【請求項7】
請求項1又は2に記載の面圧付与機構であって、
前記保持部は、前記積層方向に沿って配置される雌ネジ部を備え、
前記第1支持部及び前記第2支持部のうちの少なくとも一方は、
前記雌ネジ部に篏合する雄ネジ部を備え、
前記雄ネジ部が前記雌ネジ部に篏合している状態で前記回転軸を中心に回転することで前記積層方向に移動する面圧付与機構。
【請求項8】
請求項7に記載の面圧付与機構であって、
前記第1支持部及び前記第2支持部のうちの少なくとも一方は、
前記積層体の収縮方向に移動する場合の前記雄ネジ部に作用する摩擦力が、前記積層体の膨張方向に移動する場合の前記雄ネジ部に作用する摩擦力よりも小さい面圧付与機構。
【請求項9】
請求項8に記載の面圧付与機構であって、
前記第1支持部及び前記第2支持部のうちの少なくとも一方は、
前記雄ネジ部が前記雌ネジ部に摺動可能に篏合し、
前記収縮方向に移動する場合の、前記雌ネジ部と接触する前記雄ネジ部の摺動面の摩擦係数が、前記膨張方向に移動する場合の、前記雌ネジ部と接触する前記雄ネジ部の摺動面の摩擦係数よりも小さい面圧付与機構。
【請求項10】
請求項1又は2に記載の面圧付与機構であって、
前記第1支持部及び前記第2支持部は、
前記油圧室の油圧が大きいほど、前記油圧によって、回転状態の他方の支持部が、前記静止状態の一方の支持部から離れるように前記積層方向に移動し、
前記油圧が小さいほど、前記ばねによって、前記回転状態の他方の支持部が、前記静止状態の一方の支持部に近づくように前記積層方向に移動する面圧付与機構。
(【請求項11】以降は省略されています)
発明の詳細な説明
【技術分野】
【0001】
本発明は、面圧付与機構に関するものである。
続きを表示(約 1,500 文字)
【背景技術】
【0002】
第1形態で、所定数の弾性体によって蓄電モジュールに拘束荷重を付与し、第2形態で、所定数より多くの弾性体によって蓄電モジュールに拘束荷重を付与し、経年による劣化等に応じて第1形態から第2形態に切り替える動作をするように構成されている荷重付与装置が知られている(特許文献1)。
【先行技術文献】
【特許文献】
【0003】
特開2022-114625号公報
【発明の概要】
【発明が解決しようとする課題】
【0004】
しかしながら、特許文献1に記載の装置では、長い期間にわたって全固体電池に適切な荷重を印加するために、弾性体が劣化する前には使用されず弾性体が劣化した後に使用される別の弾性体を装置内に備えておく必要があるため、装置全体が大型化してしまうという問題がある。
【0005】
本発明が解決しようとする課題は、小型化が可能な面圧付与機構を提供することである。
【課題を解決するための手段】
【0006】
本発明は、電池の積層体に積層方向に面圧を付与する面圧付与機構であって、積層体に対して積層方向に位置して積層体を支持する第1支持部及び第2支持部と、第1支持部及び第2支持部を保持するための保持部と、第1支持部及び第2支持部の間に位置して、第1支持部及び第2支持部を連結するばね及び油圧室とを備え、第1支持部及び第2支持部は、積層方向を回転軸として回転可能に保持部と雄雌結合し、いずれか一方の支持部が静止状態で保持部に保持されている場合に、他方の支持部が回転軸を中心に回転することで積層方向に移動可能であることによって上記課題を解決する。
【発明の効果】
【0007】
本発明によれば、面圧付与機構を小型化できる。
【図面の簡単な説明】
【0008】
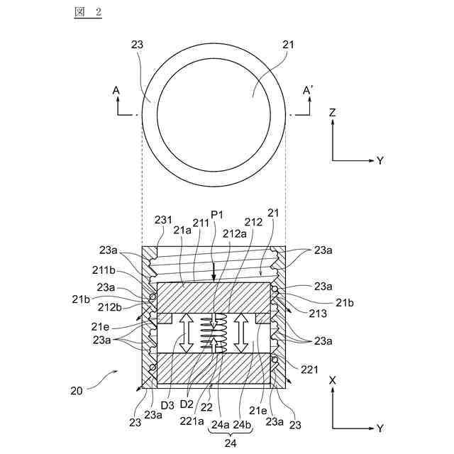
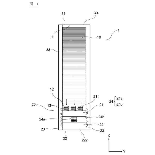
図1は、本発明の実施形態に係る面圧付与機構を含む電池モジュールを模式的に示す断面図である。
図2は、本実施形態に係る面圧付与機構の一例を示す上面図及び部分断面図である。
図3は、本実施形態に係る面圧付与機構における第2支持部の移動動作の一例を説明するための模式図である。
図4は、本実施形態に係る面圧付与機構における第1支持部の移動動作の一例を説明するための模式図である。
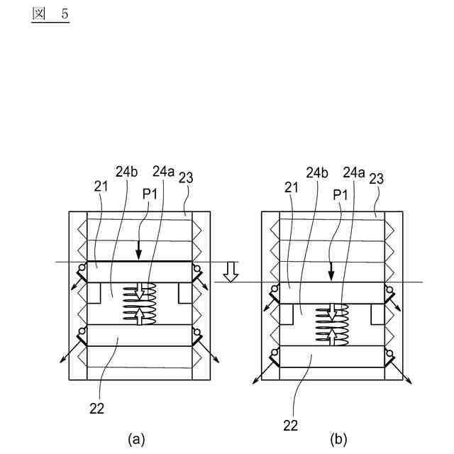
図5は、本実施形態に係る面圧付与機構において下降する場合の第1支持部及び第2支持部の状態の一例を示す模式図である。
図6は、本実施形態に係る面圧付与機構において静止状態で保持される場合の第1支持部及び第2支持部の状態の一例を示す模式図である。
【発明を実施するための形態】
【0009】
本発明の実施形態に係る面圧付与機構について図面に基づいて説明する。本実施形態に係る面圧付与機構は、リチウム析出型全固体電池の電池モジュールに備えられる。電池モジュールは、電気自動車である車両にバッテリとして搭載される。なお、電池は、膨張収縮するものであれば、全固体電池に限らず、他の二次電池等であってもよい。
【0010】
図1は、本発明の実施形態に係る面圧付与機構を含む電池モジュールを模式的に示す断面図である。図1で示されるように、電池モジュール1は、複数の全固体電池が積層して構成される積層体10と、面圧付与機構20と、モジュールケース30とを備える。図1では、X軸は、全固体電池が積層する積層方向である。Y軸は、全固体電池の面方向であって、X軸に対して垂直方向である。電池モジュール1は、ひとつに限らず、複数備えることとしてもよい。
(【0011】以降は省略されています)
この特許をJ-PlatPat(特許庁公式サイト)で参照する
関連特許
日産自動車株式会社
電子機器
1日前
日産自動車株式会社
ロータシャフト
9日前
日産自動車株式会社
ロータシャフト
9日前
日産自動車株式会社
エアレスタイヤ構造
1日前
日産自動車株式会社
情報提供方法及び情報提供装置
1日前
日産自動車株式会社
物体検出方法、及び物体検出装置
14日前
東ソー株式会社
絶縁電線
1か月前
APB株式会社
蓄電セル
28日前
個人
フレキシブル電気化学素子
1か月前
日新イオン機器株式会社
イオン源
1か月前
ローム株式会社
半導体装置
29日前
株式会社ユーシン
操作装置
1か月前
株式会社東芝
端子台
22日前
マクセル株式会社
電源装置
22日前
三菱電機株式会社
回路遮断器
9日前
オムロン株式会社
電磁継電器
1か月前
株式会社GSユアサ
蓄電装置
23日前
株式会社ホロン
冷陰極電子源
1か月前
富士電機株式会社
電磁接触器
1日前
株式会社GSユアサ
蓄電装置
1日前
株式会社GSユアサ
蓄電装置
15日前
太陽誘電株式会社
コイル部品
1か月前
株式会社GSユアサ
蓄電装置
23日前
株式会社GSユアサ
蓄電設備
1か月前
株式会社GSユアサ
蓄電設備
1か月前
トヨタ自動車株式会社
冷却構造
1か月前
北道電設株式会社
配電具カバー
28日前
サクサ株式会社
電池の固定構造
1か月前
日本特殊陶業株式会社
保持装置
14日前
日新イオン機器株式会社
基板処理装置
25日前
トヨタ自動車株式会社
蓄電装置
1か月前
トヨタ自動車株式会社
蓄電装置
23日前
トヨタ自動車株式会社
バッテリ
28日前
日東電工株式会社
積層体
1か月前
ノリタケ株式会社
熱伝導シート
1か月前
日本特殊陶業株式会社
保持装置
1か月前
続きを見る
他の特許を見る