TOP
|
特許
|
意匠
|
商標
特許ウォッチ
Twitter
他の特許を見る
公開番号
2025153149
公報種別
公開特許公報(A)
公開日
2025-10-10
出願番号
2024055466
出願日
2024-03-29
発明の名称
蓄電装置
出願人
トヨタ自動車株式会社
代理人
個人
主分類
H01M
10/04 20060101AFI20251002BHJP(基本的電気素子)
要約
【課題】長寿化を図ることが可能な蓄電装置を提供する。
【解決手段】本開示に係る蓄電装置10は、正極17と負極18とを含む一対の電極と、一対の電極の間に設けられるセパレータ14と、一対の電極とセパレータとを囲むように設けられることによって液体電解質を収容する密閉空間SPを形成するシール部11と、を備え、一対の電極、セパレータ及びシール部の蓄電モジュール12を積層した蓄電装置であって、積層方向からみて、シール部の角部の外周及び内周が面取りされており、シール部の幅が一定である。
【選択図】図1
特許請求の範囲
【請求項1】
正極と負極とを含む一対の電極と、前記一対の電極の間に設けられるセパレータと、前記一対の電極と前記セパレータとを囲むように設けられることによって液体電解質を収容する密閉空間を形成するシール部と、を備え、
前記一対の電極、前記セパレータ及び前記シール部の蓄電モジュールを積層した蓄電装置であって、
前記シール部の角部は、積層方向からみて、外周及び内周が面取りされており、
前記シール部の幅が一定である、
蓄電装置。
発明の詳細な説明
【技術分野】
【0001】
本開示は、蓄電装置に関する。
続きを表示(約 1,300 文字)
【背景技術】
【0002】
特許文献1には、バイポーラ電極とセパレータが交互に積層され、周囲をシール部により溶着した蓄電装置が開示されている。蓄電装置では、バイポーラ電極と、シール部との間には、空間が形成されている。シール部の内周側に位置するバイポーラ電極の集電体には、当該空間を形成するための未塗工部が設けられている。
【先行技術文献】
【特許文献】
【0003】
特開2022-094745号公報
【発明の概要】
【発明が解決しようとする課題】
【0004】
特許文献1に開示された蓄電装置では、蓄電装置の製造及び使用に伴うシール部の体積変化によって、未塗工部に対して、不均一な応力が付加される。そのため、未塗工部が破損し、蓄電装置の長寿化を図ることが困難であった。
【0005】
本開示は、このような事情に鑑みなされたものであって、長寿化を図ることが可能な蓄電装置を提供する。
【課題を解決するための手段】
【0006】
本開示に係る蓄電装置は、
正極と負極とを含む一対の電極と、前記一対の電極の間に設けられるセパレータと、前記一対の電極と前記セパレータとを囲むように設けられることによって液体電解質を収容する密閉空間を形成するシール部と、を備え、
前記一対の電極、前記セパレータ及び前記シール部の蓄電モジュールを積層した蓄電装置であって、
前記シール部の角部は、前記積層方向からみて、外周及び内周が面取りされており、
前記シール部の幅が一定である。
【発明の効果】
【0007】
本開示により長寿化を図ることが可能な蓄電装置を提供できる。
【図面の簡単な説明】
【0008】
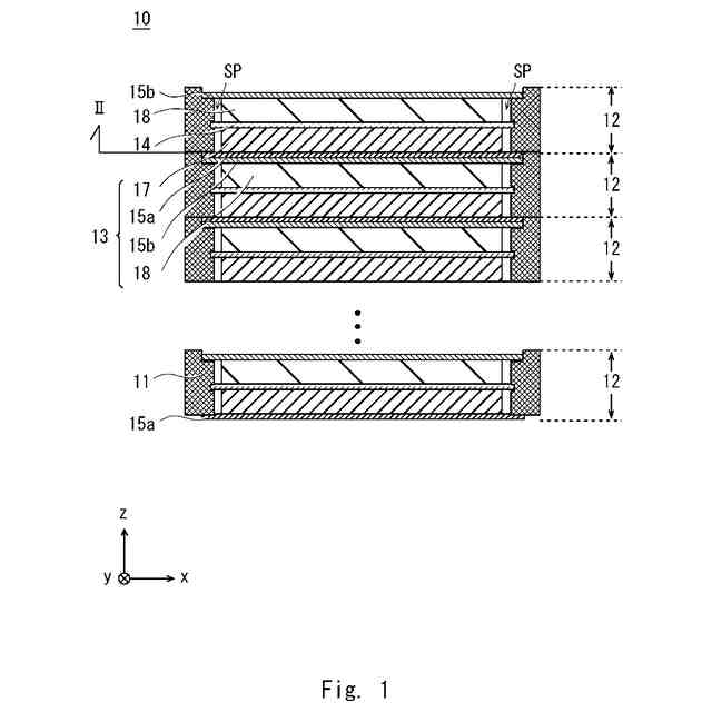
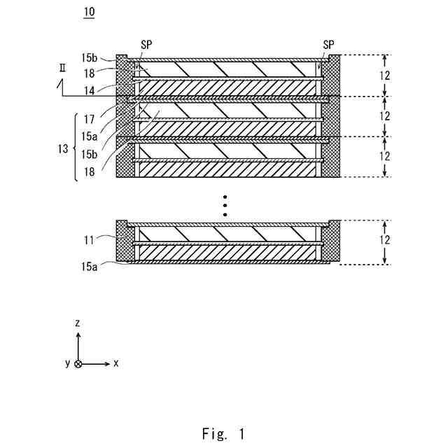
実施形態1に係る蓄電装置の断面図(xz断面図)である。
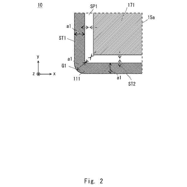
実施形態1に係る蓄電装置の断面図(xy断面図)である。
比較例に係る蓄電装置の断面図(xy断面図)である。
【発明を実施するための形態】
【0009】
以下、図面を参照して本開示の実施の形態について説明する。各図面において、同一又は対応する要素には同一の符号が付されており、説明の明確化のため、必要に応じて重複説明は省略される。また、図面が煩雑にならないように、いくつかの符号は省略されている。
なお、当然のことながら、図面に示した右手系xyz直交座標は、構成要素の位置関係を説明するための便宜的なものである。通常、z軸正向きが鉛直上向き、xy平面が水平面である。
【0010】
(実施形態1)
<蓄電装置の構成>
まず、図1を参照しながら、蓄電装置の構成の一例について説明する。図1は、蓄電装置の断面図(xz断面図)である。図1は、蓄電装置の放充電に関する部位だけを図示しており、拘束板などの部材は省略している。蓄電装置10は、例えば、リチウムイオン二次電池等の二次電池である。蓄電装置10は、例えば、フォークリフト、ハイブリッド自動車、及び電気自動車等の各種車両のバッテリとして用いられる。
(【0011】以降は省略されています)
この特許をJ-PlatPat(特許庁公式サイト)で参照する
関連特許
トヨタ自動車株式会社
配管
11日前
トヨタ自動車株式会社
方法
24日前
トヨタ自動車株式会社
車両
10日前
トヨタ自動車株式会社
車両
25日前
トヨタ自動車株式会社
電池
2日前
トヨタ自動車株式会社
電池
2日前
トヨタ自動車株式会社
電池
25日前
トヨタ自動車株式会社
車両
24日前
トヨタ自動車株式会社
電池
10日前
トヨタ自動車株式会社
車両
11日前
トヨタ自動車株式会社
車体
24日前
トヨタ自動車株式会社
車両
24日前
トヨタ自動車株式会社
電池
16日前
トヨタ自動車株式会社
電動車
11日前
トヨタ自動車株式会社
モータ
23日前
トヨタ自動車株式会社
蓄電池
24日前
トヨタ自動車株式会社
ロータ
11日前
トヨタ自動車株式会社
電動車
10日前
トヨタ自動車株式会社
製造設備
16日前
トヨタ自動車株式会社
蓄電装置
10日前
トヨタ自動車株式会社
蓄電装置
10日前
トヨタ自動車株式会社
濾過装置
25日前
トヨタ自動車株式会社
電動車両
23日前
トヨタ自動車株式会社
反応容器
10日前
トヨタ自動車株式会社
路側装置
23日前
トヨタ自動車株式会社
制御装置
10日前
トヨタ自動車株式会社
蓄電装置
3日前
トヨタ自動車株式会社
判定装置
10日前
トヨタ自動車株式会社
蓄電装置
3日前
トヨタ自動車株式会社
制御装置
23日前
トヨタ自動車株式会社
蓄電装置
2日前
トヨタ自動車株式会社
蓄電装置
2日前
トヨタ自動車株式会社
蓄電装置
2日前
トヨタ自動車株式会社
処理装置
2日前
トヨタ自動車株式会社
制御装置
2日前
トヨタ自動車株式会社
蓄電装置
2日前
続きを見る
他の特許を見る