TOP
|
特許
|
意匠
|
商標
特許ウォッチ
Twitter
他の特許を見る
公開番号
2025146448
公報種別
公開特許公報(A)
公開日
2025-10-03
出願番号
2024047221
出願日
2024-03-22
発明の名称
シフト機構
出願人
トヨタ自動車株式会社
代理人
弁理士法人酒井国際特許事務所
主分類
F16H
63/32 20060101AFI20250926BHJP(機械要素または単位;機械または装置の効果的機能を生じ維持するための一般的手段)
要約
【課題】製造性を損なうことなく、かつ小型化を図ることができるシフト機構を提供すること。
【解決手段】シフト機構は、シフトフォークと、シフトフォークシャフトと、カムフォロアと、を備え、カムフォロアが、大径部と小径部とを有し、カムフォロアとシフトフォークとが、大径部において締り嵌めにより固定され、カムフォロアとシフトフォークシャフトとが、小径部において隙間嵌めにより固定される。
【選択図】図2
特許請求の範囲
【請求項1】
シフトフォークと、
シフトフォークシャフトと、
カムフォロアと、
を備え、
前記カムフォロアは、大径部と小径部とを有し、
前記カムフォロアと前記シフトフォークとは、前記大径部において締り嵌めにより固定され、
前記カムフォロアと前記シフトフォークシャフトとは、前記小径部において隙間嵌めにより固定される、
シフト機構。
発明の詳細な説明
【技術分野】
【0001】
本開示は、シフト機構に関する。
続きを表示(約 1,200 文字)
【背景技術】
【0002】
特許文献1には、シフトフォークがシフトフォークシャフトに固定されており、かつシフトフォークとカムフォロアとが一体的に形成されたシフト機構が開示されている。
【先行技術文献】
【特許文献】
【0003】
特開2002-054736号公報
【発明の概要】
【発明が解決しようとする課題】
【0004】
特許文献1で開示されたシフト機構は、シフトフォークとカムフォロアとが一体的に形成されているため、製造性に問題がある。また、シフトフォークとカムフォロアとを一体的に形成しない場合、例えば「カムフォロアとシフトフォークとの固定」と、「シフトフォークとシフトフォークシャフトとの固定」とを、シフトフォークシャフト軸上の二か所で行う必要がある。そのため、占有スペースが大きくなり、シフト機構の体格が大きくなる。
【0005】
本開示は、上記に鑑みてなされたものであって、製造性を損なうことなく、かつ小型化を図ることができるシフト機構を提供することを目的とする。
【課題を解決するための手段】
【0006】
本開示に係るシフト機構は、シフトフォークと、シフトフォークシャフトと、カムフォロアと、を備え、前記カムフォロアが、大径部と小径部とを有し、前記カムフォロアと前記シフトフォークとが、前記大径部において締り嵌めにより固定され、前記カムフォロアと前記シフトフォークシャフトとが、前記小径部において隙間嵌めにより固定される。
【発明の効果】
【0007】
本開示によれば、製造性を損なうことなく、かつ小型化を図ることができる。
【図面の簡単な説明】
【0008】
図1は、実施形態に係るシフト機構の構成を示す断面図である。
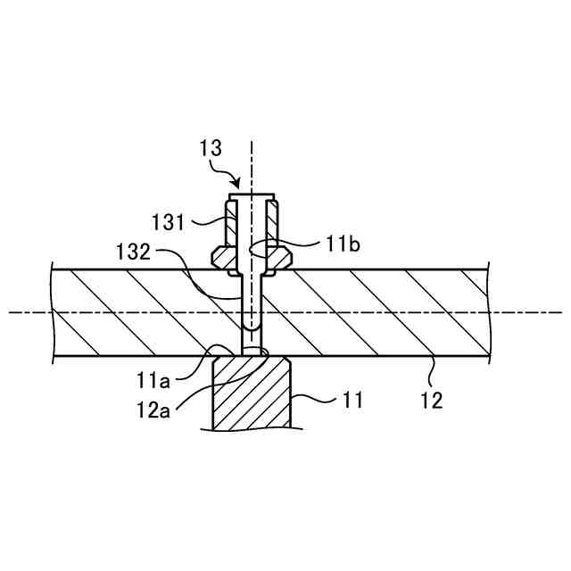
図2は、実施形態に係るシフト機構の構成を示す断面図であり、図1のカムフォロア周辺を拡大した図である。
図3は、実施形態に係るシフト機構の変形例の構成を示す断面図である。
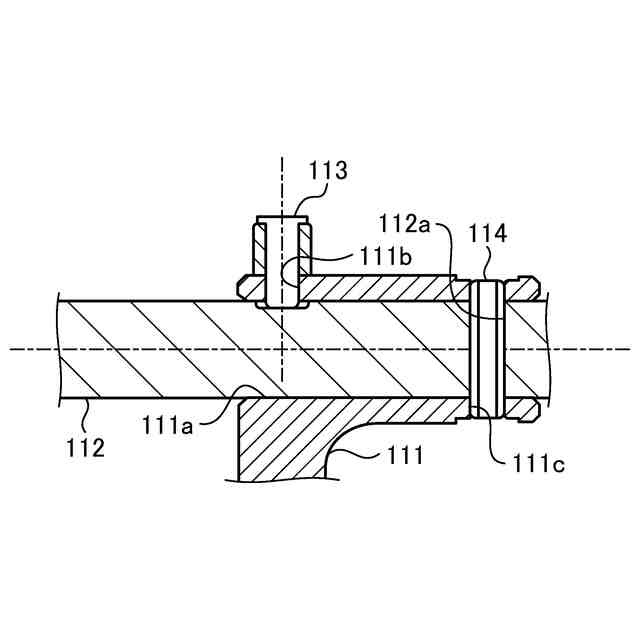
図4は、従来のシフト機構の構成を示す断面図である。
図5は、従来のシフト機構の構成を示す断面図であり、図4のカムフォロア周辺を拡大した図である。
【発明を実施するための形態】
【0009】
本開示の実施形態に係るシフト機構について、図面を参照しながら説明する。なお、下記実施形態における構成要素には、当業者が置換可能かつ容易なもの、あるいは実質的に同一のものが含まれる。
【0010】
実施形態に係るシフト機構は、車両の変速機(トランスミッション)に用いられる機構である。シフト機構1は、図1に示すように、シフトフォーク11と、シフトフォークシャフト12と、カムフォロア13と、を備えている。
(【0011】以降は省略されています)
この特許をJ-PlatPat(特許庁公式サイト)で参照する
関連特許
個人
留め具
1日前
個人
鍋虫ねじ
1か月前
個人
紛体用仕切弁
1か月前
個人
ホース保持具
6か月前
個人
回転伝達機構
2か月前
個人
差動歯車用歯形
3か月前
個人
ジョイント
26日前
個人
給排気装置
8日前
株式会社不二工機
電磁弁
3か月前
個人
ナット
27日前
株式会社不二工機
電磁弁
5か月前
個人
地震の揺れ回避装置
2か月前
個人
吐出量監視装置
1か月前
カヤバ株式会社
緩衝器
3か月前
柿沼金属精機株式会社
分岐管
2か月前
カヤバ株式会社
ダンパ
3か月前
カヤバ株式会社
ダンパ
3か月前
カヤバ株式会社
緩衝器
7日前
カヤバ株式会社
緩衝器
3か月前
個人
固着具と固着具の固定方法
4か月前
株式会社ノーリツ
分配弁
5か月前
株式会社不二工機
電磁弁
1か月前
株式会社ノーリツ
分配弁
5か月前
株式会社フジキン
ボールバルブ
4か月前
個人
固着具と固着具の固定方法
4か月前
株式会社タカギ
水栓装置
2か月前
株式会社ニフコ
クリップ
12日前
株式会社ノーリツ
分配弁
5か月前
株式会社奥村組
制振機構
16日前
株式会社奥村組
制振機構
16日前
個人
固着具と固着具の固定方法
4か月前
株式会社不二工機
電動弁
8日前
株式会社ノーリツ
分配弁
12日前
アズビル株式会社
回転弁
20日前
日東電工株式会社
断熱材
6か月前
株式会社不二越
転がり軸受
1か月前
続きを見る
他の特許を見る