TOP
|
特許
|
意匠
|
商標
特許ウォッチ
Twitter
他の特許を見る
10個以上の画像は省略されています。
公開番号
2025145945
公報種別
公開特許公報(A)
公開日
2025-10-03
出願番号
2024046471
出願日
2024-03-22
発明の名称
分配弁
出願人
株式会社ノーリツ
代理人
個人
主分類
F16K
3/26 20060101AFI20250926BHJP(機械要素または単位;機械または装置の効果的機能を生じ維持するための一般的手段)
要約
【課題】閉止機能に起因するシール部材の摩耗を抑制することができる分配弁を提供すること。
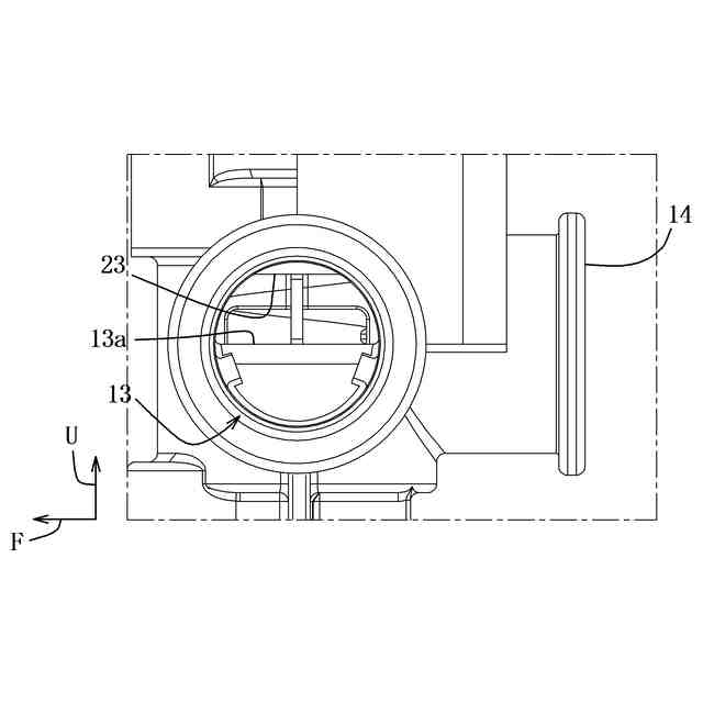
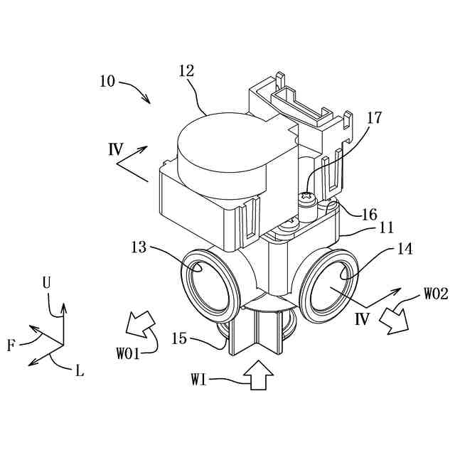
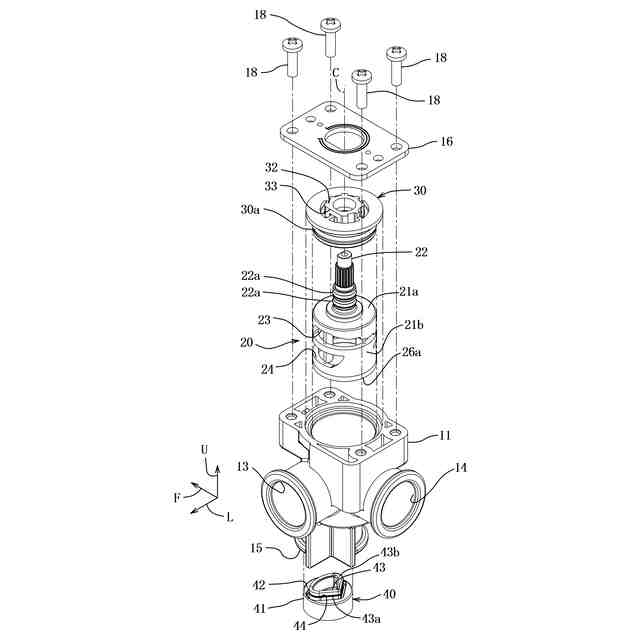
【解決手段】第1、第2導出口(13,14)と導入口(15)を有する弁本体(11)と、弁本体に回動可能に嵌挿された円筒状の弁体(20)と、弁体を回動させる駆動手段(12)とを備え、弁体は、第1、第2導出口を閉塞するシール面部として機能する周壁部(21b)と、導入口を閉塞するシール面部として機能する底面部(26a)を有し、弁体の回動により第1、第2導出口の開口面積を変化させる第1、第2開口部(23,24)が周壁部に形成され、弁体の回動により導入口の開口面積を変化させる第3開口部(27)が底面部に形成され、導入口からの流体を第1、第2導出口に分配する分配弁(10)において、底面部に密着させるリップ部(43)を有するシール部材(40)が導入口に嵌挿され、リップ部は、弁体の回動により導入口の開口面積がゼロとなる直前に第3開口部に臨む部分が他の部分よりも厚い増厚部(43b)を有する。
【選択図】図3
特許請求の範囲
【請求項1】
第1導出口と第2導出口と導入口を有する弁本体と、前記弁本体に回動可能に嵌挿された円筒状の弁体と、前記弁体の天面部から延びる弁軸を介して前記弁体を回動させる駆動手段とを備え、前記弁体が、前記第1導出口と前記第2導出口を閉塞するシール面部として機能する周壁部及び前記導入口を閉塞するシール面部として機能する底面部を有し、前記周壁部には前記弁体の回動によって前記第1導出口の開口面積と前記第2導出口の開口面積を連続的に変化させる第1開口部と第2開口部が形成され、前記底面部には前記弁体の回動によって前記導入口の開口面積を所定の範囲内で変化させる第3開口部が形成され、前記導入口から前記弁体内に流入する流体を前記第1導出口と前記第2導出口に分配する分配弁において、
前記導入口には、前記底面部に密着させるためのリップ部を有するシール部材が嵌挿され、
前記リップ部は、前記弁体の回動によって前記導入口の開口面積がゼロとなる直前に前記第3開口部に臨む部分が、他の部分よりも厚く形成された増厚部を有することを特徴とする分配弁。
続きを表示(約 220 文字)
【請求項2】
前記シール部材は、前記弁体の軸方向に揺動可能であり、前記導入口に作用する流体の供給圧によって前記弁体に向かって押圧されて前記リップ部が前記底面部に密着するように構成されたことを特徴とする請求項1に記載の分配弁。
【請求項3】
前記底面部は、前記導入口の開口面積が最小となる際に前記増厚部に当接させるために、前記第3開口部を分割するように周方向に延びる桟を有することを特徴とする請求項1又は2に記載の分配弁。
発明の詳細な説明
【技術分野】
【0001】
本発明は、流体を分配制御する分配弁に関し、特に流体の分配比率の調整機能と総流量を調整する流量調整機能と総流量をゼロにする閉止機能を備えた分配弁に関する。
続きを表示(約 1,500 文字)
【背景技術】
【0002】
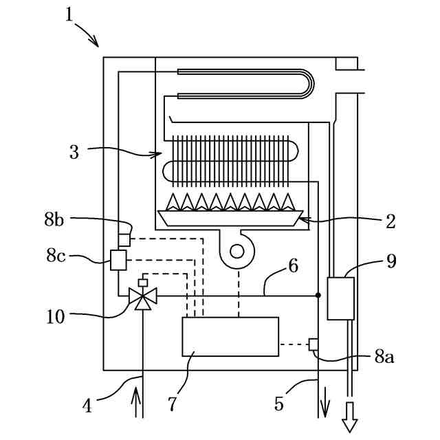
従来から、例えば燃焼熱を利用する加熱部で低温の上水を加熱し、この加熱した高温水と上水とを混合することにより温度調整して給湯する給湯装置が利用されている。給湯装置は、加熱部における加熱能力を制御して高温水の温度を調整すると共に、高温水と上水の混合比を調整して給湯の温度を調整する。
【0003】
例えば特許文献1には、周壁に開口を有すると共に底部が開放された円筒状の弁体と、この弁体を回動可能に収容する弁本体とを有する混合弁が記載されている。弁本体には、弁体の周壁に対応する部位に例えば水と湯のような2つの流体の導入口が形成され、弁体の底部に対応する部位に導出口が形成されている。
【0004】
特許文献1の混合弁は、弁体の回動によって2つの導入口に対する周壁の開口面積を変更して、2つの導入口から導入される流体の混合比率を調整する。このような混合弁は、給湯装置において、加熱された高温水と非加熱の上水とを混合する混合弁として適用可能である。
【0005】
給湯装置には、供給される上水を分配弁によって、加熱部と、この加熱部をバイパスするバイパス通路とに分配し、加熱部で加熱された高温水とバイパス通路の非加熱の上水を混合して給湯するタイプのものがある。このような給湯装置では、分配弁における分配比の調整により高温水と上水の混合比率が調整される。例えば特許文献1の混合弁は、導出口を上水の導入口とし、2つの導入口を上水の2つの導出口として使用することによって、即ち流体の流動方向を逆にして分配弁として使用することが可能である。
【0006】
分配弁を有するタイプの給湯装置において、例えば5℃程度の低温の上水を加熱して60℃程度の高温の給湯を行う際に、給湯の流量が大きいため加熱能力が不足する場合がある。このような場合、上水を全て加熱部に供給すると共に、給湯装置に供給される上水の流量を減少させることによって、総流量は減少するが設定された温度の給湯を行う。
【0007】
しかし、特許文献1の混合弁又はこの混合弁の流通方向を逆にした分配弁は、混合された湯水の総流量を調整する機能や、総流量をゼロにする閉止機能を備えていない。そのため、混合弁又は分配弁を使用して高温水と低温水を混合する給湯装置では、給湯装置の給水口に閉止機能を有する開閉弁を配設し、混合弁又は分配弁の下流側に配設した流量調整弁によって総流量を調整することが一般的である。
【0008】
一方、本出願人は流量調整機能と閉止機能を備えた分配弁を既に提案している(例えば特願2023-181621号)。この分配弁は、2つの導出口に対応する開口部が形成された周壁部と導入口に対応する開口部が形成された底面部とを備えた円筒状の弁体を有する。そして弁体の回動によって、2つの導出口の開口面積を変化させると共に導入口の開口面積を変化させて分配比率と総流量を調整し、分配比率の調整機能と流量調整機能と閉止機能を実現している。
【0009】
このとき、流体のリークを防ぐために、回動する弁体の底面部にシール部材を密着させてシールする必要がある。シール部材は、例えば特許文献2のパッキンのように筒状に形成され、筒状のシール部材内を流通した上水が底面部の開口から弁体内に導入される。
【先行技術文献】
【特許文献】
【0010】
特許第4933855号公報
実開平02-031963号公報
【発明の概要】
【発明が解決しようとする課題】
(【0011】以降は省略されています)
この特許をJ-PlatPat(特許庁公式サイト)で参照する
関連特許
株式会社ノーリツ
分配弁
1か月前
株式会社ノーリツ
温水装置
21日前
株式会社ノーリツ
温水装置
16日前
株式会社ノーリツ
ふろ装置
今日
株式会社ノーリツ
給湯装置
28日前
株式会社ノーリツ
貯湯式熱源器
1日前
株式会社ノーリツ
貯湯給湯装置
1日前
株式会社ノーリツ
貯湯給湯装置
2日前
株式会社ノーリツ
貯湯給湯装置
2日前
株式会社ノーリツ
電解水生成装置
2か月前
株式会社ノーリツ
ロータリ圧縮機
2か月前
株式会社ノーリツ
浴室除菌システム
10日前
株式会社ノーリツ
住設機器の取付構造
1か月前
株式会社ノーリツ
住設機器の取付構造
1か月前
株式会社ノーリツ
ヒートポンプ給湯装置
28日前
株式会社ノーリツ
入浴システムおよびプログラム
今日
株式会社ノーリツ
風呂システムおよび排水栓用駆動装置
1か月前
個人
留め具
24日前
個人
鍋虫ねじ
2か月前
個人
ホース保持具
6か月前
個人
紛体用仕切弁
2か月前
個人
回転伝達機構
3か月前
個人
トーションバー
7か月前
個人
差動歯車用歯形
4か月前
個人
ジョイント
1か月前
個人
給排気装置
1か月前
個人
ナット
2日前
個人
地震の揺れ回避装置
3か月前
株式会社不二工機
電磁弁
4か月前
個人
ボルトナットセット
7か月前
個人
ナット
1か月前
株式会社不二工機
電磁弁
5か月前
個人
吐出量監視装置
2か月前
柿沼金属精機株式会社
分岐管
2か月前
カヤバ株式会社
ダンパ
4か月前
株式会社三協丸筒
枠体
7か月前
続きを見る
他の特許を見る