TOP
|
特許
|
意匠
|
商標
特許ウォッチ
Twitter
他の特許を見る
公開番号
2025145947
公報種別
公開特許公報(A)
公開日
2025-10-03
出願番号
2024046473
出願日
2024-03-22
発明の名称
住設機器の取付構造
出願人
株式会社ノーリツ
代理人
個人
主分類
F24H
9/02 20060101AFI20250926BHJP(加熱;レンジ;換気)
要約
【課題】パイプシャフトに住設機器を容易に設置することができる住設機器の取付構造を提供すること。
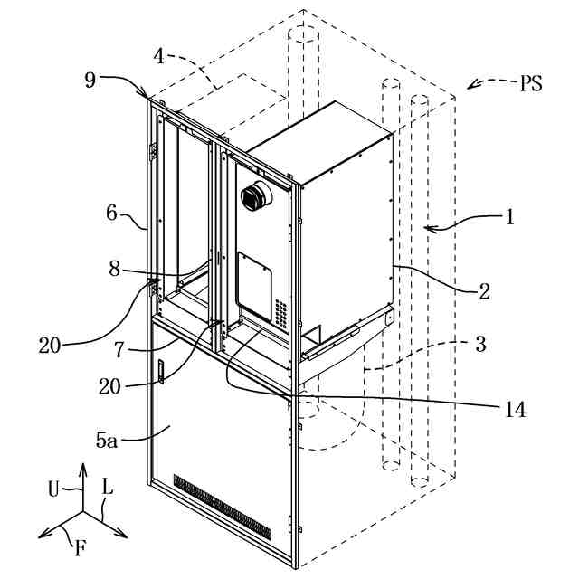
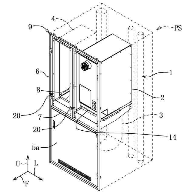
【解決手段】集合住宅のパイプシャフト(PS)に設置された開口部金枠(9)に取付金具(20)を介してケース(10)を有する住設機器(2)を固定する住設機器の取付構造において、取付金具は、開口部金枠に固定される矩形筒状の枠部材(21)と、ケースの底部を支持するために枠部材の下端部からパイプシャフトの内方に延びて枠部材の下面部より上方に位置する上面部を有する左右一対の支持部材(23)と、支持部材の端部を連結する補強部材(24)を有し、支持部材は、ケースの底部を支持しながら住設機器をスライド移動可能に構成され、住設機器のケースは、底部に支持部材に載置するための載置部(10a)と、外部の配管との接続用の接続金具(12a,12b)が配設された配管接続部(10c)を有し、配管接続部は、接続金具の下端が載置部よりも上方に位置するように、載置部よりも上方に位置する。
【選択図】図1
特許請求の範囲
【請求項1】
集合住宅のパイプシャフトに設置された開口部金枠に取付金具を介して箱状のケースを有する住設機器を固定する住設機器の取付構造において、
前記取付金具は、前記開口部金枠に固定される矩形筒状の枠部材と、前記ケースの底部を支持するために前記枠部材の下端部から前記パイプシャフトの内方に夫々延びて前記枠部材の下面部より上方に位置する上面部を有する左右一対の支持部材と、これら支持部材の端部を連結する補強部材を有し、
前記支持部材は、載置された前記住設機器の前記底部を支持しながらこの住設機器をスライド移動可能に構成され、
前記住設機器は、前記底部に、前記支持部材に載置するための載置部と、外部の配管と接続するための接続金具が配設された配管接続部とを有し、
前記配管接続部は、前記接続金具の下端が前記載置部よりも上方に位置するように、前記載置部よりも上方に位置することことを特徴とする住設機器の取付構造。
続きを表示(約 160 文字)
【請求項2】
前記配管接続部は、前記ケースの底部の前側部分を上方に凹入させて形成されたことを特徴とする請求項1に記載の住設機器の取付構造。
【請求項3】
前記載置部は、前記接続金具の下端よりも下方まで延びた前記ケースの左側板と右側板の下端部に形成されたことを特徴とする請求項1に記載の住設機器の取付構造。
発明の詳細な説明
【技術分野】
【0001】
本発明は、集合住宅のパイプシャフトに設置される住設機器の取付構造に関する。
続きを表示(約 1,800 文字)
【背景技術】
【0002】
集合住宅には、一般的に上下方向に通る水道管やガス管の収容スペースとしてパイプシャフトが設けられている。このパイプシャフトの開口部には、開閉可能な扉又はパネルを支持する開口部金枠が設置され、この開口部金枠に例えばガス給湯器のような住設機器を固定することが一般的である。一般的な家庭用のガス給湯器は小型なので、パイプシャフトの開口部金枠に固定することは比較的容易である。
【0003】
近年、住設機器として例えばヒートポンプ給湯装置や燃料電池の排熱を利用する給湯装置のように、燃焼式の給湯装置よりもエネルギー効率に優れた高効率給湯装置をパイプシャフトに設置することが求められている。高効率給湯装置は、ガス給湯器よりも構成が複雑で大型であるため、複数の機能ユニットに分けてパイプシャフトに設置される。
【0004】
高効率給湯装置の複数の機能ユニットは、開口部金枠に固定できるように幅(左右方向の長さ)が狭められているので、奥行(前後方向の長さ)を大きくすることにより機能部品の搭載に必要なサイズを確保している。これら機能ユニットは、ガス給湯器よりも大きく且つ重い場合が多く、奥行が大きくなったので機能ユニットの重心がガス給湯器と比べて後方になる。それ故、耐震性向上のために、例えば特許文献1のように、奥行方向に延びて機能ユニットを支持する支持部材が固定された枠体(開口部金枠)に、取付枠(取付金具)を介して固定している。
【先行技術文献】
【特許文献】
【0005】
特開2023-079874号公報
【発明の概要】
【発明が解決しようとする課題】
【0006】
特許文献1では機能ユニットを開口部金枠に固定する際に、開口部金枠に取付けた取付金具に、持ち上げた機能ユニットをバイプシャフト内方に向けて固定する位置まで挿入して支持部材に載置し、機能ユニットを取付金具にビス固定する。機能ユニットが支持部材に支持されているので、ビス固定の作業が容易である。
【0007】
しかし、機能ユニットの底部には複数の配管の接続金具が下方に突出するように配設されているので、これら接続金具が取付金具と干渉しないように挿入する必要がある。このとき、通常、重量物である機能ユニットをパイプシャフトの外側で持ち上げるので、持ち上げた機能ユニットを固定する固定位置まで挿入することは容易ではない。それ故、住設機器を設置する作業負担が大きいため改善が求められていた。
【0008】
そこで、本発明は、パイプシャフトに住設機器を容易に設置することができる住設機器の取付構造を提供することを目的としている。
【課題を解決するための手段】
【0009】
請求項1の発明の住設機器の取付構造は、集合住宅のパイプシャフトに設置された開口部金枠に取付金具を介して箱状のケースを有する住設機器を固定する住設機器の取付構造において、前記取付金具は、前記開口部金枠に固定される矩形筒状の枠部材と、前記ケースの底部を支持するために前記枠部材の下端部から前記パイプシャフトの内方に夫々延びて前記枠部材の下面部より上方に位置する上面部を有する左右一対の支持部材と、これら支持部材の端部を連結する補強部材を有し、前記支持部材は、載置された前記住設機器の前記底部を支持しながらこの住設機器をスライド移動可能に構成され、前記住設機器は、前記底部に、前記支持部材に載置するための載置部と、外部の配管と接続するための接続金具が配設された配管接続部とを有し、前記配管接続部は、前記接続金具の下端が前記載置部よりも上方に位置するように、前記載置部よりも上方に位置することを特徴としている。
【0010】
上記構成によれば、住設機器をパイプシャフトに設置する際、開口部金枠に固定された矩形筒状の枠部材に住設機器を挿入し、その載置部を支持部材に載置する。住設機器は、載置部よりも上方に位置する配管接続部を備えており、配管接続部に配設された接続金具の下端が載置部よりも上方に位置する。それ故、載置部が支持部材に載置された状態で、配管接続部の接続金具と枠部材とが干渉しないので、住設機器を固定位置まで容易に移動させることができ、作業負担が軽減される。
(【0011】以降は省略されています)
この特許をJ-PlatPat(特許庁公式サイト)で参照する
関連特許
株式会社ノーリツ
ふろ装置
23日前
株式会社ノーリツ
温水装置
1か月前
株式会社ノーリツ
温水装置
1か月前
株式会社ノーリツ
給湯装置
1か月前
株式会社ノーリツ
貯湯式熱源器
24日前
株式会社ノーリツ
貯湯給湯装置
24日前
株式会社ノーリツ
貯湯給湯装置
25日前
株式会社ノーリツ
貯湯給湯装置
25日前
株式会社ノーリツ
浴室除菌システム
1か月前
株式会社ノーリツ
住設機器の取付構造
1か月前
株式会社ノーリツ
ヒートポンプ給湯装置
1か月前
株式会社ノーリツ
入浴システムおよびプログラム
23日前
個人
集熱器具
23日前
株式会社トヨトミ
五徳
1か月前
株式会社コロナ
加湿装置
2か月前
株式会社コロナ
給湯装置
4か月前
株式会社コロナ
空調装置
2か月前
株式会社コロナ
空調装置
1か月前
個人
油ハネ防止カーテン
26日前
株式会社コロナ
空調装置
1か月前
株式会社コロナ
空調装置
1か月前
株式会社コロナ
空調装置
2か月前
株式会社コロナ
空調装置
3か月前
個人
UFO型空気清浄機
11日前
個人
住宅換気空調システム
3か月前
個人
太陽光パネル傾斜装置
1か月前
株式会社コロナ
風呂給湯機
2か月前
株式会社コロナ
空気調和機
4か月前
株式会社コロナ
空気調和機
3か月前
ホーコス株式会社
排気フード
3か月前
個人
シンプルクーラー
1か月前
株式会社コロナ
温水暖房装置
1か月前
株式会社コロナ
貯湯式給湯機
1か月前
株式会社コロナ
暖房システム
2か月前
株式会社コロナ
貯湯式給湯機
2か月前
株式会社コロナ
直圧式給湯機
3か月前
続きを見る
他の特許を見る