TOP
|
特許
|
意匠
|
商標
特許ウォッチ
Twitter
他の特許を見る
公開番号
2025167087
公報種別
公開特許公報(A)
公開日
2025-11-07
出願番号
2024071374
出願日
2024-04-25
発明の名称
集熱器具
出願人
個人
代理人
個人
主分類
F24C
15/10 20060101AFI20251030BHJP(加熱;レンジ;換気)
要約
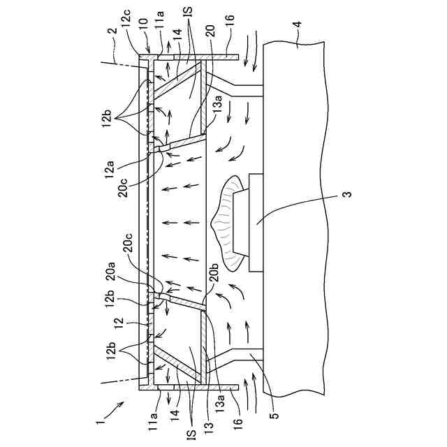
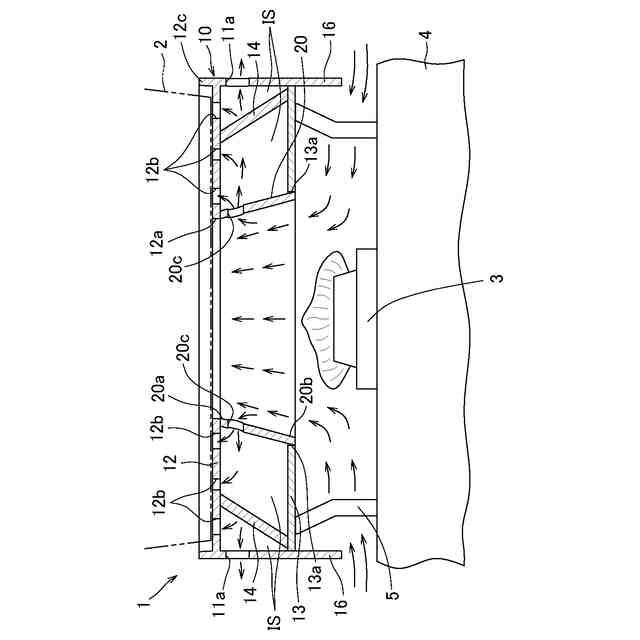
【課題】バーナーからの熱が十分に加熱対象物の加熱に供され、十分な加熱効率の向上が図れる集熱器具を提供する。
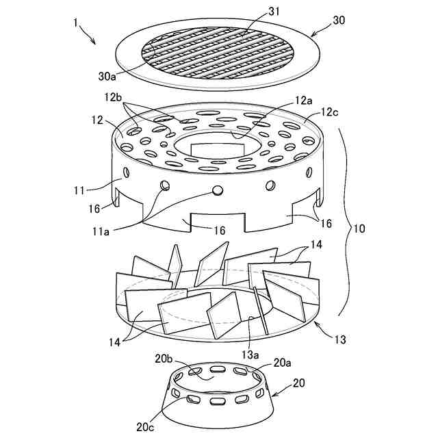
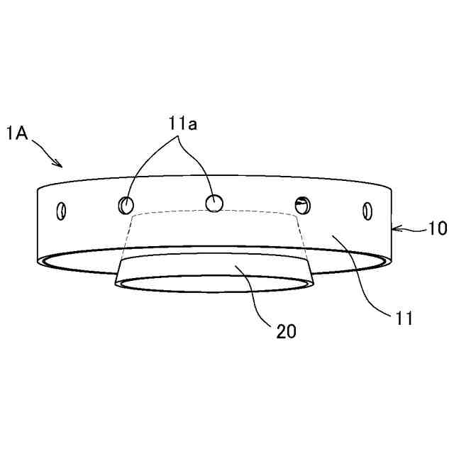
【解決手段】集熱器具1は、排出穴11aが形成された筒体11と、筒体11の上部に配置され、加熱対象物2が載置される天板12と、筒体11の下部に配置され、取付用開口部13aが形成された底板13とを有し、筒体11、天板12及び底板13によって内部空間ISが構成され、内部空間ISに整流板14が設けられた外部集熱体10と、筒体形状を有して、外部集熱体10の取付用開口部13aに嵌め込まれ、下面側の開口部20bがガスバーナー3で加熱された空気を吸い込み、吸い込んだ空気を外部集熱体10の内部空間ISに送り込む内部集熱体20とを備える。
【選択図】図2
特許請求の範囲
【請求項1】
排出穴が形成された筒体と、前記筒体の上部に配置され、加熱対象物が載置される天板と、前記筒体の下部に配置され、取付用開口部が形成された底板とを有し、前記筒体、前記天板及び前記底板によって内部空間が構成され、前記内部空間に整流板が設けられた外部集熱体と、
筒体形状を有して、前記外部集熱体の前記取付用開口部に嵌め込まれ、下面側の開口部より吸い込んだ加熱空気を前記外部集熱体の前記内部空間に送り込む内部集熱体とを備えたことを特徴とする集熱器具。
続きを表示(約 470 文字)
【請求項2】
前記整流板は、前記取付用開口部の周縁から前記筒体の内周面に向かって放射状に延びていることを特徴とする、請求項1に記載の集熱器具。
【請求項3】
前記整流板は、前記底板の垂直方向に対し斜めに傾斜していることを特徴とする、請求項1又は2に記載の集熱器具。
【請求項4】
前記整流板は、半径方向に対し斜めに傾斜する向きに延びていることを特徴とする、請求項1又は2に記載の集熱器具。
【請求項5】
前記整流板は、その下端面が前記底板に、その上端面が前記天板にそれぞれ当接していることを特徴とする、請求項1又は2に記載の集熱器具。
【請求項6】
前記内部集熱体は、円錐形状を有し、小径部が前記内部空間に、大径部が前記底板の下面より少なくとも下方に位置していることを特徴とする、請求項1又は2に記載の集熱器具。
【請求項7】
前記天板には、開口部が設けられ、前記開口部には格子状の金属部材が架設されていることを特徴とする、請求項1又は2に記載の集熱器具。
発明の詳細な説明
【技術分野】
【0001】
本発明は、バーナー等で加熱された空気を用いて加熱対象物を加熱する集熱器具に関する。
続きを表示(約 1,300 文字)
【背景技術】
【0002】
従来より、ガスコンロ、ガスレンジ等においては、ガスバーナーの周囲を囲むようにフレームから成る五徳が配置され、この五徳の上に鍋、やかん等の加熱対象物を載置していた。しかし、ガスバーナーの周囲は五徳を除いて開放空間が広がっているので、ガスバーナーで加熱された空気は、加熱対象物の加熱に供されることなく外部に容易に発散されるため、加熱効率が悪かった。
【0003】
これを解決するために次のような五徳が提案されている。五徳は、ガスバーナーが突出するバーナー用開口部を有し、レンジ台に配置される遮蔽壁と、遮蔽壁の下面に突設され、ガスバーナーを覆うスカート部と、遮蔽壁の上面に突設され、ガスバーナー用開口部の周縁より遮蔽壁の外縁周に向かって放射状に延びる多数の放射状フィンとを備えている。放射状フィンの上に加熱対象物を載置して加熱する。
【0004】
この五徳によれば、ガスバーナーで加熱された空気の大半は、加熱対象物の底面と遮蔽壁と放射状フィンの間に形成される隙間を中心側から外側に向かって流れる。そのため、加熱対象物の底面が加熱された空気に直接に加熱されると共に、加熱空気によって加熱された放射状フィンによっても加熱されるため、加熱効率の向上が図られる(特許文献1参照)。
【先行技術文献】
【特許文献】
【0005】
実開昭59-170106号公報
実開昭59-158906号公報
実開昭57-91006号公報
【発明の概要】
【発明が解決しようとする課題】
【0006】
しかしながら、前記従来例では、加熱された空気が加熱対象物の底面と遮蔽壁と放射状フィンの間に形成される隙間を通ると直ちに外部に発散される。そのため、加熱空気が熱交換する距離が短く、加熱空気の熱が十分に熱交換されず、十分な加熱効率の向上が図れない。
【0007】
又、放射状フィンが外部に開放されているため、放射状フィンが外部空気で冷却され、この観点からも十分な加熱効率の向上が図れていない。
【0008】
本発明は、バーナーからの熱が十分に加熱対象物の加熱に供され、十分な加熱効率の向上が図れる集熱器具を提供することを目的とする。
【課題を解決するための手段】
【0009】
本発明は、以上の問題に鑑みてなされたもので、(1)排出穴が形成された筒体と、前記筒体の上部に配置され、加熱対象物が載置される天板と、前記筒体の下部に配置され、取付用開口部が形成された底板とを有し、前記筒体、前記天板及び前記底板によって内部空間が構成され、前記内部空間に整流板が設けられた外部集熱体と、筒体形状を有して、前記外部集熱体の前記取付用開口部に嵌め込まれ、下面側の開口部より吸い込んだ加熱空気を前記外部集熱体の前記内部空間に送り込む内部集熱体とを備えたことを特徴とする。
【0010】
(2)上記(1)において、前記整流板は、前記取付用開口部の周縁から前記筒体の内周面に向かって放射状に延びていることを特徴とする。
(【0011】以降は省略されています)
この特許をJ-PlatPat(特許庁公式サイト)で参照する
関連特許
個人
集熱器具
28日前
株式会社トヨトミ
五徳
1か月前
個人
油ハネ防止カーテン
1か月前
株式会社コロナ
空調装置
3か月前
株式会社コロナ
空調装置
2か月前
株式会社コロナ
空調装置
1か月前
個人
UFO型空気清浄機
16日前
株式会社コロナ
空調装置
1か月前
株式会社コロナ
加湿装置
2か月前
株式会社コロナ
空調装置
1か月前
株式会社コロナ
給湯装置
4か月前
株式会社コロナ
空調装置
2か月前
株式会社コロナ
空気調和機
4か月前
個人
住宅換気空調システム
3か月前
株式会社コロナ
風呂給湯機
2か月前
個人
太陽光パネル傾斜装置
1か月前
株式会社コロナ
空気調和機
3か月前
株式会社コロナ
温水暖房装置
1か月前
ホーコス株式会社
排気フード
4か月前
株式会社パロマ
給湯器
4か月前
株式会社コロナ
直圧式給湯機
3か月前
株式会社コロナ
貯湯式給湯機
2か月前
株式会社コロナ
暖房システム
2か月前
個人
シンプルクーラー
1か月前
株式会社コロナ
貯湯式給湯機
2か月前
ホーコス株式会社
換気扇取付枠
2か月前
三菱電機株式会社
換気扇
1か月前
三菱電機株式会社
換気扇
1か月前
三菱電機株式会社
換気扇
8日前
株式会社コロナ
輻射式冷房装置
3か月前
三菱電機株式会社
換気扇
1か月前
株式会社コロナ
開放式燃焼暖房機
4か月前
株式会社パロマ
給湯暖房機
4か月前
株式会社パロマ
給湯暖房機
4か月前
三菱電機株式会社
送風装置
4か月前
株式会社パロマ
給湯暖房機
4か月前
続きを見る
他の特許を見る