TOP
|
特許
|
意匠
|
商標
特許ウォッチ
Twitter
他の特許を見る
公開番号
2025161216
公報種別
公開特許公報(A)
公開日
2025-10-24
出願番号
2024064220
出願日
2024-04-11
発明の名称
温水暖房装置
出願人
株式会社コロナ
代理人
主分類
F24D
3/00 20220101AFI20251017BHJP(加熱;レンジ;換気)
要約
【課題】暖房運転時における快適性が低下することを阻止できる温水暖房装置を提供する。
【解決手段】暖房運転の実施時、室温推定手段19aにより所定時間内で室温センサ41の検知値に所定幅の上昇が見込めないと推定したら、制御部19は、床暖パネル30内を流れる循環液の目標値を高めるまでの所定時間が短くなるよう変更する。これにより、暖房運転を実施する室内からの放熱が大きい等により室温上昇がし難い状態であり、同一の温度レベルが長時間継続し床暖パネル30内を循環する循環液の温度が上昇しないことで、暖房感が低下する事態を未然に阻止することができ、ユーザの快適性を高めることができる。
【選択図】図5
特許請求の範囲
【請求項1】
熱媒を加熱する熱源機と、
当該熱源機で加熱された熱媒が供給されることで室内の暖房を行う暖房端末と、
当該暖房端末に供給される熱媒の温度を検知する熱媒温度検知手段と、
前記暖房端末が設置される室内の温度を検知する室温センサと、
前記暖房端末が設置される室内の設定温度が設定可能な設定手段と、
当該設定手段で設定された前記設定温度と前記室温センサでの検知値との差に基づいた所定の目標値が前記熱媒温度検知手段で検知されるよう、前記熱源機を動作させる暖房運転を制御する制御部と、を備え、
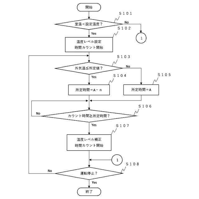
前記制御部は、前記暖房運転の実施時に前記室温センサでの検知値が前記設定温度に達しておらず、前記室温センサの検知値に所定幅の上昇がない状態が所定時間以上継続したと判断したら、前記所定の目標値が高まるように補正し、
前記暖房運転の実施により前記所定時間内で前記室温センサの検知値に前記所定幅の上昇が見込めるかを推定する室温推定手段を有し、
前記暖房運転の実施時、前記室温推定手段により前記所定時間内で前記室温センサの検知値に前記所定幅の上昇が見込めないと推定したら、前記制御部は、前記所定時間が短くなるよう変更することを特徴とした温水暖房装置。
続きを表示(約 280 文字)
【請求項2】
外気温を検知する外気温センサを備え、
前記室温推定手段は、前記暖房運転の実施時において前記外気温センサでの検知値が所定値以下であれば、前記所定時間内で前記室温センサの検知値に前記所定幅の上昇が見込めないと推定することを特徴とした請求項1記載の温水暖房装置。
【請求項3】
前記暖房運転の実施時、前記制御部は、前記外気温センサでの検知値が前記所定値以下である第1の所定値のときよりも、前記第1の所定値よりも低い第2の所定値のときの方が、前記所定時間が短くなるよう変更することを特徴とした請求項2記載の温水暖房装置。
発明の詳細な説明
【技術分野】
【0001】
この発明は、加熱された温水を暖房端末に供給することで室内の暖房を行う温水暖房装置に関する。
続きを表示(約 1,900 文字)
【背景技術】
【0002】
従来、この種のものでは、空調空間に設置された暖房端末による暖房運転の実施時において、室温センサでの検知値と予め設定された設定温度との差に基づいた所定の目標値が、暖房端末へ供給される熱媒の温度を検知する熱媒温度センサで検知されるよう、熱源機を動作させる温水暖房装置があり、暖房運転の実施時における室温上昇が小さい状態が所定時間以上継続した場合は、所定の目標値が上昇するように補正することで、室内の暖房感が高まるようにしユーザの快適性を向上させるものがあった。(例えば、特許文献1参照)
【先行技術文献】
【特許文献】
【0003】
特開2000-74396号公報
【発明の概要】
【発明が解決しようとする課題】
【0004】
しかし、この従来のものでは、室内からの放熱量が大きい等で暖房運転の実施時において室温上昇がし難い場合、室温上昇が小さい状態が所定時間以上継続して暖房端末へ供給する熱媒の温度である所定の目標値が上昇するよう補正するが、所定の目標値を上昇させる補正が実施されるまでの時間が長いと、ユーザが室温の上昇を感じ難くなり快適性が低下することから、改善の余地があった。
【課題を解決するための手段】
【0005】
上記課題を解決するために、本発明の請求項1では、熱媒を加熱する熱源機と、
当該熱源機で加熱された熱媒が供給されることで室内の暖房を行う暖房端末と、
当該暖房端末に供給される熱媒の温度を検知する熱媒温度検知手段と、
前記暖房端末が設置される室内の温度を検知する室温センサと、
前記暖房端末が設置される室内の設定温度が設定可能な設定手段と、
当該設定手段で設定された前記設定温度と前記室温センサでの検知値との差に基づいた所定の目標値が前記熱媒温度検知手段で検知されるよう、前記熱源機を動作させる暖房運転を制御する制御部と、を備え、
前記制御部は、前記暖房運転の実施時に前記室温センサでの検知値が前記設定温度に達しておらず、前記室温センサの検知値に所定幅の上昇がない状態が所定時間以上継続したと判断したら、前記所定の目標値が高まるように補正し、
前記暖房運転の実施により前記所定時間内で前記室温センサの検知値に前記所定幅の上昇が見込めるかを推定する室温推定手段を有し、
前記暖房運転の実施時、前記室温推定手段により前記所定時間内で前記室温センサの検知値に前記所定幅の上昇が見込めないと推定したら、前記制御部は、前記所定時間が短くなるよう変更することを特徴とした。
【0006】
また、請求項2では、外気温を検知する外気温センサを備え、
前記室温推定手段は、前記暖房運転の実施時において前記外気温センサでの検知値が所定値以下であれば、前記所定時間内で前記室温センサの検知値に前記所定幅の上昇が見込めないと推定することを特徴とした。
【0007】
また、請求項3では、前記暖房運転の実施時、前記制御部は、前記外気温センサでの検知値が前記所定値以下である第1の所定値のときよりも、前記第1の所定値よりも低い第2の所定値のときの方が、前記所定時間が短くなるよう変更することを特徴とした。
【発明の効果】
【0008】
この発明によれば、暖房運転の実施時、室温推定手段により所定時間内で室温センサの検知値に所定幅の上昇が見込めないと推定したら、制御部は、所定時間が短くなるよう変更するので、室内からの放熱量が大きい等で室温が上昇し難い状態であっても、ユーザが室温の上昇を感じることができ快適性の低下を阻止できる。
【図面の簡単な説明】
【0009】
本発明の実施例1における温水暖房装置の主要なユニットを示す構成図である。
実施例1の全体構成を示す構成図である。
実施例1の制御ブロック図である。
実施例1の暖房運転時における制御を説明する図である。
実施例1の暖房運転時における温度レベルの補正制御を説明するフローチャートである。
実施例2の暖房運転時における温度レベルの補正制御を実施する所定時間について説明する図である。
【発明を実施するための形態】
【0010】
本発明の実施例を添付図に基づいて以下に説明する。
(【0011】以降は省略されています)
この特許をJ-PlatPat(特許庁公式サイト)で参照する
関連特許
株式会社コロナ
空調装置
3日前
株式会社コロナ
空調装置
3日前
株式会社コロナ
空調装置
18日前
株式会社コロナ
温水暖房装置
3日前
株式会社コロナ
給水装置及びこれを用いた加湿装置
24日前
株式会社コロナ
貯湯式給湯装置
3日前
株式会社トヨトミ
五徳
3日前
株式会社コロナ
空調装置
3日前
株式会社コロナ
加湿装置
1か月前
株式会社コロナ
空調装置
2か月前
株式会社コロナ
空調装置
28日前
株式会社コロナ
空調装置
1か月前
株式会社コロナ
空調装置
3日前
株式会社コロナ
空調装置
18日前
個人
住宅換気空調システム
2か月前
株式会社コロナ
風呂給湯機
1か月前
個人
太陽光パネル傾斜装置
13日前
株式会社コロナ
空気調和機
2か月前
株式会社コロナ
温水暖房装置
3日前
個人
シンプルクーラー
11日前
株式会社コロナ
暖房システム
28日前
株式会社コロナ
貯湯式給湯機
24日前
株式会社コロナ
直圧式給湯機
2か月前
株式会社コロナ
貯湯式給湯機
1か月前
三菱電機株式会社
換気扇
12日前
株式会社コロナ
輻射式冷房装置
2か月前
ホーコス株式会社
換気扇取付枠
1か月前
三菱電機株式会社
換気扇
12日前
三菱電機株式会社
換気扇
12日前
株式会社ノーリツ
温水装置
5日前
株式会社ツインバード
加熱調理器
1か月前
個人
籾殻(そば殻)燃焼ストーブ
1か月前
株式会社ノーリツ
給湯装置
17日前
株式会社ノーリツ
温水装置
10日前
株式会社コロナ
壁掛式石油給湯装置
1か月前
大阪瓦斯株式会社
ガスコンロ
今日
続きを見る
他の特許を見る