TOP
|
特許
|
意匠
|
商標
特許ウォッチ
Twitter
他の特許を見る
10個以上の画像は省略されています。
公開番号
2025164957
公報種別
公開特許公報(A)
公開日
2025-10-31
出願番号
2024068736
出願日
2024-04-21
発明の名称
ガスコンロ
出願人
株式会社パロマ
代理人
個人
主分類
F24C
15/00 20060101AFI20251024BHJP(加熱;レンジ;換気)
要約
【課題】ガスコンロの操作ボタンに関し、本体部の内部に固定部を容易に装着しやすく、装着状態が安定的に保たれやすい技術を提供する。
【解決手段】ガスコンロ1は、貫通孔102を有し、ガスコンロ1の前面の一部を構成するパネル部70Bと、貫通孔102に挿入され、前後に移動可能かつ回転可能とされた操作ボタン6Bと、を備える。操作ボタン6Bは、本体部120と固定部150とを有する。固定部150は、本体部120の前面部122と固定部150の板状部152とが前後に重なりつつ板状部152が前面部122に接近することを規制部160が規制する状態、かつ嵌合部164に突出部130が入り込んだ状態で、爪部138が被係合部162に引っ掛かるように本体部120に固定される。
【選択図】図9
特許請求の範囲
【請求項1】
ガスバーナと、軸部材を有するとともに前記軸部材が回転可能および前後に移動可能に構成された被操作装置と、前記被操作装置および前記ガスバーナの少なくとも一部を収容する筐体と、を有するガスコンロであって、
貫通孔を有し、前記ガスコンロの前面の一部を構成するパネル部と、
前記貫通孔に挿入され、前後に移動可能かつ回転可能とされた操作ボタンと、
を備え、
前記操作ボタンは、板状の前面部と前記前面部から後方に延びる筒状部とが一体的に構成される本体部と、前記本体部に固定される固定部と、を有し、
前記本体部は、前記筒状部から離れた内側において前記前面部の裏面から後方に突出するとともに先端側に爪部が設けられた係合部と、前記筒状部から離れた内側において前記前面部の裏面から後方に突出する突出部と、を具備し、
前記固定部は、板状に構成されるとともに前記前面部に重なって配置される板状部と、前記板状部から後方に突出するとともに前記軸部材に装着される装着軸部と、を具備し、
前記板状部には、前記板状部の前面側から前側に突出する規制部と、前記爪部が引っ掛かる部分である被係合部と、前記突出部を入り込ませて当該突出部を前記板状部よりも後方側に通す部分である凹状又は孔状の嵌合部と、が設けられ、
前記固定部は、前記前面部と前記板状部とが前後に重なりつつ前記板状部が前記前面部に接近することを前記規制部が規制する状態、かつ前記嵌合部に前記突出部が入り込んだ状態で、前記爪部が前記被係合部に引っ掛かるように前記本体部に固定される
ガスコンロ。
続きを表示(約 1,100 文字)
【請求項2】
前記前面部は円板状に構成され、
前記筒状部は、円筒状に構成され、
前記板状部は円板状に構成され、
前記嵌合部は、孔部であり、
前記係合部は、前記筒状部から離れた内側において前記前面部の裏面から後方に延びる部分である延出部を有し、前記延出部よりも先端側に前記爪部が設けられ、
前記被係合部は、前記板状部の外縁部において前記板状部の中心側に向かって凹む構成をなす凹部であり、
前記前面部において、前記前面部の中心部である第1中心部を挟んだ両側に一対の前記係合部が設けられ、
前記板状部において、前記板状部の中心部である第2中心部を挟んだ両側に一対の前記凹部が設けられ、
前記前面部における前記第1中心部の周囲において、前記係合部から外れた位置に複数の前記突出部が設けられ、
前記板状部における前記第2中心部の周囲において、前記凹部から外れた位置に複数の前記孔部が設けられ、
前記前面部の裏面と前記規制部の先端部とが接触可能な構成かつ前記前面部の裏面と前記板状部の前側の板面とが向かい合う構成で前記前面部と前記板状部とが前後に重なった重なり状態をなし、前記重なり状態において前記突出部が前記孔部に挿し通され、前記延出部が前記凹部に嵌まり込んだ構成で前記爪部が前記凹部の縁部に引っ掛かる構成で、前記固定部が前記本体部に固定される
請求項1に記載のガスコンロ。
【請求項3】
前記前面部において、当該前面部の中心部である第1中心部を挟んだ両側に一対の前記係合部が設けられ、
前記前面部において、一対の前記係合部から外れた位置かつ前記第1中心部を挟んだ両側に一対の前記突出部が設けられ、
一対の前記係合部は、前後方向と直交する第1方向において互いに向かい合い、前記第1方向において前記装着軸部の両側に配置され、
一対の前記突出部は、前記前後方向および前記第1方向と直交する第2方向において互いに向かい合い、前記第2方向において前記装着軸部の両側に配置され
各々の前記爪部は、前記筒状部の中心側に向かって突出する
請求項1又は請求項2に記載のガスコンロ。
【請求項4】
前記嵌合部は、孔部であり、
前記突出部は、板状に構成され前記前面部の裏面から突出する第1板部と、板状に構成され前記前面部の裏面から突出するとともに前記第1板部の第1板面から前記前面部の半径方向に突出する第2板部と、を有し、前記第1板部の第2板面および前記第2板部における前記第1板部とは反対側の縁部が前記孔部の内周部に隣接する
請求項1又は請求項2に記載のガスコンロ。
発明の詳細な説明
【技術分野】
【0001】
本開示は、ガスコンロに関する。
続きを表示(約 3,300 文字)
【背景技術】
【0002】
特許文献1には、ガスコンロ用の操作つまみが開示されている。特許文献1に開示される操作つまみは、バーナの点火や消火を行うために用いられる操作部である。この操作つまみの本体部は、正面視円形の前面と、前面の周縁部から後方に延びる筒状の外周部とを備える。本体部は、透光性を有する合成樹脂製である。上記前面の裏面である第一裏面部には、金属膜部が設けられる。外周部の内周面である第二裏面部には、金属膜部が設けられる。
【先行技術文献】
【特許文献】
【0003】
特開2022-150241号公報
【発明の概要】
【発明が解決しようとする課題】
【0004】
特許文献1に開示される操作つまみは、円筒状の本体部131の内側に円筒状の固定部139を入り込ませ、固定部139の側面139Aに形成されたフック片139Bを本体部131の内側に係合させる構成で本体部131に対して固定部139が固定される。このように円筒状の部材の内周部に円筒状の部材を嵌合させて固定させる構成のものでは、円筒状の部材と円筒状の部材とを嵌合させて固定することに起因するデメリットを受けざるを得ない。例えば、何らかの理由(製造誤差やその他の原因に起因する変形など)によって本体部131の内周部や固定部139の外周部に形状のずれが生じると、本体部131に固定部139を挿入しにくくなったり、本体部131と固定部139との連結状態が不十分となって本体部131から固定部139が外れやすくなったりしやすい懸念がある。
【0005】
本開示の目的の一つは、ガスコンロの操作ボタンにおいて、本体部の内部に固定部が容易に装着されやすく、装着状態が安定的に保たれやすい技術を提供することである。
【課題を解決するための手段】
【0006】
本開示の一つであるガスコンロは、
ガスバーナと、軸部材を有するとともに前記軸部材が回転可能および前後に移動可能に構成された被操作装置と、前記被操作装置および前記ガスバーナの少なくとも一部を収容する筐体と、を有するガスコンロであって、
貫通孔を有し、前記ガスコンロの前面の一部を構成するパネル部と、
前記貫通孔に挿入され、前後に移動可能かつ回転可能とされた操作ボタンと、
を備え、
前記操作ボタンは、板状の前面部と前記前面部から後方に延びる筒状部とが一体的に構成される本体部と、前記本体部に固定される固定部と、を有し、
前記本体部は、前記筒状部から離れた内側において前記前面部の裏面から後方に突出するとともに先端側に爪部が設けられた係合部と、前記筒状部から離れた内側において前記前面部の裏面から後方に突出する突出部と、を具備し、
前記固定部は、板状に構成されるとともに前記前面部に重なって配置される板状部と、前記板状部から後方に突出するとともに前記軸部材に装着される装着軸部と、を具備し、
前記板状部には、前記板状部の前面側から前側に突出する規制部と、前記爪部が引っ掛かる部分である被係合部と、前記突出部を入り込ませて当該突出部を前記板状部よりも後方側に通す部分である凹状又は孔状の嵌合部と、が設けられ、
前記固定部は、前記前面部と前記板状部とが前後に重なりつつ前記板状部が前記前面部に接近することを前記規制部が規制する状態、かつ前記嵌合部に前記突出部が入り込んだ状態で、前記爪部が前記被係合部に引っ掛かるように前記本体部に固定される。
【発明の効果】
【0007】
本開示に係る技術によれば、ガスコンロの操作ボタンにおいて、本体部の内部に固定部が容易に装着されやすく、装着状態が安定的に保たれやすい。
【図面の簡単な説明】
【0008】
図1は、第1実施形態に係るガスコンロを概略的に例示する斜視図である。
図2は、図1のガスコンロの正面図である。
図3は、図1のガスコンロにおける各ガスバーナへのガスの供給構造を概略的に示す説明図である。
図4は、図1のガスコンロの電気的構成を例示するブロック図である。
図5は、図1のガスコンロを操作ボタンの位置で左右方向と直交する切断面にて切断した構造を概略的に例示する斜視図である。
図6は、図1のガスコンロの一部をなす前側ユニットを例示する斜視図である。
図7は、図6の前側ユニットを斜め後方側から見た斜視図である。
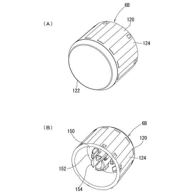
図8(A)は、図1のガスコンロに設けられる操作ボタンを斜め前側から見た構成を例示する斜視図であり、図8(B)は、その操作ボタンを斜め後方側から見た構成を例示する斜視図である。
図9(A)は、図8の操作ボタンの正面図であり、図9(B)は、図8の操作ボタンの背面図である。
図10は、図8の操作ボタンを図8とは異なる方向から見た斜視図である。
図11は、図8の操作ボタンを本体部と固定部に分解した分解斜視図である。
図12(A)は、図8の操作ボタンを構成する本体部の背面図であり、図12(B)は、図8の操作ボタンを構成する固定部の背面図であり、
図13(A)は、図8の操作ボタンを両係合部の位置で前後方向に沿って切断した切断面を概略的に例示する断面図であり、図13(B)は、図8の操作ボタンを両突出部の位置で前後方向に沿って切断した切断面を概略的に例示する断面図である。
図14は、図8の操作ボタンを両係合部の位置で前後方向に沿って切断した構造を概略的に例示する斜視図である。
図15は、図8の操作ボタンを両突出部の位置で前後方向に沿って切断した構造を概略的に例示する斜視図である。
図16は、図8の操作ボタンを両係合突起の位置で前後方向に沿って切断した構造を概略的に例示する斜視図である。
【発明を実施するための形態】
【0009】
以下の〔1〕~〔4〕の各々は、本開示に含まれる特徴的技術の一例である。
【0010】
〔1〕 ガスバーナと、軸部材を有するとともに前記軸部材が回転可能および前後に移動可能に構成された被操作装置と、前記被操作装置および前記ガスバーナの少なくとも一部を収容する筐体と、を有するガスコンロであって、
貫通孔を有し、前記ガスコンロの前面の一部を構成するパネル部と、
前記貫通孔に挿入され、前後に移動可能かつ回転可能とされた操作ボタンと、
を備え、
前記操作ボタンは、板状の前面部と前記前面部から後方に延びる筒状部とが一体的に構成される本体部と、前記本体部に固定される固定部と、を有し、
前記本体部は、前記筒状部から離れた内側において前記前面部の裏面から後方に突出するとともに先端側に爪部が設けられた係合部と、前記筒状部から離れた内側において前記前面部の裏面から後方に突出する突出部と、を具備し、
前記固定部は、板状に構成されるとともに前記前面部に重なって配置される板状部と、前記板状部から後方に突出するとともに前記軸部材に装着される装着軸部と、を具備し、
前記板状部には、前記板状部の前面側から前側に突出する規制部と、前記爪部が引っ掛かる部分である被係合部と、前記突出部を入り込ませて当該突出部を前記板状部よりも後方側に通す部分である凹状又は孔状の嵌合部と、が設けられ、
前記固定部は、前記前面部と前記板状部とが前後に重なりつつ前記板状部が前記前面部に接近することを前記規制部が規制する状態、かつ前記嵌合部に前記突出部が入り込んだ状態で、前記爪部が前記被係合部に引っ掛かるように前記本体部に固定される
ガスコンロ。
(【0011】以降は省略されています)
特許ウォッチbot のツイートを見る
この特許をJ-PlatPat(特許庁公式サイト)で参照する
関連特許
株式会社パロマ
給湯器
2か月前
株式会社パロマ
湯沸器
1か月前
株式会社パロマ
給湯暖房機
3か月前
株式会社パロマ
ガスコンロ
1日前
株式会社パロマ
ガスコンロ
1日前
株式会社パロマ
給湯暖房機
3か月前
株式会社パロマ
給湯暖房機
3か月前
株式会社パロマ
給湯暖房機
3か月前
株式会社パロマ
給湯暖房機
3か月前
株式会社パロマ
給湯暖房機
3か月前
株式会社パロマ
給湯暖房機
3か月前
株式会社パロマ
ガスコンロ
1日前
株式会社パロマ
加熱調理装置
1か月前
株式会社パロマ
加熱調理装置
1か月前
株式会社パロマ
加熱調理装置
1か月前
株式会社パロマ
加熱調理装置
5日前
株式会社パロマ
加熱調理装置
2日前
株式会社パロマ
食器洗浄機用ブースター
1か月前
株式会社パロマ
食器洗浄機用ブースター
1か月前
株式会社パロマ
食器洗浄機用ブースター
1か月前
株式会社パロマ
食器洗浄機用ブースター
1か月前
株式会社パロマ
食器洗浄機用ブースター
1か月前
株式会社パロマ
食器洗浄機用ブースター
22日前
株式会社パロマ
食器洗浄機用ブースター
9日前
株式会社パロマ
加熱調理装置及び製造方法
25日前
株式会社パロマ
給湯器の製造方法及び給湯器
29日前
株式会社パロマ
アフターバーナ及び加熱調理装置
2日前
株式会社パロマ
ヒートポンプ熱源機及び給湯システム
2日前
株式会社パロマ
ヒートポンプ熱源機及び給湯システム
2日前
株式会社パロマ
ガスコンロの製造方法およびガスコンロ
1日前
株式会社パロマ
食器洗浄機用ブースター及び食器洗浄システム
1か月前
株式会社トヨトミ
五徳
8日前
株式会社コロナ
空調装置
2か月前
株式会社コロナ
空調装置
1か月前
株式会社コロナ
空調装置
8日前
株式会社コロナ
空調装置
8日前
続きを見る
他の特許を見る