TOP
|
特許
|
意匠
|
商標
特許ウォッチ
Twitter
他の特許を見る
10個以上の画像は省略されています。
公開番号
2025156818
公報種別
公開特許公報(A)
公開日
2025-10-15
出願番号
2024059512
出願日
2024-04-02
発明の名称
換気扇
出願人
三菱電機株式会社
代理人
個人
主分類
F24C
15/20 20060101AFI20251007BHJP(加熱;レンジ;換気)
要約
【課題】給気チャンバーと積み重ねて配置した筐体のメンテナンス用のカバーの着脱を容易に行える換気扇を得ること。
【解決手段】調理排気を吸い込む吸込口が設けられた下面と、調理排気を吹き出す吹出口が設けられた天面と、壁に固定される背面と、を有する直方体状の筐体3と、筐体3の背面に固定され、吸込口から調理排気を吸い込み、吹出口から調理排気を吹き出す気流を生成する送風機と、筐体3の天面の上部に固定され、前面に給気口が形成され、給気ダクトが接続される給気ダクト接続口が複数の面に形成された直方体状の給気チャンバー12とを備え、給気チャンバー12の下面には、下面の高さを前後方向において異ならせる段差28が設けられており、給気チャンバー12の下面のうち段差28よりも前方の前面側下面33と、筐体3の天面との間に空隙が形成される。
【選択図】図15
特許請求の範囲
【請求項1】
調理排気を吸い込む吸込口が設けられた下面と、前記調理排気を吹き出す吹出口が設けられた天面と、壁に固定される背面と、を有する直方体状の筐体と、
前記筐体の前記背面に固定され、前記吸込口から前記調理排気を吸い込み、前記吹出口から前記調理排気を吹き出す気流を生成する送風機と、
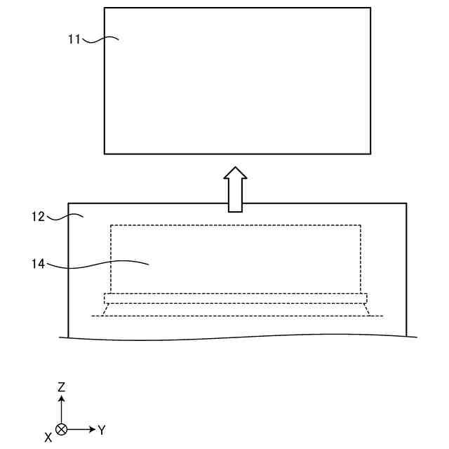
前記筐体の天面の上部に固定され、前面に給気口が形成され、給気ダクトが接続される給気ダクト接続口が複数の面に形成された直方体状の給気チャンバーとを備え、
前記給気チャンバーの下面には、前記下面の高さを前後方向において異ならせる段差が設けられており、
前記給気チャンバーの下面のうち前記段差よりも前方の部分と、前記筐体の天面との間に空隙が形成されることを特徴とする換気扇。
続きを表示(約 230 文字)
【請求項2】
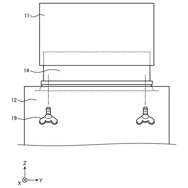
前記給気チャンバーの下面のうち前記段差よりも前方の部分には、前記筐体の天面に当たる支えネジが前記給気チャンバーの内側からねじ止めされていることを特徴とする請求項1に記載の換気扇。
【請求項3】
前記給気チャンバーは、前面が開口したチャンバー本体と、前記給気チャンバーの前面に着脱可能に取り付けられるパネルとを有し、
前記パネルを取り外した状態において、前記支えネジの着脱が可能であることを特徴とする請求項2に記載の換気扇。
発明の詳細な説明
【技術分野】
【0001】
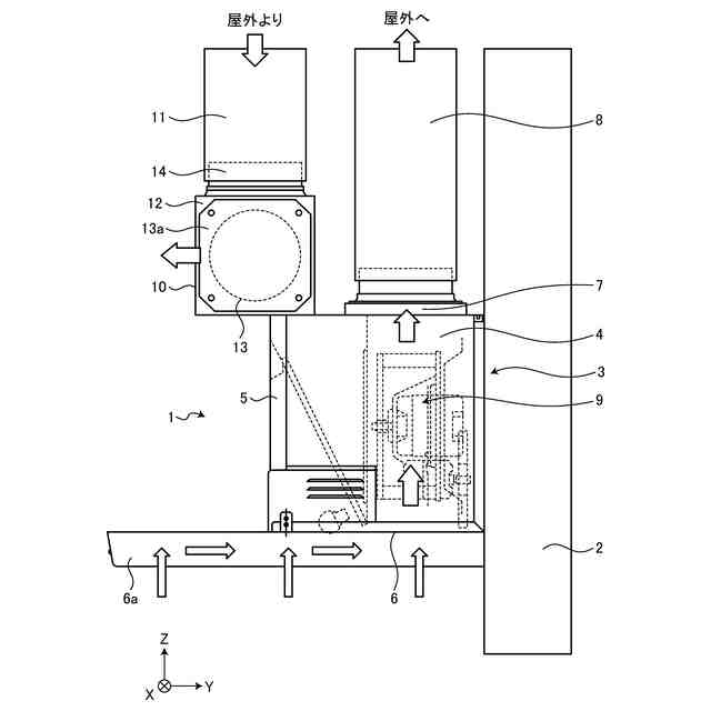
本開示は、調理排気を屋外へ排気する換気扇に関する。
続きを表示(約 1,700 文字)
【背景技術】
【0002】
調理器具を用いて加熱調理を行う際には、油煙、水蒸気、臭気及び熱気等を含む調理排気が発生する。このため、調理排気を屋外へ排気するために換気扇が用いられる。
【0003】
特許文献1には、排気装置を収容し排気ダクトが接続される筐体と、外気導入用の給気ダクトが接続される給気チャンバーとを横並びに配置した同時給排型の換気扇であるレンジフードが開示されている。
【先行技術文献】
【特許文献】
【0004】
特開2007-93154号公報
【発明の概要】
【発明が解決しようとする課題】
【0005】
特許文献1に開示されるレンジフードは、筐体と給気チャンバーとを横並びに配置しているため製品サイズが大きくなってしまう。筐体と給気チャンバーとを積み重ねて配置すれば製品サイズが大きくなることを抑制することは可能であるが、排気装置は保守点検を要するため、排気装置を収容する筐体は、前面を着脱可能なメンテナンス用のカバーで構成して開閉可能な構造とする必要がある。しかし、筐体と給気チャンバーとを積み重ねて配置すると、筐体のメンテナンス用のカバーの着脱が困難になるという課題があった。
【0006】
本開示は、上記に鑑みてなされたものであって、給気チャンバーと積み重ねて配置した筐体のメンテナンス用のカバーの着脱を容易に行える換気扇を得ることを目的とする。
【課題を解決するための手段】
【0007】
上述した課題を解決し、目的を達成するために、本開示に係る換気扇は、調理排気を吸い込む吸込口が設けられた下面と、調理排気を吹き出す吹出口が設けられた天面と、壁に固定される背面と、を有する直方体状の筐体と、筐体の背面に固定され、吸込口から調理排気を吸い込み、吹出口から調理排気を吹き出す気流を生成する送風機と、筐体の天面の上部に固定され、前面に給気口が形成され、給気ダクトが接続される給気ダクト接続口が複数の面に形成された直方体状の給気チャンバーとを備える。給気チャンバーの下面には、下面の高さを前後方向において異ならせる段差が設けられている。給気チャンバーの下面のうち段差よりも前方の部分と、筐体の天面との間に空隙が形成される。
【発明の効果】
【0008】
本開示によれば、給気チャンバーと積み重ねて配置した筐体のメンテナンス用のカバーの着脱を容易に行える換気扇を得られるという効果を奏する。
【図面の簡単な説明】
【0009】
実施の形態1に係るレンジの斜視図
実施の形態1に係るレンジの側面拡大図
実施の形態1に係るレンジの側面図
実施の形態1に係るレンジの突出部の寸法関係を示す図
実施の形態1に係るレンジの背面側の斜視図
実施の形態1に係るレンジのアタッチメントの取り付け方法を示す図
実施の形態1に係るレンジの給気チャンバーの斜視図
実施の形態1に係るレンジのアタッチメントの固定方法を示す図
実施の形態2に係るレンジの給気チャンバーの斜視図
実施の形態2に係るレンジの給気チャンバーの取り付け方法を示す図
実施の形態2に係るレンジのアタッチメントの取り付け方法を示す図
実施の形態2に係るレンジの上面図
実施の形態3に係るレンジの側面図
実施の形態3に係るレンジの筐体と給気チャンバーとの接続部分の拡大側面図
実施の形態3に係るレンジの筐体と給気チャンバーとの接続部の拡大断面図
実施の形態3に係るレンジの給気チャンバーに支えネジを取り付けた状態を示す断面図
【発明を実施するための形態】
【0010】
以下に、実施の形態に係る換気扇を図面に基づいて詳細に説明する。なお、以下の各図面に示す各部材の縮尺は一例であり、各部材の寸法比率は実際とは異なる場合がある。各図面間においても同様である。
(【0011】以降は省略されています)
この特許をJ-PlatPat(特許庁公式サイト)で参照する
関連特許
三菱電機株式会社
換気扇
今日
三菱電機株式会社
換気扇
今日
三菱電機株式会社
換気扇
今日
三菱電機株式会社
電子機器
1日前
三菱電機株式会社
半導体装置
6日前
三菱電機株式会社
照明システム
6日前
三菱電機株式会社
誘導加熱調理器
今日
三菱電機株式会社
電動機制御装置
12日前
三菱電機株式会社
電流切替型DAC
6日前
三菱電機株式会社
照明制御システム
13日前
三菱電機株式会社
保護継電器及び配電盤
今日
三菱電機株式会社
車両空調機用診断システム
1日前
三菱電機株式会社
監視装置、および監視システム
7日前
三菱電機株式会社
加熱調理器及び加熱調理システム
7日前
三菱電機株式会社
換気装置、送風装置および制御装置
6日前
三菱電機株式会社
照明器具および照明器具の製造方法
8日前
三菱電機株式会社
照明制御装置および照明制御システム
12日前
三菱電機株式会社
インバータ装置およびモータ駆動装置
14日前
三菱電機株式会社
選択支援装置、方法、及びプログラム
5日前
三菱電機株式会社
半導体装置および半導体装置の製造方法
8日前
三菱電機株式会社
冷凍装置を備えた機器およびショーケース
5日前
三菱電機株式会社
設計支援システム及び設計支援プログラム
6日前
三菱電機株式会社
電力変換装置および電力変換装置の制御方法
12日前
三菱電機株式会社
温度調節機能付き換気装置及び換気システム
6日前
三菱電機株式会社
情報処理装置、プログラム及び情報処理方法
6日前
三菱電機株式会社
監視システム、監視方法及び監視プログラム
6日前
三菱電機株式会社
半導体検査装置および半導体装置の製造方法
14日前
三菱電機株式会社
除湿器、除湿器の製造方法および電気制御機器
13日前
三菱電機株式会社
データ取得装置および照明装置の点検システム
7日前
三菱電機株式会社
合流予測装置、車両制御装置、及び合流予測方法
今日
三菱電機株式会社
診断装置、診断システム、診断方法、及びプログラム
14日前
三菱電機株式会社
超音速飛翔環境模擬装置および超音速飛翔環境模擬方法
6日前
三菱電機株式会社
作業人員計画装置、作業人員計画方法およびプログラム
1日前
三菱電機ビルソリューションズ株式会社
エレベータ装置
5日前
三菱電機株式会社
分析支援装置、分析支援方法、および分析支援プログラム
7日前
三菱電機株式会社
半導体装置、電力変換装置、および半導体装置の製造方法
5日前
続きを見る
他の特許を見る