TOP
|
特許
|
意匠
|
商標
特許ウォッチ
Twitter
他の特許を見る
10個以上の画像は省略されています。
公開番号
2025162665
公報種別
公開特許公報(A)
公開日
2025-10-28
出願番号
2024065990
出願日
2024-04-16
発明の名称
調理システム
出願人
三菱電機株式会社
,
三菱電機ホーム機器株式会社
代理人
弁理士法人きさ特許商標事務所
主分類
F24C
7/08 20060101AFI20251021BHJP(加熱;レンジ;換気)
要約
【課題】カメラで撮影した画像を用いずとも調理容器の蓋の有無を検知してユーザの加熱調理を支援できる調理システムを得る。
【解決手段】調理システムは、調理容器が載置されるトッププレートと、トッププレートに載置された調理容器を加熱する加熱部と、トッププレートの上方の温度を検知する上部温度センサと、トッププレートの下に配置され、トッププレートに載置された調理容器の温度を検知する下部温度センサと、報知部と、下部温度センサと上部温度センサの検知結果に基づいて、調理容器の蓋の有無を判定し、蓋の有無に応じて報知部の報知内容を制御する制御部と、を備えた。
【選択図】図12
特許請求の範囲
【請求項1】
調理容器が載置されるトッププレートと、
前記トッププレートに載置された前記調理容器を加熱する加熱部と、
前記トッププレートの上方の温度を検知する上部温度センサと、
前記トッププレートの下に配置され、前記トッププレートに載置された前記調理容器の温度を検知する下部温度センサと、
報知部と、
前記下部温度センサと前記上部温度センサの検知結果に基づいて、前記調理容器の蓋の有無を判定し、蓋の有無に応じて前記報知部の報知内容を制御する制御部と、を備えた
調理システム。
続きを表示(約 1,000 文字)
【請求項2】
予め定められた調理工程に従って前記加熱部を制御する自動調理モードにおいて、
前記制御部は、前記調理工程が前記蓋をする作業を含む場合に、前記調理容器の前記蓋が無いと判定された場合には、蓋をすることを促す報知を前記報知部に実行させる
請求項1に記載の調理システム。
【請求項3】
前記自動調理モードにおいて、
前記制御部は、前記調理工程が前記蓋をする作業を含む場合であって、前記調理容器の前記蓋があると判定された場合には、前記下部温度センサの検知結果に基づいて前記加熱部の加熱出力と加熱時間のいずれか又は両方を制御する
請求項2に記載の調理システム。
【請求項4】
前記上部温度センサの検知領域を、第1領域、前記第1領域の内側にある第2領域、前記第1領域及び前記第2領域の内側にある第3領域、とした場合、
前記制御部は、
前記上部温度センサによって検知された前記第2領域の第2温度T2及び前記第3領域の第3温度T3が、前記下部温度センサによって検知された下部温度TLの値よりも低い場合に、蓋ありと判定する
請求項1~請求項3のいずれか一項に記載の調理システム。
【請求項5】
前記制御部は、
前記上部温度センサが検知した温度の変化量と、前記下部温度センサが検知した温度の変化量との差に基づいて、前記蓋の有無を判定する
請求項1~請求項3のいずれか一項に記載の調理システム。
【請求項6】
前記加熱部を用いた調理回数を記憶する記憶部を備え、
前記制御部は、前記調理回数が閾値を超えた場合に、前記報知部に前記上部温度センサの清掃を促す報知を実行させる
請求項1~請求項3のいずれか一項に記載の調理システム。
【請求項7】
前記上部温度センサが検知した温度に基づいて、人を検知する人検知部を備え、
前記報知部は、音声を出力する音声出力部を有し、
前記人検知部が人を検知した場合と人を検知していない場合とで、前記音声出力部が出力する音声の大きさが異なる
請求項1~請求項3のいずれか一項に記載の調理システム。
【請求項8】
前記人検知部は、検知した前記人と前記上部温度センサとの距離を検出し、
前記距離に応じて、前記音声出力部が出力する音声の大きさが異なる
請求項7に記載の調理システム。
発明の詳細な説明
【技術分野】
【0001】
本開示は、トッププレートに載置された調理容器を加熱する加熱部を備えた調理システムに関する。
続きを表示(約 2,000 文字)
【背景技術】
【0002】
従来、カメラを備え、カメラで撮影された被写体画像にニューラルネットワーク等のパターン認識技術を適用することにより、調理器具の蓋の有無等を検知する加熱調理器が提案されている(例えば、特許文献1参照)。
【先行技術文献】
【特許文献】
【0003】
特開2015-068542号公報
【発明の概要】
【発明が解決しようとする課題】
【0004】
しかしながら、特許文献1の加熱調理器のようにカメラで撮影した被写体画像を用いて被写体を識別する場合、パターン認識技術等が必要になるため、データ処理の負荷が大きい。このため、カメラで撮影した画像を用いず、被加熱物の蓋の有無等を検知できる他の技術が求められていた。
【0005】
本開示は、上記の課題に鑑みてなされたものであって、カメラで撮影した画像を用いずとも調理容器の蓋の有無を検知してユーザの加熱調理を支援できる調理システムを提供するものである。
【課題を解決するための手段】
【0006】
本開示の調理システムは、調理容器が載置されるトッププレートと、前記トッププレートに載置された前記調理容器を加熱する加熱部と、前記トッププレートの上方の温度を検知する上部温度センサと、前記トッププレートの下に配置され、前記トッププレートに載置された前記調理容器の温度を検知する下部温度センサと、報知部と、前記下部温度センサと前記上部温度センサの検知結果に基づいて、前記調理容器の蓋の有無を判定し、蓋の有無に応じて前記報知部の報知内容を制御する制御部と、を備えたものである。
【発明の効果】
【0007】
本開示によれば、カメラで撮影した画像を用いずとも調理容器の蓋の有無を検知してユーザの加熱調理を支援できる。
【図面の簡単な説明】
【0008】
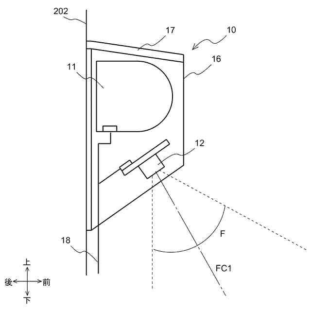
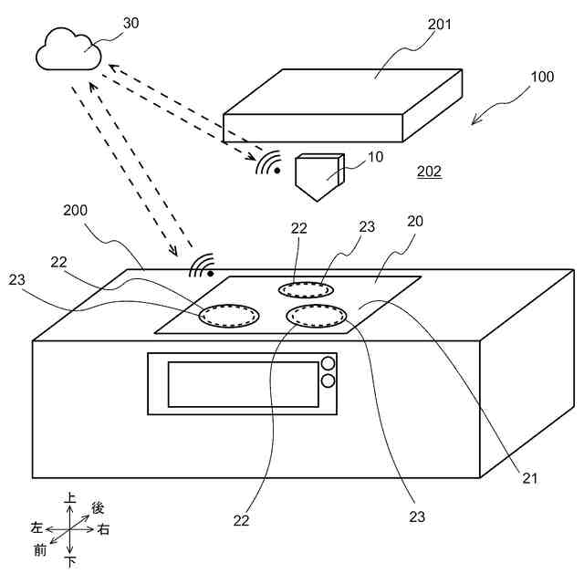
実施の形態に係る調理システム100のシステム構成例を示す図である。
実施の形態に係る調理補助装置10の構成例を示す正面図である。
実施の形態に係る調理補助装置10の構成例を示す側面図である。
実施の形態に係る加熱調理器20の機能構成例を示す図である。
実施の形態に係るサーバ30の構成例を示す図である。
実施の形態に係る調理補助装置10の左右方向における視野領域Fを説明する図である。
実施の形態に係る調理補助装置10の前後方向における視野領域Fを説明する図である。
実施の形態に係る調理補助装置10の平面視における視野領域Fを説明する図である。
実施の形態に係る調理補助装置10の上部温度センサ12の温度検知機能を説明する図である。
実施の形態に係る蓋なしの工程のみを含む調理工程における、上部温度センサ12の検知温度と、加熱調理器20の加熱コイル23への入力電力の計時に伴う変化を示す図である。
実施の形態に係る蓋ありの工程を含む調理工程における、上部温度センサ12の検知温度と、加熱調理器20の加熱コイル23への入力電力の計時に伴う変化を示す図である。
実施の形態に係る調理システム100による調理補助と加熱調理の動作例を示すフローチャートである。
【発明を実施するための形態】
【0009】
以下、本開示に係る調理システムの実施の形態を、図面に基づいて説明する。なお、以下に示す図面の形態によって本開示が限定されるものではない。また、以下の説明において、理解を容易にするために方向を表す用語(例えば「上」、「下」、「右」、「左」、「前」、「後」など)を適宜用いるが、これは説明のためのものであって、これらの用語は本開示を限定するものではない。また、各図において、同一の構成には同一の符号を付している。
【0010】
実施の形態.
(調理システム100)
図1は、実施の形態に係る調理システム100のシステム構成例を示す図である。調理システム100は、調理補助装置10と、加熱調理器20と、サーバ30とを備え、加熱調理器20を用いた使用者の調理を補助するシステムである。調理補助装置10とサーバ30、及び加熱調理器20とサーバ30は、それぞれ通信ネットワークで接続されている。調理補助装置10は、加熱調理器20の上側のレンジフード201又は壁202に設置され、使用者からの音声入力による調理指示を受け付けるとともに加熱調理器20の上方の温度を検知し、音声情報と温度情報とをサーバ30に送信する。また、調理補助装置10は、使用者への音声出力を行う。加熱調理器20は、使用者の操作指示に基づいて動作するとともに、サーバ30からの制御信号に基づいて動作することができる。
(【0011】以降は省略されています)
この特許をJ-PlatPat(特許庁公式サイト)で参照する
関連特許
三菱電機株式会社
増幅器
5日前
三菱電機株式会社
換気扇
14日前
三菱電機株式会社
換気扇
14日前
三菱電機株式会社
換気扇
14日前
三菱電機株式会社
冷蔵庫
1日前
三菱電機株式会社
収集装置
12日前
三菱電機株式会社
電子機器
15日前
三菱電機株式会社
保護リレー
今日
三菱電機株式会社
空気調和機
7日前
三菱電機株式会社
半導体装置
20日前
三菱電機株式会社
半導体装置
今日
三菱電機株式会社
空調システム
5日前
三菱電機株式会社
貯湯式給湯機
2日前
三菱電機株式会社
調理システム
1日前
三菱電機株式会社
ねじ締め装置
5日前
三菱電機株式会社
貯湯式給湯機
1日前
三菱電機株式会社
炊飯システム
1日前
三菱電機株式会社
照明システム
20日前
三菱電機株式会社
樹脂成形用金型
5日前
三菱電機株式会社
誘導加熱調理器
14日前
三菱電機株式会社
全館空調システム
12日前
三菱電機株式会社
ヒートポンプ装置
8日前
三菱電機株式会社
レンズモジュール
12日前
三菱電機株式会社
道路情報補正装置
7日前
三菱電機株式会社
電流切替型DAC
20日前
三菱電機株式会社
電池パック及び電池
7日前
三菱電機株式会社
保護継電器及び配電盤
14日前
三菱電機株式会社
人流情報取得システム
1日前
三菱電機株式会社
高周波増幅器モジュール
2日前
三菱電機株式会社
点灯装置および照明器具
12日前
三菱電機株式会社
車両空調機用診断システム
15日前
三菱電機株式会社
測位システムおよび固定局
13日前
三菱電機株式会社
半導体装置及び電力変換装置
2日前
三菱電機株式会社
半導体ウェハの外観検査装置
13日前
三菱電機株式会社
配光制御レンズ及び照明装置
5日前
三菱電機株式会社
プロペラファン、及び送風機
1日前
続きを見る
他の特許を見る