TOP
|
特許
|
意匠
|
商標
特許ウォッチ
Twitter
他の特許を見る
10個以上の画像は省略されています。
公開番号
2025170982
公報種別
公開特許公報(A)
公開日
2025-11-20
出願番号
2024075880
出願日
2024-05-08
発明の名称
電気機器
出願人
三菱電機株式会社
,
大崎電気工業株式会社
代理人
個人
主分類
H05K
5/03 20060101AFI20251113BHJP(他に分類されない電気技術)
要約
【課題】ベースまたは端子部の変形によりスナップフィットによるベースと端子部との固定が容易に外れない電気機器を得ること。
【解決手段】電気機器は、底壁と2つの側壁21,22とを有するベース2と、側壁21,22の間に配置される端子部3とを備えている。各側壁21,22は、係合爪を含むスナップフィット27aと、保持部27bと、外壁27cとを有する。スナップフィット27aと保持部27bとの間には、溝部27eが設けられている。スナップフィット27aおよび保持部27bと外壁27cとの間には、空間27fが設けられている。端子部3は、係合爪と係合する凸部と、第3の方向Zに凸部から離れて配置された係合外れ防止部35bとを有する。係合爪と凸部とが係合した状態において、係合外れ防止部35bは、溝部27eから空間27fに亘って配置されているとともに、第2の方向Yにおいてベース2の外部側から保持部27bに接触している。
【選択図】図10
特許請求の範囲
【請求項1】
底壁と、前記底壁から第1の方向に突出して前記第1の方向と直交する第2の方向に対向する2つの側壁とを有するベースと、
前記ベースの内部において2つの前記側壁の間に配置される端子部と、
を備え、
各前記側壁は、
係合爪を含むスナップフィットと、
前記第1の方向および前記第2の方向の双方と直交する第3の方向に前記スナップフィットから離れて配置された保持部と、
前記第2の方向において前記スナップフィットおよび前記保持部よりも前記ベースの外部側に前記スナップフィットおよび前記保持部から離れて配置された外壁と、
を有し、
前記スナップフィットと前記保持部との間には、前記第1の方向において前記底壁と反対側に開口するとともに前記第2の方向に貫通する溝部が設けられ、
前記スナップフィットおよび前記保持部と前記外壁との間には、前記第1の方向において前記底壁と反対側に開口するとともに前記溝部に連通する空間が設けられ、
前記端子部は、
前記係合爪と係合する凸部と、
前記第3の方向に前記凸部から離れて配置された係合外れ防止部と、
を有し、
前記係合爪と前記凸部とが係合した状態において、前記係合外れ防止部は、前記溝部から前記空間に亘って配置されているとともに、前記第2の方向において前記ベースの外部側から前記保持部に接触していることを特徴とする電気機器。
続きを表示(約 270 文字)
【請求項2】
前記保持部は、他の部分よりも前記第2の方向に厚いリブを有し、
前記係合爪と前記凸部とが係合した状態において、前記係合外れ防止部は、前記第2の方向において前記ベースの外部側から前記リブに接触していることを特徴とする請求項1に記載の電気機器。
【請求項3】
前記リブを有する前記保持部は、前記第3の方向において前記スナップフィットの両側に前記溝部を介して設けられ、
前記係合外れ防止部は、前記第3の方向において前記凸部の両側に設けられていることを特徴とする請求項2に記載の電気機器。
発明の詳細な説明
【技術分野】
【0001】
本開示は、ベースと端子部とを備える電気機器に関する。
続きを表示(約 1,800 文字)
【背景技術】
【0002】
従来、ベースを有する筐体と、ベースの内部に着脱可能に配置される端子部とを備えるスマートメーターなどの電気機器が知られている。従来の電気機器では、別体で形成されたベースと端子部とをねじで固定するのが一般的であった。
【0003】
しかしながら、ベースと端子部とをねじで固定する方法では、ベースおよび端子部とは別にねじが必要になり、また、ベースと端子部とをねじで固定する作業に時間および労力も必要になる。このため、電気機器を効率良く製造することができなかった。
【0004】
ねじを用いることなく電気機器を効率良く製造する方法としては、特許文献1に開示されているように、ベースと端子部とをスナップフィットで固定する方法がある。
【先行技術文献】
【特許文献】
【0005】
特開2016-145711号公報
【発明の概要】
【発明が解決しようとする課題】
【0006】
しかしながら、特許文献1に開示された方法では、取付対象物に対する電気機器の取付、取付後の電気機器への振動、衝撃などの要因でベースまたは端子部が撓むように変形することにより、スナップフィットによるベースと端子部との固定が容易に外れる可能性がある。このため、スナップフィットによるベースと端子部との固定が容易に外れない構造の開発が望まれている。
【0007】
本開示は、上記に鑑みてなされたものであって、ベースまたは端子部の変形によりスナップフィットによるベースと端子部との固定が容易に外れない電気機器を得ることを目的とする。
【課題を解決するための手段】
【0008】
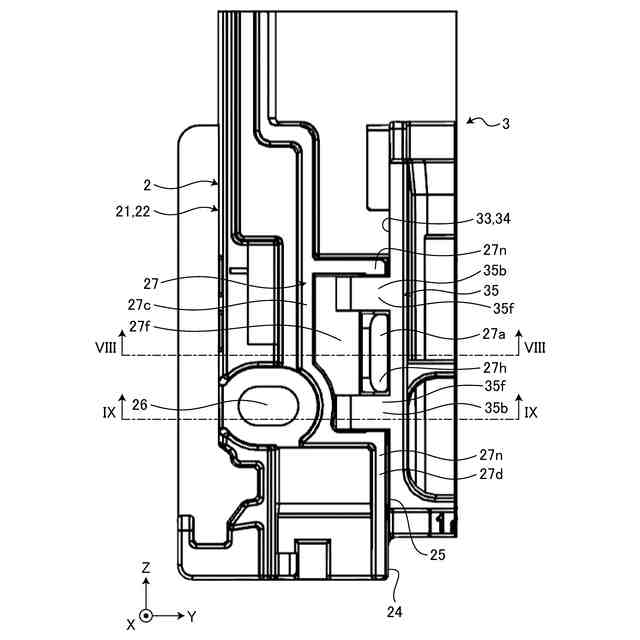
上述した課題を解決し、目的を達成するために、本開示にかかる電気機器は、ベースと、端子部とを備える。ベースは、底壁と、底壁から第1の方向に突出して第1の方向と直交する第2の方向に対向する2つの側壁とを有する。端子部は、ベースの内部において2つの側壁の間に配置される。側壁は、係合爪を含むスナップフィットと、第1の方向および第2の方向の双方と直交する第3の方向にスナップフィットから離れて配置された保持部と、第2の方向においてスナップフィットおよび保持部よりもベースの外部側にスナップフィットおよび保持部から離れて配置された外壁と、を有する。スナップフィットと保持部との間には、第1の方向において底壁と反対側に開口するとともに第2の方向に貫通する溝部が設けられる。スナップフィットおよび保持部と外壁との間には、第1の方向において底壁と反対側に開口するとともに溝部に連通する空間が設けられる。端子部は、係合爪と係合する凸部と、第3の方向に凸部から離れて配置された係合外れ防止部と、を有する。係合爪と凸部とが係合した状態において、係合外れ防止部は、溝部から空間に亘って配置されているとともに、第2の方向においてベース部の外部側から保持部に接触している。
【発明の効果】
【0009】
本開示にかかる電気機器は、ベースまたは端子部の変形によりスナップフィットによるベースと端子部との固定が容易に外れない、という効果を奏する。
【図面の簡単な説明】
【0010】
実施の形態1にかかる電気機器を示す斜視図
実施の形態1にかかる電気機器の内部の構成を示す斜視図
実施の形態1におけるベースと端子部とが固定された状態を示す斜視図
実施の形態1におけるベースと端子部とを固定する前の状態を示す斜視図
実施の形態1におけるベースの第1の固定部を示す斜視図
実施の形態1における端子部の第2の固定部を示す斜視図
実施の形態1におけるベースと端子部とが固定された状態を示す平面図であって、第1の固定部および第2の固定部を示す部分拡大図
図7に示されるVIII-VIII線に沿った断面図
図7に示されるIX-IX線に沿った断面図
図9に示されるX-X線に沿った断面図
実施の形態1におけるベースと端子部とを固定する途中の状態を示す断面図であって、図7に示されるVIII-VIII線断面図に相当する図
【発明を実施するための形態】
(【0011】以降は省略されています)
この特許をJ-PlatPat(特許庁公式サイト)で参照する
関連特許
三菱電機株式会社
冷蔵庫
23日前
三菱電機株式会社
扇風機
21日前
三菱電機株式会社
換気扇
1か月前
三菱電機株式会社
換気扇
1か月前
三菱電機株式会社
換気扇
1か月前
三菱電機株式会社
冷蔵庫
今日
三菱電機株式会社
増幅器
27日前
三菱電機株式会社
照明装置
14日前
三菱電機株式会社
電気機器
今日
三菱電機株式会社
収集装置
1か月前
三菱電機株式会社
電子機器
1か月前
三菱電機株式会社
半導体装置
1か月前
三菱電機株式会社
加熱調理器
8日前
三菱電機株式会社
回路遮断器
8日前
三菱電機株式会社
半導体装置
22日前
三菱電機株式会社
空気調和機
29日前
三菱電機株式会社
保護リレー
22日前
三菱電機株式会社
半導体装置
今日
三菱電機株式会社
点検管理装置
21日前
三菱電機株式会社
空調システム
16日前
三菱電機株式会社
制御システム
14日前
三菱電機株式会社
ねじ締め装置
27日前
三菱電機株式会社
炊飯システム
23日前
三菱電機株式会社
光源デバイス
14日前
三菱電機株式会社
空調システム
27日前
三菱電機株式会社
貯湯式給湯機
23日前
三菱電機株式会社
調理システム
23日前
三菱電機株式会社
貯湯式給湯機
14日前
三菱電機株式会社
貯湯式給湯機
24日前
三菱電機株式会社
照明システム
1か月前
三菱電機株式会社
空気清浄装置
8日前
三菱電機株式会社
誘導加熱調理器
1か月前
三菱電機株式会社
移動体監視装置
13日前
三菱電機株式会社
電磁波発生装置
今日
三菱電機株式会社
樹脂成形用金型
27日前
三菱電機株式会社
レンズモジュール
1か月前
続きを見る
他の特許を見る