TOP
|
特許
|
意匠
|
商標
特許ウォッチ
Twitter
他の特許を見る
10個以上の画像は省略されています。
公開番号
2025175684
公報種別
公開特許公報(A)
公開日
2025-12-03
出願番号
2024081900
出願日
2024-05-20
発明の名称
半導体装置
出願人
三菱電機株式会社
代理人
個人
,
個人
主分類
H10D
30/66 20250101AFI20251126BHJP()
要約
【課題】電極間の短絡を抑制して、信頼性を向上した半導体装置を提供する。
【解決手段】本開示に係る半導体装置は、半導体基板にトランジスタが形成され、半導体基板は、トランジスタが形成された活性領域と、活性領域の周囲の終端領域と、を有し、終端領域は、半導体基板上の第1の層間絶縁膜と、その上の第2の層間絶縁膜と、トランジスタのゲート電極に電気的に接続される配線電極と、配線電極よりも半導体基板の端縁部寄りに設けられた終端電極と、平面視で、配線電極と終端電極との間に設けられたフィールドプレート電極と、を備え、配線電極、フィールドプレート電極および終端電極は、第1の層間絶縁膜上に設けられ、フィールドプレート電極は、第2の層間絶縁膜で覆われ、配線電極、第2の層間絶縁膜で覆われたフィールドプレート電極および終端電極は、保護膜で覆われ、フィールドプレート電極は、配線電極および終端電極よりも高さが低い。
【選択図】図2
特許請求の範囲
【請求項1】
半導体基板にトランジスタが形成された半導体装置であって、
前記半導体基板は、
前記トランジスタが形成された活性領域と、
前記活性領域の周囲の終端領域と、を有し、
前記終端領域は、
前記半導体基板上に設けられた第1の層間絶縁膜と、
前記第1の層間絶縁膜上に設けられた第2の層間絶縁膜と、
前記トランジスタのゲート電極に電気的に接続される配線電極と、
前記配線電極よりも前記半導体基板の端縁部寄りに設けられた終端電極と、
平面視で、前記配線電極と前記終端電極との間に設けられたフィールドプレート電極と、を備え、
前記配線電極、前記フィールドプレート電極および前記終端電極は、前記第1の層間絶縁膜上に設けられ、
前記フィールドプレート電極は、前記第2の層間絶縁膜で覆われ、
前記配線電極、前記第2の層間絶縁膜で覆われた前記フィールドプレート電極および前記終端電極は、保護膜で覆われ、
前記フィールドプレート電極は、
前記配線電極および前記終端電極よりも高さが低い、半導体装置。
続きを表示(約 1,500 文字)
【請求項2】
半導体基板にトランジスタが形成された半導体装置であって、
前記半導体基板は、
前記トランジスタが形成された活性領域と、
前記活性領域の周囲の終端領域と、を有し、
前記終端領域は、
前記半導体基板上に設けられた第1の層間絶縁膜と、
前記第1の層間絶縁膜上に設けられた第2の層間絶縁膜と、
前記トランジスタのゲート電極に電気的に接続される配線電極と、
前記配線電極よりも前記半導体基板の端縁部寄りに設けられた終端電極と、
平面視で、前記配線電極と前記終端電極との間に設けられた複数のフィールドプレート電極と、
前記配線電極よりも前記終端電極側に設けられた上部フィールドプレート電極と、を備え、
前記配線電極、前記複数のフィールドプレート電極および前記終端電極は、前記第1の層間絶縁膜上に設けられ、
前記複数のフィールドプレート電極は、前記第2の層間絶縁膜で覆われ、
前記上部フィールドプレート電極は、前記第2の層間絶縁膜上に設けられ、
前記複数のフィールドプレート電極のうち、最も前記活性領域寄りに配置された活性領域側フィールドプレート電極は、他のフィールドプレート電極よりも幅が広く、
前記配線電極、前記第2の層間絶縁膜で覆われた前記複数のフィールドプレート電極、前記上部フィールドプレート電極および前記終端電極は、保護膜で覆われ、
前記複数のフィールドプレート電極は、
前記配線電極および前記終端電極よりも高さが低い、半導体装置。
【請求項3】
半導体基板にトランジスタが形成された半導体装置であって、
前記半導体基板は、
前記トランジスタが形成された活性領域と、
前記活性領域の周囲の終端領域と、を有し、
前記終端領域は、
前記半導体基板上に設けられた層間絶縁膜と、
前記トランジスタのゲート電極に電気的に接続される配線電極と、
前記配線電極よりも前記半導体基板の端縁部寄りに設けられた終端電極と、を備え、
前記配線電極および前記終端電極は、前記層間絶縁膜上に設けられ、
前記配線電極、前記終端電極および前記配線電極と前記終端電極との間の前記層間絶縁膜は、保護膜で覆われる、半導体装置。
【請求項4】
前記保護膜は、
シリコン窒化膜を含む、請求項1から請求項3の何れか1項に記載の半導体装置。
【請求項5】
前記保護膜は、
前記シリコン窒化膜を覆うポリイミド膜を含む、請求項4記載の半導体装置。
【請求項6】
前記ポリイミド膜は、
前記配線電極から前記活性領域までの間に設けられたスリットを有する、請求項5記載の半導体装置。
【請求項7】
前記ポリイミド膜は、
表面が複数の突起を有した凹凸面である、請求項5記載の半導体装置。
【請求項8】
前記ポリイミド膜は、
前記配線電極と前記活性領域との間に設けられた空隙を内蔵する、請求項5記載の半導体装置。
【請求項9】
前記フィールドプレート電極は、
高さが1μm以下である、請求項1記載の半導体装置。
【請求項10】
前記フィールドプレート電極は、
前記活性領域に設けられた前記トランジスタの主電極よりもヤング率が高い、請求項1記載の半導体装置。
(【請求項11】以降は省略されています)
発明の詳細な説明
【技術分野】
【0001】
本開示は半導体装置に関し、特に、終端構造を有する半導体装置に関する。
続きを表示(約 2,500 文字)
【背景技術】
【0002】
従来の半導体装置の終端構造としては、例えば特許文献1の図2に開示されるように、層間絶縁膜中に設けた下部フィールドプレートと、層間絶縁膜上に設けた上部フィールドプレートとで構成される2層のフィールドプレートで電位を安定させていた。しかし、上部フィールドプレートのプレート電極は厚く、水平方向からの応力を受ける断面積が大きくなる。
【0003】
すなわち、半導体装置は、半導体チップに配線等を接合した後、樹脂で封止してパッケージとするが、封止した樹脂は、熱によって膨張および収縮する特性がある。樹脂の膨張および収縮により、半導体チップの終端領域が水平方向の応力を受ける。水平方向の応力を受けると、プレート電極を含めて層間絶縁膜上に設けた電極が水平方向にスライドしやすくなる。電極がスライドして、ゲート配線のようなプレート電極とは電位の異なる電極に接触すると、プレート電極とゲート配線とが短絡し、半導体装置としての信頼性が低下する問題があった。
【先行技術文献】
【特許文献】
【0004】
特開2010-245281号公報
【発明の概要】
【発明が解決しようとする課題】
【0005】
本開示は上記のような問題を解決するためになされたものであり、電極間の短絡を抑制して、信頼性を向上した半導体装置を提供することを目的とする。
【課題を解決するための手段】
【0006】
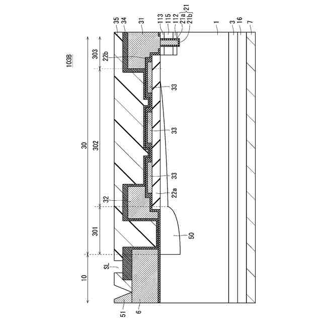
本開示に係る半導体装置は、半導体基板にトランジスタが形成された半導体装置であって、前記半導体基板は、前記トランジスタが形成された活性領域と、前記活性領域の周囲の終端領域と、を有し、前記終端領域は、前記半導体基板上に設けられた第1の層間絶縁膜と、前記第1の層間絶縁膜上に設けられた第2の層間絶縁膜と、前記トランジスタのゲート電極に電気的に接続される配線電極と、前記配線電極よりも前記半導体基板の端縁部寄りに設けられた終端電極と、平面視で、前記配線電極と前記終端電極との間に設けられたフィールドプレート電極と、を備え、前記配線電極、前記フィールドプレート電極および前記終端電極は、前記第1の層間絶縁膜上に設けられ、前記フィールドプレート電極は、前記第2の層間絶縁膜で覆われ、前記配線電極、前記第2の層間絶縁膜で覆われた前記フィールドプレート電極および前記終端電極は、保護膜で覆われ、前記フィールドプレート電極は、前記配線電極および前記終端電極よりも高さが低い。
【発明の効果】
【0007】
本開示に係る半導体装置によれば、配線電極と終端電極との間には、配線電極および終端電極よりも高さが低いフィールドプレート電極しか存在しないので、終端領域が水平方向の応力を受けた場合に、配線電極が水平方向にスライドしたとしても、配線電極と接触するような電極が存在しないので、半導体装置としての信頼性が低下しない。
【図面の簡単な説明】
【0008】
RC-IGBTである半導体装置を示す平面図である。
実施の形態1の半導体装置のIGBT領域と終端領域の境界部分の断面図である。
実施の形態2の半導体装置のIGBT領域と終端領域の境界部分の断面図である。
IGBT領域の構成を示す断面図である。
実施の形態3の半導体装置のIGBT領域と終端領域の境界部分の断面図である。
実施の形態3の変形例1の半導体装置のIGBT領域と終端領域の境界部分の断面図である。
実施の形態3の変形例2の半導体装置のIGBT領域と終端領域の境界部分の断面図である。
実施の形態4の半導体装置のIGBT領域と終端領域の境界部分の断面図である。
実施の形態5の半導体装置のIGBT領域と終端領域の境界部分の断面図である。
実施の形態6の半導体装置のIGBT領域と終端領域の境界部分の断面図である。
実施の形態7の半導体装置のIGBT領域と終端領域の境界部分の断面図である。
実施の形態8の半導体装置のIGBT領域と終端領域の境界部分の断面図である。
実施の形態8の変形例1の半導体装置のIGBT領域と終端領域の境界部分の断面図である。
実施の形態8の変形例2の半導体装置のIGBT領域と終端領域の境界部分の断面図である。
実施の形態9の半導体装置のIGBT領域と終端領域の境界部分の断面図である。
実施の形態10の半導体装置のIGBT領域と終端領域の境界部分の断面図である。
フィールドプレート電極の変形例を示す断面図である。
フィールドプレート電極の変形例を示す断面図である。
実施の形態11の半導体装置のIGBT領域と終端領域の境界部分の断面図である。
【発明を実施するための形態】
【0009】
<はじめに>
以下の説明において、n型およびp型は半導体の導電型を示し、本開示においては、第1導電型をn型、第2導電型をp型として説明するが、第1導電型をp型、第2導電型をn型としてもよい。また、n
-
型は不純物濃度がn型よりも低濃度であることを示し、n
+
型は不純物濃度がn型よりも高濃度であることを示す。同様に、p
-
型は不純物濃度がp型よりも低濃度であることを示し、p
+
型は不純物濃度がp型よりも高濃度であることを示す。
【0010】
また、図面は模式的に示されたものであり、異なる図面にそれぞれ示されている画像のサイズおよび位置の相互関係は、必ずしも正確に記載されたものではなく、適宜変更され得る。また、以下の説明では、同様の構成要素には同じ符号を付して図示し、それらの名称および機能も同様のものとする。よって、それらについての詳細な説明を省略する場合がある。
(【0011】以降は省略されています)
この特許をJ-PlatPat(特許庁公式サイト)で参照する
関連特許
三菱電機株式会社
換気扇
6日前
三菱電機株式会社
扇風機
1か月前
三菱電機株式会社
換気扇
1か月前
三菱電機株式会社
増幅器
1か月前
三菱電機株式会社
冷蔵庫
13日前
三菱電機株式会社
換気扇
1か月前
三菱電機株式会社
換気扇
1か月前
三菱電機株式会社
冷蔵庫
1か月前
三菱電機株式会社
照明装置
27日前
三菱電機株式会社
照明器具
7日前
三菱電機株式会社
収集装置
1か月前
三菱電機株式会社
電気機器
13日前
三菱電機株式会社
換気装置
5日前
三菱電機株式会社
電子機器
1か月前
三菱電機株式会社
保護リレー
1か月前
三菱電機株式会社
半導体装置
今日
三菱電機株式会社
半導体装置
13日前
三菱電機株式会社
回路遮断器
21日前
三菱電機株式会社
加熱調理器
21日前
三菱電機株式会社
空気調和機
1か月前
三菱電機株式会社
半導体装置
今日
三菱電機株式会社
半導体装置
1か月前
三菱電機株式会社
電動送風機
5日前
三菱電機株式会社
光源デバイス
27日前
三菱電機株式会社
空調システム
29日前
三菱電機株式会社
貯湯式給湯機
27日前
三菱電機株式会社
空調システム
1か月前
三菱電機株式会社
位置算出装置
6日前
三菱電機株式会社
貯湯式給湯機
1か月前
三菱電機株式会社
車両制御装置
5日前
三菱電機株式会社
制御システム
27日前
三菱電機株式会社
点検管理装置
1か月前
三菱電機株式会社
調理システム
1か月前
三菱電機株式会社
空気清浄装置
21日前
三菱電機株式会社
電力変換装置
今日
三菱電機株式会社
貯湯式給湯機
1か月前
続きを見る
他の特許を見る