TOP
|
特許
|
意匠
|
商標
特許ウォッチ
Twitter
他の特許を見る
10個以上の画像は省略されています。
公開番号
2025155228
公報種別
公開特許公報(A)
公開日
2025-10-14
出願番号
2024058917
出願日
2024-04-01
発明の名称
電子機器
出願人
三菱電機株式会社
代理人
弁理士法人ぱるも特許事務所
主分類
H05K
7/20 20060101AFI20251006BHJP(他に分類されない電気技術)
要約
【課題】ファンを用いることなく、冷却性能と防水性を両立させた電子機器を得ることを目的とする。
【解決手段】電子部品3を内部空間S2に収容し、電子部品3よりも下側の位置で開口する吸気口2iと、上側の位置で開口する排気口2xが設けられ、吸気口2iから排気口2xにかけて、電子部品3の冷却風の通風経路Fcが内部空間S2に形成される筐体2、および冷却風の通風を維持し、上方から落下してくる水滴の排気口2xから内部空間S2への侵入を防止する防水機構を備えるように構成した。
【選択図】図1
特許請求の範囲
【請求項1】
電子部品を内部空間に収容し、設置状態での鉛直方向において前記電子部品よりも下側の位置で開口して外気と前記内部空間とを連通する吸気口と、上側の位置で開口して外気と前記内部空間とを連通する排気口が設けられ、前記電子部品の熱を駆動力とする上昇気流によって、前記吸気口から前記排気口にかけて、前記電子部品の冷却風の通風経路が前記内部空間に形成される筐体、および
前記冷却風の通風を維持し、上方から落下してくる水滴の前記排気口から前記内部空間への侵入を防止する防水機構、
を備えたことを特徴とする電子機器。
続きを表示(約 990 文字)
【請求項2】
前記防水機構として、前記排気口を覆い、水滴をはじき、前記冷却風を通す通気フィルターが設けられ、
前記排気口の外気側の面は、鉛直方向における真上に対し、前記通気フィルターに対する水滴の滑落角以上に傾いていることを特徴とする請求項1に記載の電子機器。
【請求項3】
前記排気口の外気側の面は、法線を水平、あるいは水平より下方に向けて開口し、
前記筐体の外表面には、前記防水機構として、前記排気口の上方に設けた庇、および前記排気口を囲む溝、の少なくともいずれかを備えていることを特徴とする請求項1に記載の電子機器。
【請求項4】
前記吸気口と前記排気口は、前記筐体の異なる面で開口していることを特徴とする請求項1から3のいずれか1項に記載の電子機器。
【請求項5】
前記電子部品は前記内部空間における上端部分と下端部分よりも前記吸気口の中心位置と前記排気口の中心位置を結ぶ直線に近い位置に配置されていることを特徴とする請求項1から3のいずれか1項に記載の電子機器。
【請求項6】
前記筐体には、前記直線に対して鉛直方向での間隔をあけて配置され、前記内部空間での前記通風経路の領域を狭める気流ガイドが設けられていることを特徴とする請求項5に記載の電子機器。
【請求項7】
前記電子部品が実装され、前記通風経路に沿った鉛直線を含む面で広がるように設置された基板を備えたことを特徴とする請求項1から3のいずれか1項に記載の電子機器。
【請求項8】
前記通風経路に設置され、前記電子部品からの熱を伝熱するヒートシンクを備えたことを特徴とする請求項1から3のいずれか1項に記載の電子機器。
【請求項9】
前記ヒートシンクには、前記通風経路に沿って延びるフィンが形成されていることを特徴とする請求項8に記載の電子機器。
【請求項10】
複数の送信アンテナと複数の受信アンテナが形成されたアンテナ、および
前記電子部品として、前記複数の送信アンテナと前記複数の受信アンテナそれぞれと電波を結合するポートを有する高周波素子、を備え、
レーダ装置として機能することを特徴とする請求項1から3のいずれか1項に記載の電子機器。
発明の詳細な説明
【技術分野】
【0001】
本開示は、電子機器に関するものである。
続きを表示(約 2,000 文字)
【背景技術】
【0002】
近年、電子機器に搭載されるIC等の電子部品には、高い演算処理能力の求めに応じて発熱量が増加の傾向にあり、電子機器には高い冷却性が要求される。また、車両などに搭載される電子機器では、車室外での降雨はもちろんのこと、車室内であっても、搭乗者による飲料水の落下が懸念され、防水性が求められる。
【0003】
そこで、電子部品を収容する筐体にファンを搭載するとともに、吸気口と排気口にフッ素などの撥水コーティングが施されたフィルターを設けることで、防水性と冷却性を向上させる電子機器が提案されている(例えば、特許文献1参照。)。
【先行技術文献】
【特許文献】
【0004】
国際公開第WO2010/122715号(段落0019~0021、図1)
【発明の概要】
【発明が解決しようとする課題】
【0005】
しかしながら、環境対策にコストダウン、製造工程の簡略化の観点から、省部品化が市場から求められている。そのため、高額なファンの搭載はコストアップにつながるとともに、電子部品の搭載スペースの制約にもなる。さらには、駆動部品であるモータは寿命に限りがあり、耐久不足から動作不良となる懸念があるため、ファンレスの実現が求められる。
【0006】
本開示は、上記のような課題を解決するための技術を開示するものであり、ファンを用いることなく、冷却性能と防水性を両立させた電子機器を得ることを目的とする。
【課題を解決するための手段】
【0007】
本開示に開示される電子機器は、電子部品を内部空間に収容し、設置状態での鉛直方向において前記電子部品よりも下側の位置で開口して外気と前記内部空間とを連通する吸気口と、上側の位置で開口して外気と前記内部空間とを連通する排気口が設けられ、前記電子部品の熱を駆動力とする上昇気流によって、前記吸気口から前記排気口にかけて、前記電子部品の冷却風の通風経路が前記内部空間に形成される筐体、および前記冷却風の通風を維持し、上方から落下してくる水滴の前記排気口から前記内部空間への侵入を防止する防水機構、を備えたことを特徴とする。
【発明の効果】
【0008】
本開示の電子機器によれば、重力換気による換気量を損なうことなく、防水性を発揮できるので、ファンを用いることなく、冷却性能と防水性を両立させた電子機器を得ることができる。
【図面の簡単な説明】
【0009】
実施の形態1にかかる電子機器の外観を示す斜視図である。
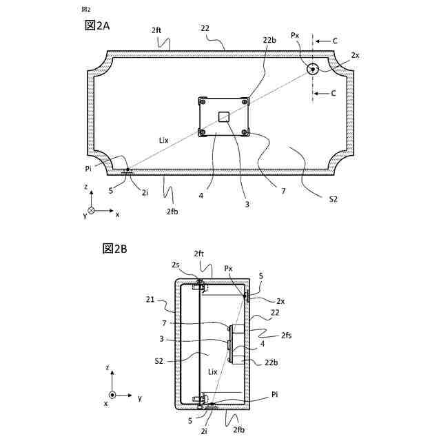
図2Aと図2Bは、それぞれ実施の形態1にかかる電子機器の構成を説明するための正面視での断面図と、側面視での断面図である。
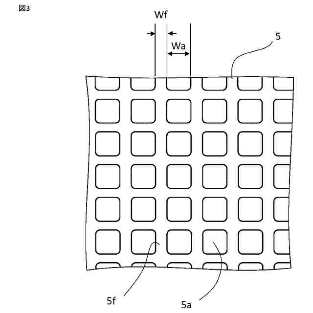
実施の形態1にかかる電子機器の通気口に用いる通気フィルターの構造を説明するための部分拡大図である。
実施の形態1にかかる電子機器を設置した際の通気フィルターの傾きを説明するための断面図である。
図5Aと図5Bは、それぞれ実施の形態1の第一変形例と第二変形例にかかる電子機器の排気口部分の構造を説明するための側面視での部分断面図である。
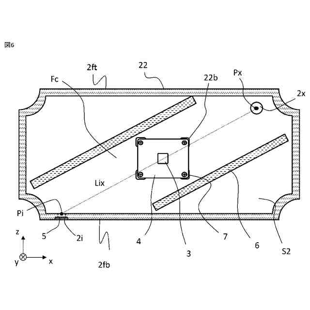
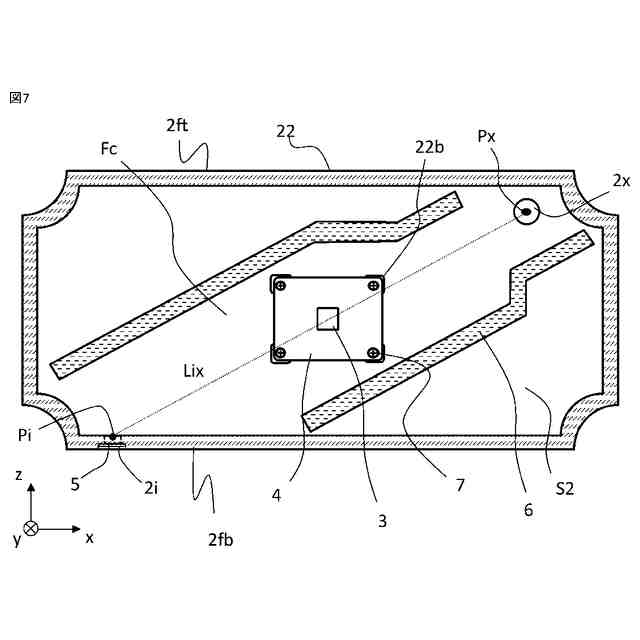
実施の形態2にかかる電子機器の構成を説明するための正面視での断面図である。
実施の形態2の変形例にかかる電子機器の構成を説明するための正面視での断面図である。
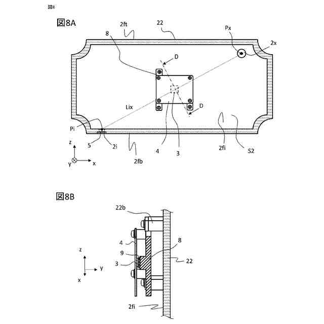
図8Aと図8Bは、それぞれ実施の形態3にかかる電子機器の構成を説明するための正面視での断面図と、電子部品部分の斜め上方側面視での断面図である。
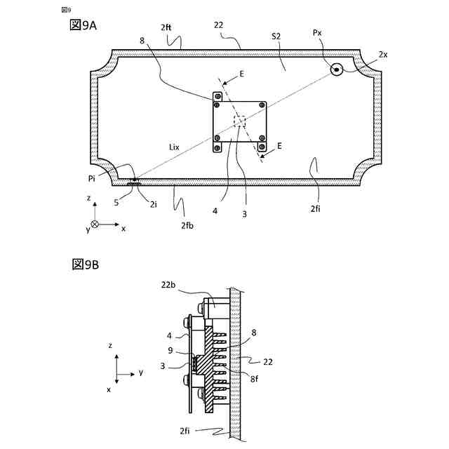
図9Aと図9Bは、それぞれ実施の形態3の変形例にかかる電子機器の構成を説明するための正面視での断面図と、電子部品部分の斜め上方側面視での断面図である。
実施の形態4にかかる電子機器の構成を説明するための、レーダ部分の正面図である。
実施の形態4の変形例にかかるレーダ装置の構成を説明するための電子部品部分の斜め上方側面視での断面図である。
【発明を実施するための形態】
【0010】
実施の形態1.
図1~図4は、実施の形態1にかかる電子機器の構成について説明するためのものであり、図1は電子機器の外観を示す斜視図、図2Aは正面視として図1のA-A線による断面図、図2Bは右側からの側面視として、図1のB-B線による断面図である。また、図3は通気口に用いる通気フィルターの構造を説明するための厚み方向で離れた方向、つまりフィルター面の部分拡大図、図4は電子機器が設置されたときに、少なくとも排気側の通気口(排気口)に設置した際のフィルター面の傾きと水滴の滑落角との関係を説明するためのフィルター面に平行で鉛直線を含む断面図である。
(【0011】以降は省略されています)
この特許をJ-PlatPat(特許庁公式サイト)で参照する
関連特許
個人
電気式バーナー
25日前
個人
静電気中和除去装置
12日前
サクサ株式会社
開き角度規制構造
1か月前
株式会社デンソー
電子装置
5日前
シャープ株式会社
加熱機器
18日前
株式会社デンソー
電子制御装置
4日前
矢崎総業株式会社
箱状体
7日前
マクセルイズミ株式会社
誘導加熱調理装置
25日前
マクセルイズミ株式会社
誘導加熱調理装置
25日前
矢崎総業株式会社
箱状体
7日前
矢崎総業株式会社
箱状体
7日前
象印マホービン株式会社
電子レンジ
20日前
東レ株式会社
電子部品の製造方法および樹脂組成物
6日前
株式会社遠藤照明
電源、照明装置及び照明システム
26日前
日本電気株式会社
ラインカード及びイジェクタ
25日前
Astemo株式会社
電子制御装置
1か月前
矢崎総業株式会社
バスバ配置構造
13日前
矢崎総業株式会社
バスバ配置構造
26日前
コイト電工株式会社
情報処理装置
1か月前
日本放送協会
接続用配線基板
13日前
株式会社東芝
電子装置
25日前
矢崎総業株式会社
ワイヤーハーネス
7日前
三菱電機株式会社
電子機器
28日前
京セラ株式会社
配線基板
18日前
京セラ株式会社
配線基板
18日前
イビデン株式会社
コア基板及びその製造方法
12日前
矢崎総業株式会社
バスバー
25日前
大日本印刷株式会社
除電装置
14日前
アドバンテック株式会社
基板収容ケース
12日前
キヤノン株式会社
電子機器
4日前
日東電工株式会社
配線回路基板
25日前
日東電工株式会社
配線回路基板
4日前
信越ポリマー株式会社
配線基板及びその製造方法
15日前
矢崎総業株式会社
放熱体、及び、箱状体
7日前
株式会社電磁シールド研究所
サーバーラック
1か月前
リンナイ株式会社
加熱調理器
12日前
続きを見る
他の特許を見る